- Partiron
- OEM Parts
- Yamaha
- snowmobile
- 1996
- VX500W (VMAX 500) 1996
WINDSHIELD
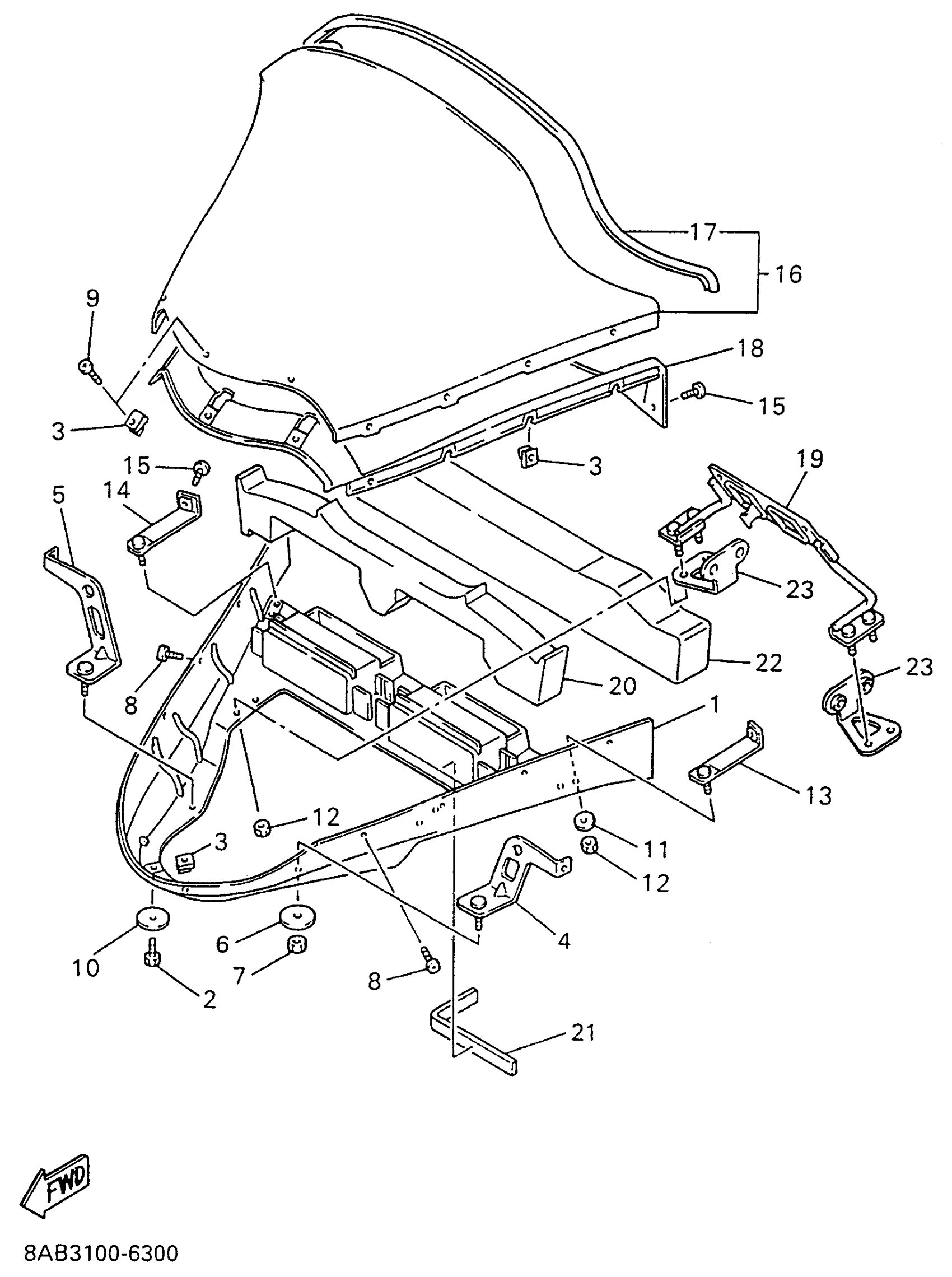
Yamaha VX500W (VMAX 500) 1996 WINDSHIELD Diagram
#
Description
Price
1
FAIRING
89A-77231-00-00
Unavailable
1
FAIRING
8AB-77231-00-00
Unavailable
3
NUT
89A-77144-00-00
Unavailable
4
STAY 1
8AB-77125-00-00
Unavailable
5
STAY 2
8AB-77126-00-00
Unavailable
13
PLATE, BACK UP 1
89A-77153-00-00
Unavailable
14
PLATE, BACK UP 2
89A-77154-00-00
Unavailable
15
SCREW, BINDING (10V)
90154-05013-00
Unavailable
16
WINDSHIELD COMP. (89A-77210-00-00)
89A-77210-00-XX
Unavailable
17
TRIM,UPPER
87K-77213-00-00
Unavailable
18
COVER, HEADLIGHT
89A-77251-00-00
Unavailable
19
BRACKET, METER
89A-83519-00-00
Unavailable
20
LINING, SHROUD
8AB-77268-00-00
Unavailable
21
PAD
1NL-28378-00-00
Unavailable
22
SHIELD, NOISE 2
89A-2199J-00-00
Unavailable
23
STAY 3
8AB-77127-00-00
Unavailable
