Yamaha VX500SXBC (VMAX 500 SX) 8CT1 1999 OIL TANK Diagram
#
Description
Price
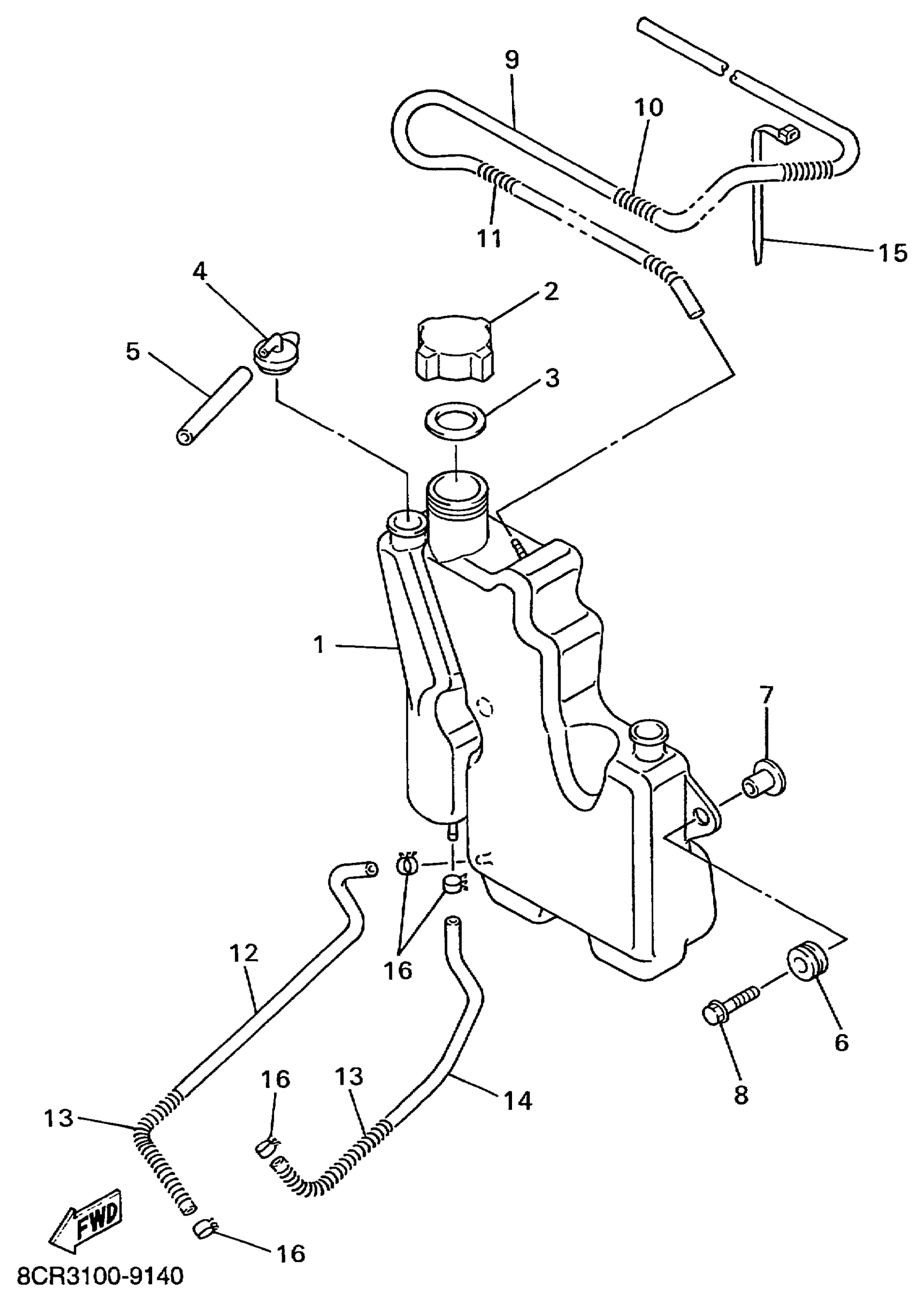
1
TANK, OIL
8CR-21751-10-00
Unavailable
8
BOLT, FLANGE
95817-06025-00
Unavailable
9
TUBE, FLEXIBLE VINYL(8AT)
91A30-05125-00
Unavailable
12
TUBE, FLEXIBLE VINYL
91A30-05033-00
Unavailable
13
SPRING, COMPRESSION(8AF)
90501-083J8-00
Unavailable
16
CLIP (8A1)
90467-09026-00
Unavailable
