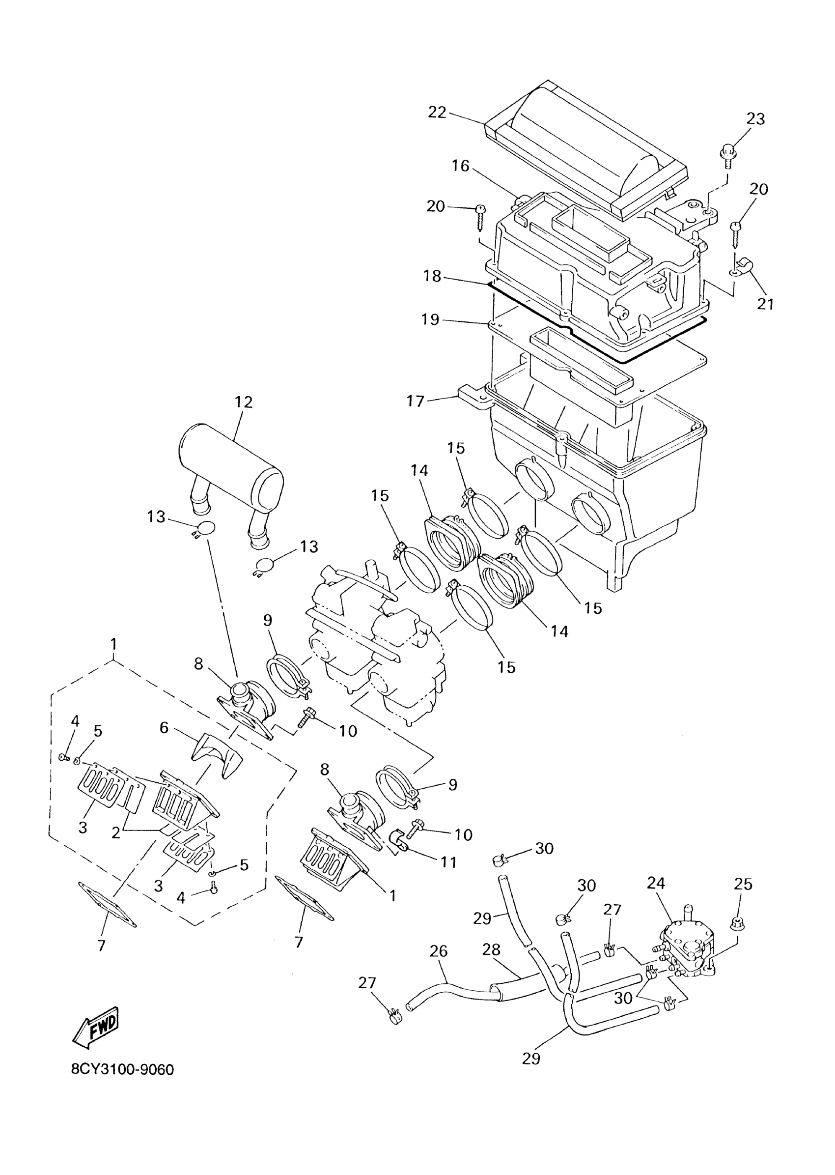
Yamaha VX500DXF (VMAX 500 DELUXE (ELEC START)) 8DT4 2001 INTAKE Diagram
#
Description
Price
1
REED VALVE ASSY
4DA-13610-01-00
Unavailable
6
. SPACER, REED VALVE
4DA-13625-00-00
Unavailable
8
MANIFOLD, INTAKE
8CR-13555-00-00
Unavailable
12
CHAMBER, AIR
8CR-13581-00-00
Unavailable
14
JOINT, AIR CLEANER 1
8CR-14453-00-00
Unavailable
16
SILENCER, INTAKE 1
8CR-14431-01-00
Unavailable
17
SILENCER, INTAKE 2
8CR-14441-01-00
Unavailable
18
SEAL
51Y-14462-00-00
Unavailable
19
PLATE
8CR-14477-00-00
Unavailable
20
SCREW, TAPPING(82M)
90167-05043-00
Unavailable
21
CLAMP
90465-08028-00
Unavailable
22
ELEMENT ASSY, AIR CLEANER
8CR-14450-00-00
Unavailable
23
BOLT, WITH WASHER(3FC)
90119-06163-00
Unavailable
24
FUEL PUMP ASSY
8CR-24410-01-00
Unavailable
25
NUT, FLANGE(4MV)
95707-06500-00
Unavailable
26
HOSE (L400)
90445-116K9-00
Unavailable
27
CLIP (7K7)
90467-11044-00
Unavailable
28
HOSE (L150)
90445-226J7-00
Unavailable
29
HOSE (L420)
90445-092K1-00
Unavailable
30
CLIP (8A1)
90467-09026-00
Unavailable
