- Partiron
- OEM Parts
- Yamaha
- waverunner
- 2025
- VX1900CB (VX CRUISER HO) F7M6 2025
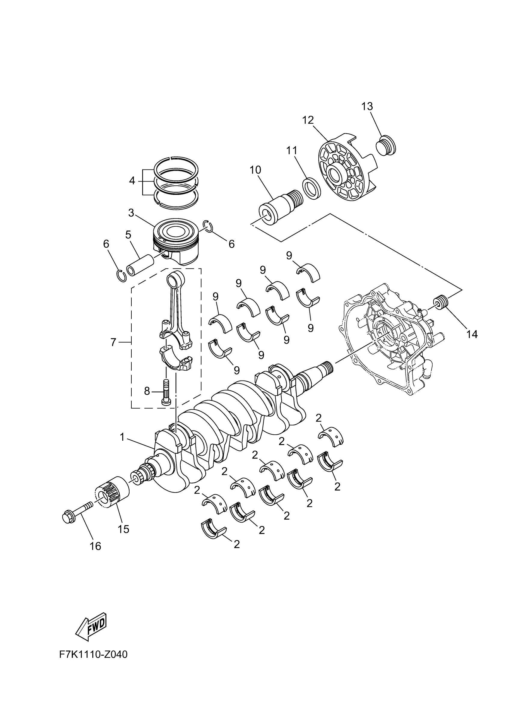
CRANKSHAFT & PISTON
Yamaha VX1900CB (VX CRUISER HO) F7M6 2025 CRANKSHAFT & PISTON Diagram
#
Description
Price
5
PIN, PISTON
6ET-11633-00-00
Unavailable
6
CIRCLIP
93450-22174-00
Unavailable
7
CONNECTING ROD ASSY
6S5-11650-10-00
Unavailable
8
. BOLT, CONNECTING ROD
6S5-11654-10-00
Unavailable
9
PLANE BEARING, CON
6LE-11656-30-00
Unavailable
10
SHAFT, TRANSFER
6S5-17572-01-00
Unavailable
11
WASHER
6S5-12289-00-00
Unavailable
12
FLANGE, COUPLING
6S5-45813-01-00
Unavailable
13
HOLDER 2
6S5-17525-01-00
Unavailable
14
NUT, SPECIAL
6S5-11459-01-00
Unavailable
15
GEAR, TRANSFER DRI
6BH-17586-11-00
Unavailable
16
BOLT
6S5-17031-00-00
Unavailable
