- Partiron
- OEM Parts
- Yamaha
- waverunner
- 2024
- VX1900CA (VX CRUISER HO WAUD_VX CRUISER HO) F7M3 2024
STEERING 2
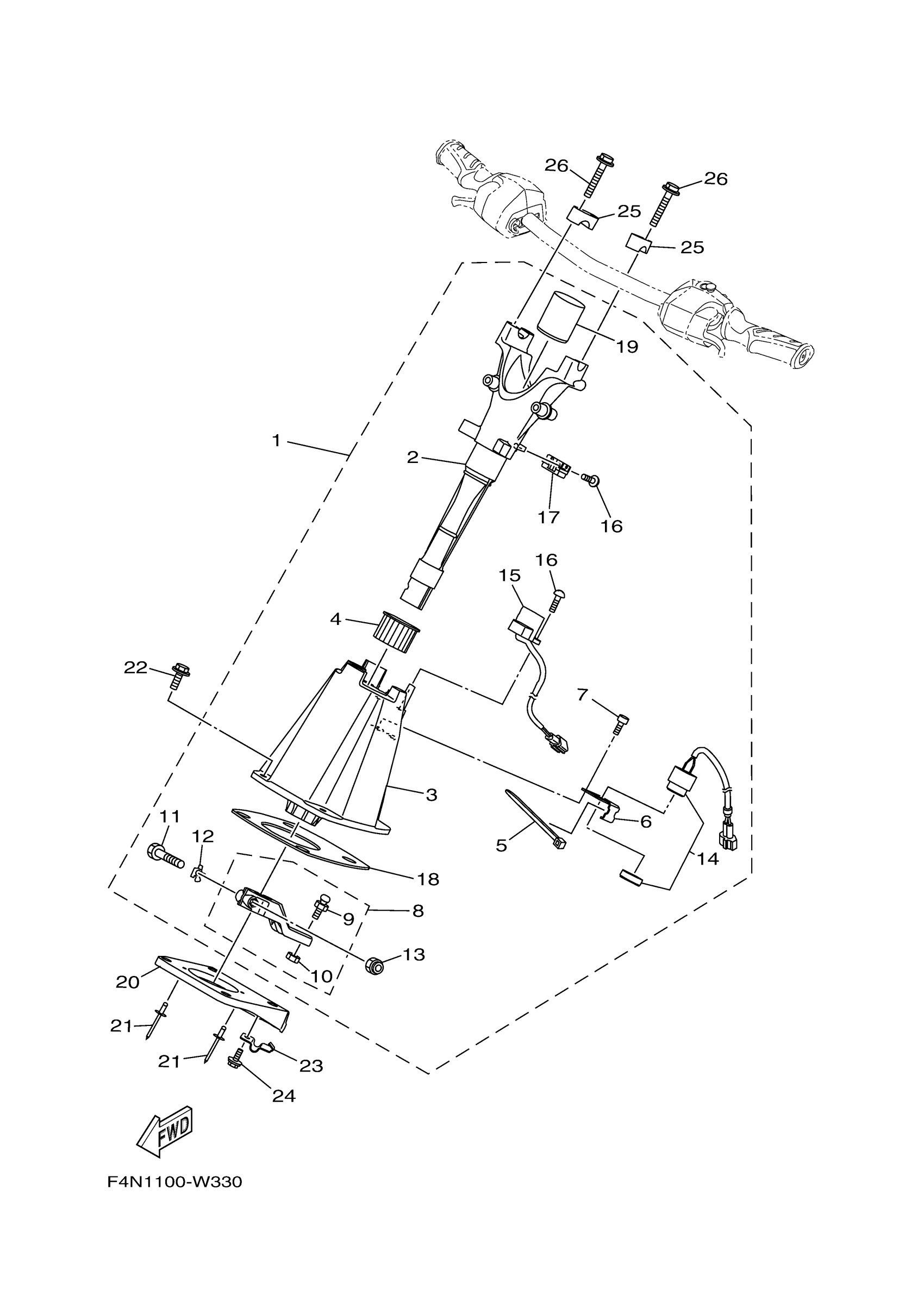
Yamaha VX1900CA (VX CRUISER HO WAUD_VX CRUISER HO) F7M3 2024 STEERING 2 Diagram
#
Description
Price
1
STEERING MASTER ASSY
F4N-61400-02-00
Unavailable
2
. SHAFT
F3Y-6152D-00-00
Unavailable
3
HOUSING ASSY
F2X-6152M-02-00
Unavailable
4
. BUSH
F1K-6134M-00-00
Unavailable
6
. SPACER, BRKT
F2P-6146H-00-00
Unavailable
7
SCREW
F1B-613C1-10-00
Unavailable
8
ARM ASSY.
F1K-6153R-01-00
Unavailable
9
STUD, JOINT BALL
EU0-61461-02-00
Unavailable
10
NUT, SELF-LOCKING
95720-06300-00
Unavailable
11
.. BOLT
F1K-61355-00-00
Unavailable
12
. PLATE, RETAINING
F1K-6142B-00-00
Unavailable
13
. NUT, SELF-LOCKING
95720-08300-00
Unavailable
14
BUZZER
F1S-68341-00-00
Unavailable
15
SENSOR, MAGNET
F2X-6838B-02-00
Unavailable
16
. SCREW
F2X-613C1-00-00
Unavailable
17
MAGNET
F2X-6838C-01-00
Unavailable
18
. SEAL, RUBBER
F1K-6143C-00-00
Unavailable
19
.. PIPE, SEAL
F2X-61435-00-00
Unavailable
20
BRACKET,STOPPER CABLE
F3Y-U1467-00-00
Unavailable
21
RIVET, BLIND
90267-489U2-00
Unavailable
22
BOLT,WITH WASHER
90119-08870-00
Unavailable
23
STOPPER, CABLE
F1K-U1468-03-00
Unavailable
24
BOLT, WITH WASHER
90119-06830-00
Unavailable
25
HOLDER, HANDLE UPPER
EU0-23814-32-00
Unavailable
26
BOLT, WITH WASHER
90119-08844-00
Unavailable
