- Partiron
- OEM Parts
- Yamaha
- waverunner
- 2016
- VX1800R (VXS) F2W7 2016
EXHAUST 1
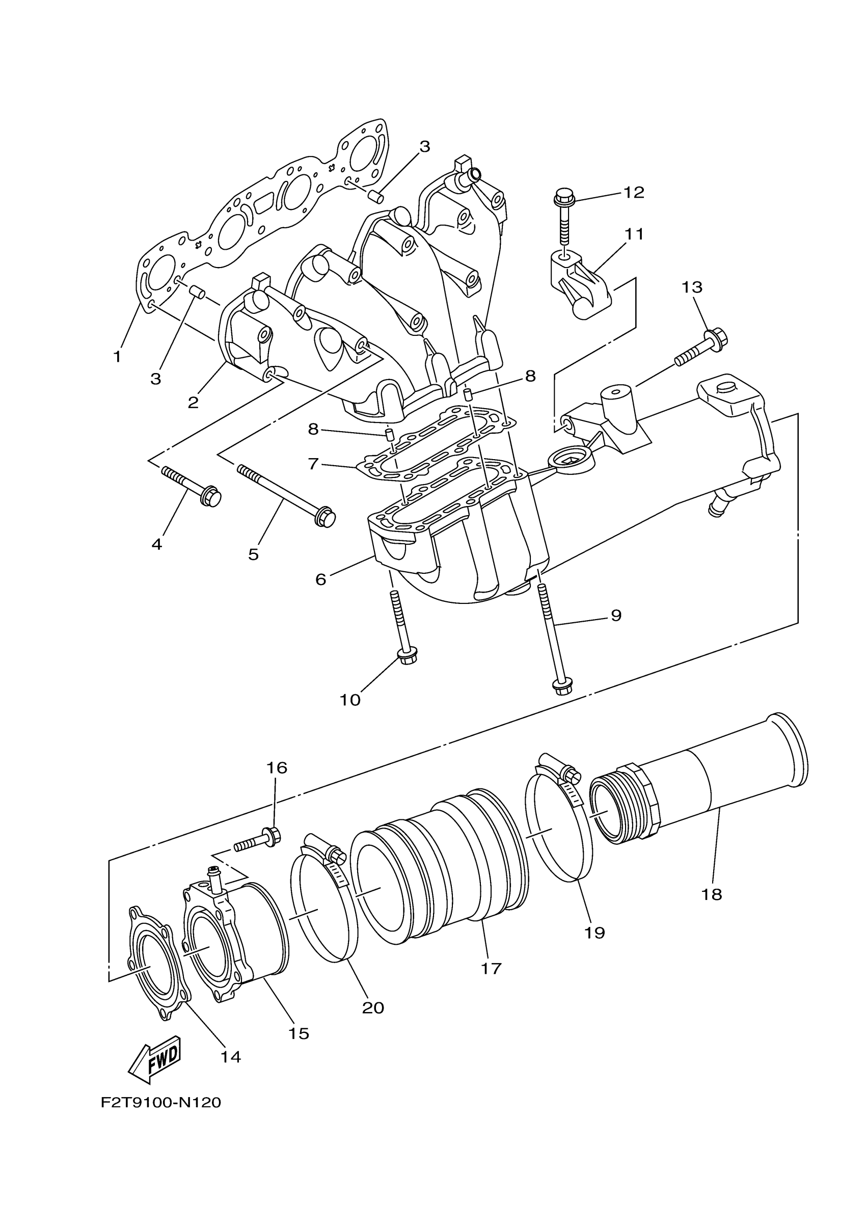
Yamaha VX1800R (VXS) F2W7 2016 EXHAUST 1 Diagram
#
Description
Price
1
. GASKET, EXHAUST PIPE
6BH-14613-00-00
Unavailable
2
MUFFLER 1
6BH-14711-10-00
Unavailable
3
PIN, DOWEL
93608-16M16-00
Unavailable
4
BOLT, WITH WASHER
90119-08034-00
Unavailable
5
BOLT, WITH WASHER
90119-08097-00
Unavailable
6
MUFFLER 2
6BH-14721-11-00
Unavailable
7
. GASKET, MUFFLER DAMPER 1
6S5-14739-00-00
Unavailable
9
BOLT, WITH WASHER
90119-08097-00
Unavailable
10
BOLT, WITH WASHER
90119-08034-00
Unavailable
11
STAY, MUFFLER 1
6S5-14771-00-00
Unavailable
12
BOLT, WITH WASHER
90119-08096-00
Unavailable
14
. GASKET, MUFFLER DAMPER 2
6BH-14749-00-00
Unavailable
15
PIPE, TAIL
6BH-14784-01-00
Unavailable
16
BOLT, FLANGE(3EF)
95024-08035-00
Unavailable
17
PIPE, OUTLET
6S5-E4752-01-00
Unavailable
18
PIPE 1
6CS-1475A-00-00
Unavailable
19
HOSE CLAMP ASSY
90450-99016-00
Unavailable
20
HOSE CLAMP ASSY
90450-99015-00
Unavailable
