Partiron

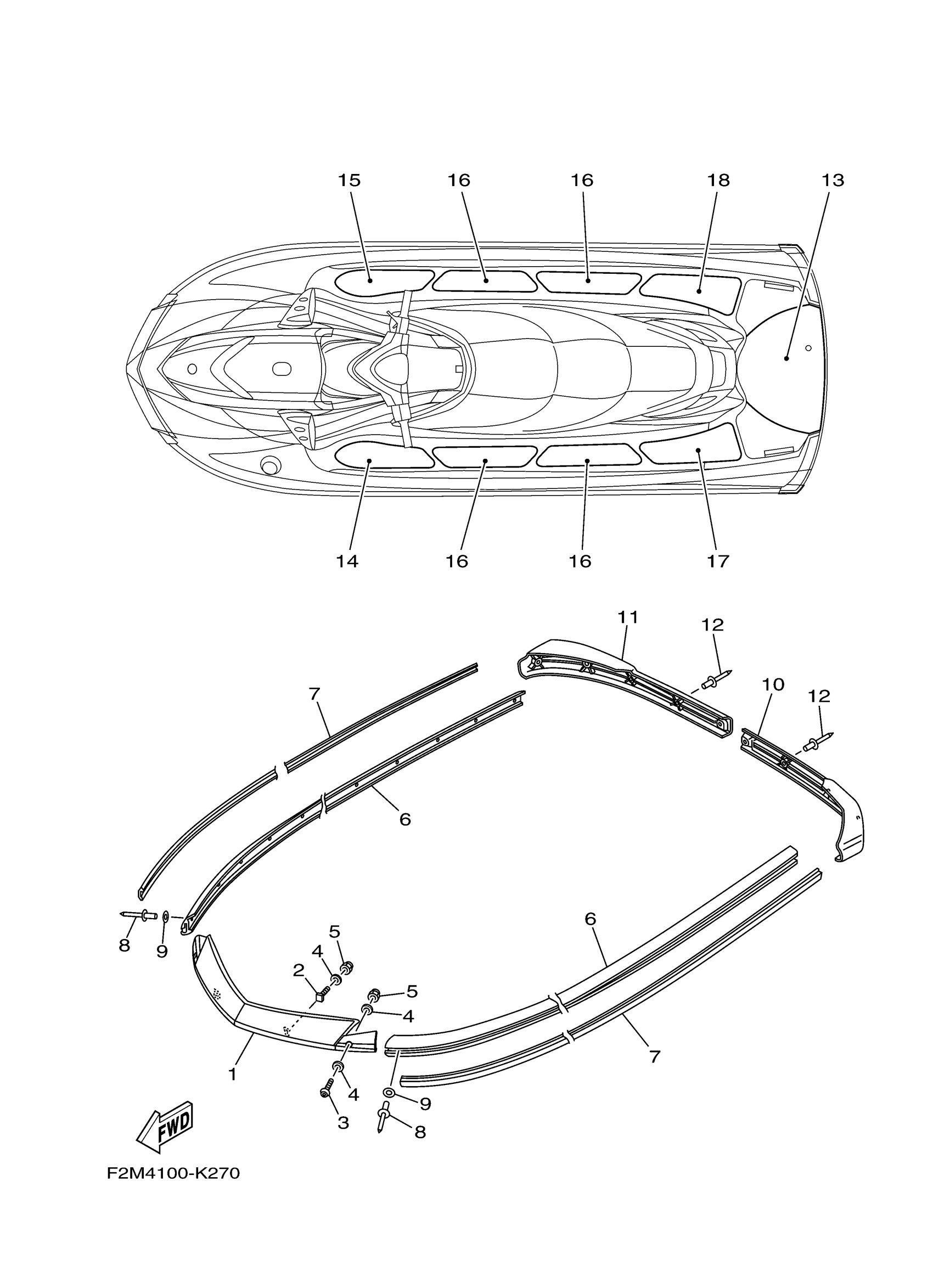
Yamaha VX1800N (VXS) F2MK 2014 GUNWALE & MAT Diagram

#

Description
Price

1

GUNWALE, BOW

F2N-U2511-30-00

Unavailable

2

BOLT, SPECIAL

F7K-U491K-00-00

Unavailable

3

BOLT,HEX. SOCKET BUTTON

90111-06803-00

Unavailable

4

WASHER

9299R-06200-00

Unavailable

5

NUT, NYLON

9572R-06300-00

Unavailable

6

GUNWALE, SIDE

F1K-U2512-30-00

Unavailable

7

INNER,GUNWALE (BLACK)

F1K-U2519-20-00

Unavailable

8

RIVET, BLIND

90267-489U8-00

Unavailable

9

WASHER

9299R-05200-00

Unavailable

10

GUNWALE, STERN 1

F1K-U251D-30-00

Unavailable

11

GUNWALE, STERN 2

F1K-U251E-30-00

Unavailable

12

RIVET, BLIND

90267-48963-00

Unavailable

13

MAT, UPPER

F2P-U3581-00-00

Unavailable

14

MAT, STEP 1

F2P-U351H-00-00

Unavailable

15

MAT, STEP 2

F2P-U351J-00-00

Unavailable

16

MAT, STEP 3

F2P-U351K-00-00

Unavailable

17

MAT, STEP 4

F2P-U351M-00-00

Unavailable

18

MAT, STEP 5

F2P-U351N-00-00

Unavailable