Partiron

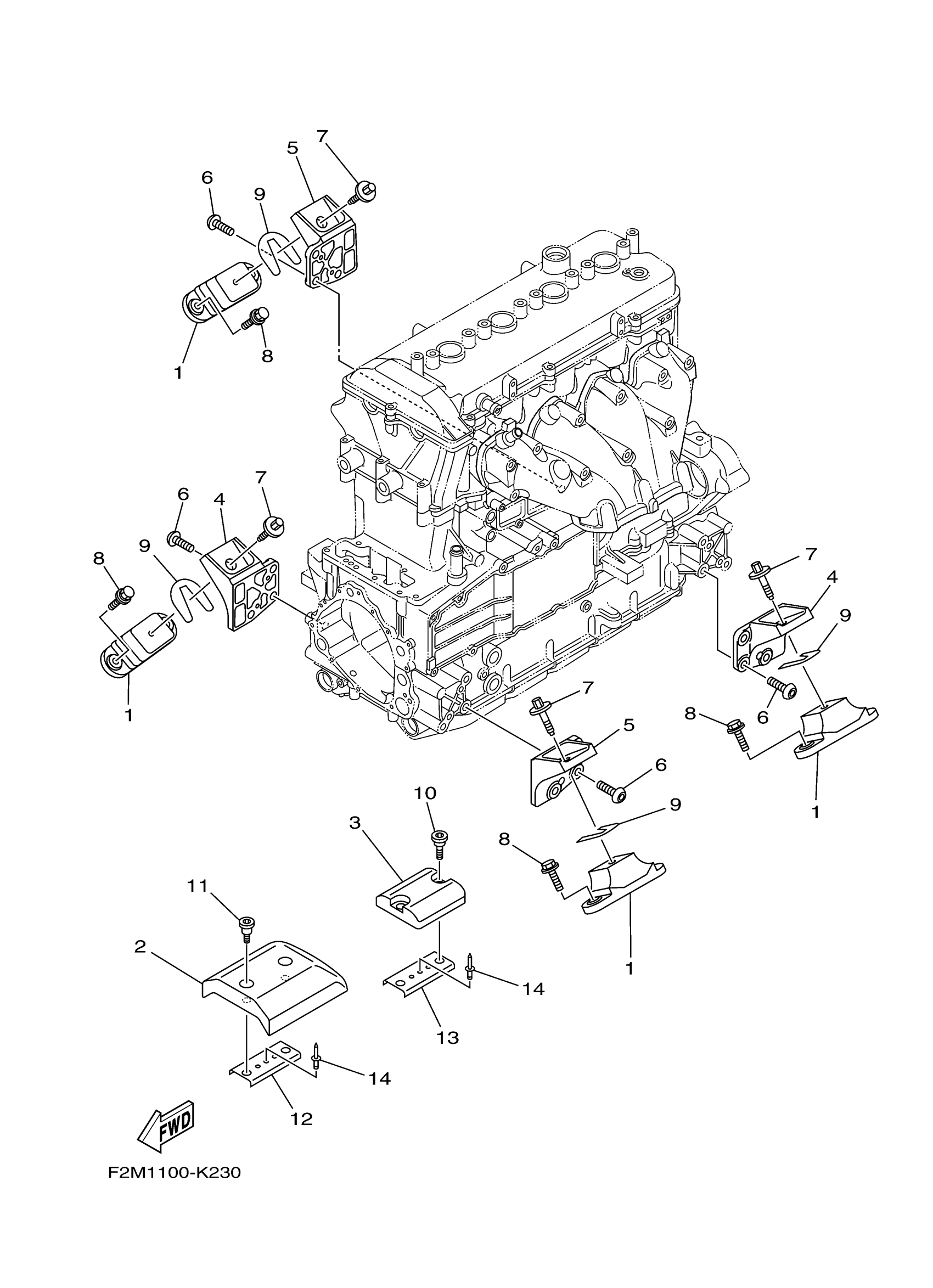
Yamaha VX1800N (VXS) F2MK 2014 ENGINE MOUNT Diagram

#

Description
Price

1

MOUNT RUBBER

67X-44517-10-00

Unavailable

2

STOPPER, UPPER MOUNT

6CN-G4532-00-00

Unavailable

3

STOPPER, LOWER MOUNT RUBBER

6CN-G4574-00-00

Unavailable

4

BRACKET 1

6BH-41661-00-00

Unavailable

5

BRACKET 2

6BH-41662-00-00

Unavailable

6

SCREW

90149-10052-00

Unavailable

7

BOLT, WITH WASHER

90119-08860-00

Unavailable

8

BOLT, WITH WASHER

90119-08829-00

Unavailable

9

SHIM (T=0.1)

EU0-67354-A0-00

Unavailable

9

SHIM (T=0.3)

EU0-67354-B0-00

Unavailable

9

SHIM (T=0.5)

EU0-67354-C0-00

Unavailable

9

SHIM (T=1.0)

EU0-67354-D0-00

Unavailable

9

SHIM (T=2.0)

EU0-67354-E0-00

Unavailable

10

BOLT

90109-06875-00

Unavailable

11

BOLT

90109-06874-00

Unavailable

12

PLATE

F2M-U732B-00-00

Unavailable

13

PLATE

F2M-U732B-00-00

Unavailable

14

RIVET, BLIND

90267-489U2-00

Unavailable