Partiron

Yamaha VX1800L (VXS) F2MA 2012 SEAT & UNDER LOCKER Diagram

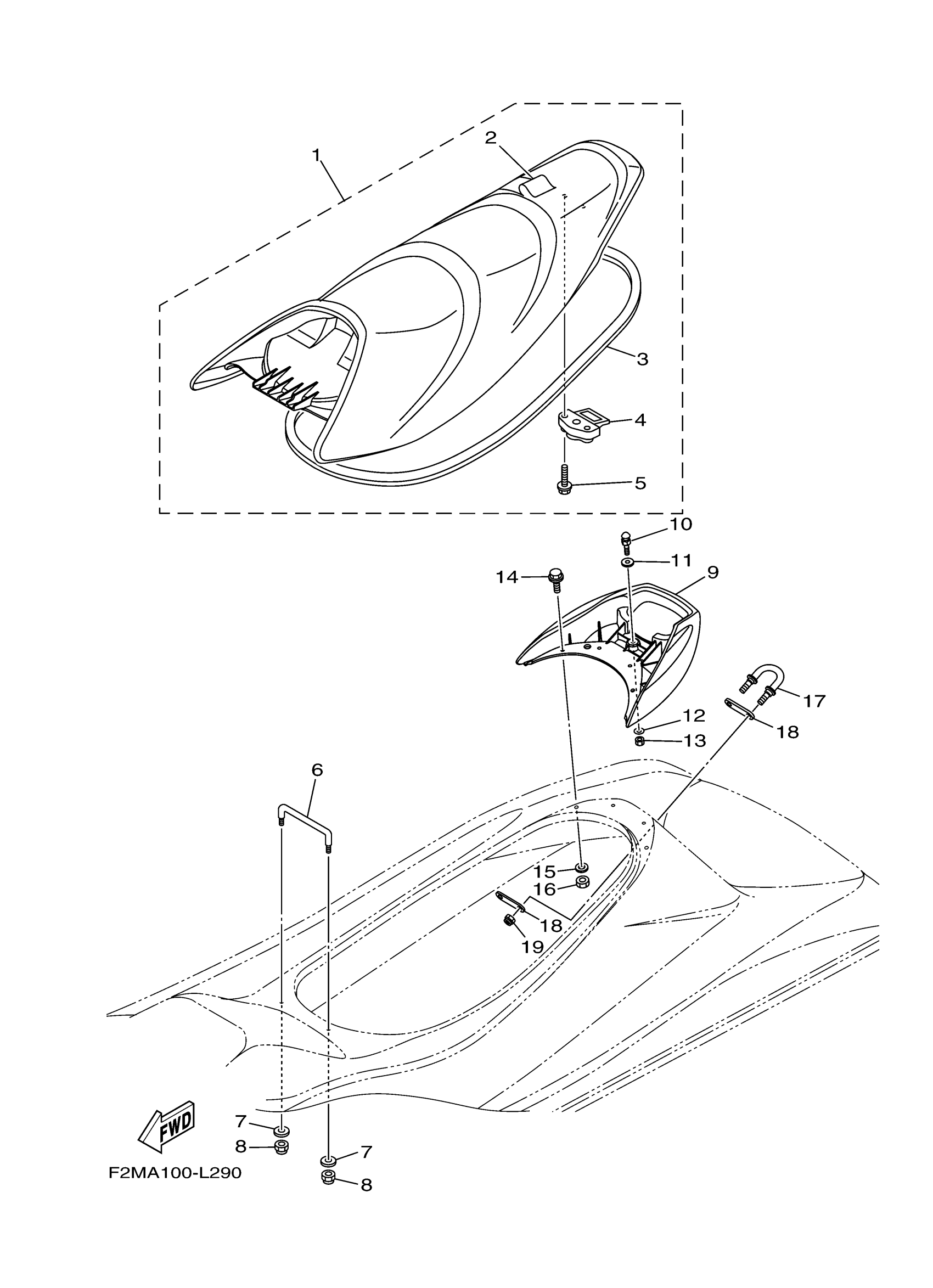
#

Description
Price

1

DOUBLE SEAT ASSY

F2N-U371A-72-00

Unavailable

2

COVER, SEAT 1

F2N-U371B-71-00

Unavailable

3

. PACKING

F2N-U2664-00-00

Unavailable

4

. SEAT LOCK ASSY

F2C-U3850-00-00

Unavailable

5

BOLT, WITH WASHER

90119-06808-00

Unavailable

6

STAY, SEAT 1

F0X-6378C-00-00

Unavailable

7

WASHER, PLATE

90201-099U3-00

Unavailable

8

NUT, NYLON (6J8)

95780-08300-00

Unavailable

9

GRIP, HAND

F2N-U271B-01-00

Unavailable

10

PIN

GH1-U3774-00-00

Unavailable

11

WASHER, PLATE

90201-109U6-00

Unavailable

12

WASHER

9299R-10200-00

Unavailable

13

NUT, NYLON

9572R-10300-00

Unavailable

14

BOLT, WITH WASHER

90119-089U2-00

Unavailable

15

WASHER

9299R-08200-00

$2.29

16

NUT, NYLON (6J8)

95780-08300-00

Unavailable

17

STERN EYE

F2N-U1628-02-00

Unavailable

18

PLATE A

GP7-U4953-10-00

Unavailable

19

NUT, NYLON (6J8)

95780-08300-00

Unavailable