Yamaha VX1800AK (VXR) F2M1 2011 CRANKCASE Diagram
#
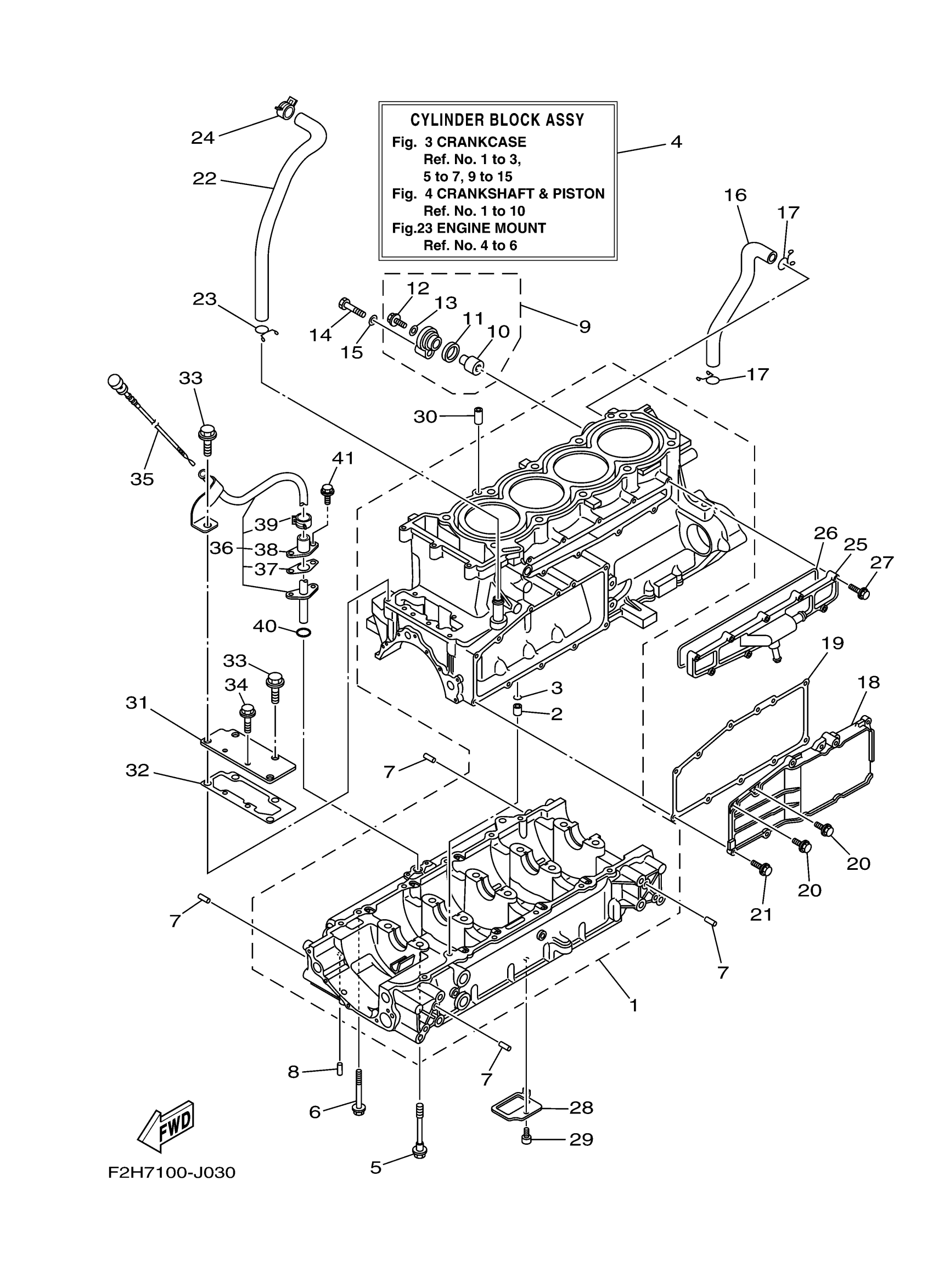
1
CRANKCASE ASSY
6CR-15100-20-00
Unavailable
4
CYLINDER BLOCK ASSY
6CR-W009B-28-94
Unavailable
5
. BOLT, FLANGE
90105-10071-00
Unavailable
8
PIN, DOWEL
93604-10M03-00
Unavailable
10
. ANODE
68V-11325-02-00
Unavailable
11
GROMMET, ANODE
67F-11328-01-00
Unavailable
13
. GASKET
90430-06M03-00
Unavailable
15
.. WASHER, PLATE
92990-08600-00
Unavailable
16
HOSE
6S5-11377-00-00
Unavailable
17
CLIP
90467-190A0-00
Unavailable
18
COVER
6S5-1131M-20-00
Unavailable
19
. GASKET
6BH-13557-00-00
Unavailable
20
BOLT, FLANGE
95024-06014-00
Unavailable
21
BOLT, FLANGE(3DM)
95024-06020-00
Unavailable
22
PIPE, BREATHER 3
6S5-11126-00-00
Unavailable
23
CLIP
90467-190A0-00
Unavailable
24
CLIP
90467-200A0-00
Unavailable
25
JOINT, 1 SET
99999-04467-00
Unavailable
26
. GASKET, WATER INLET
6S5-12517-01-00
Unavailable
27
BOLT, FLANGE(4KG)
95024-06025-00
Unavailable
28
PLATE, BAFFLE LOWER
6S5-13337-00-00
Unavailable
29
BOLT,SOCKET
91317-06012-00
Unavailable
31
COVER, JOINT
6BH-1131C-00-00
Unavailable
32
. GASKET, COVER
6BH-1131B-00-00
Unavailable
33
BOLT, FLANGE(4HM)
95814-08020-00
Unavailable
34
BOLT, FLANGE
95814-06016-00
Unavailable
35
PLUG,OIL LEVEL
6BH-15362-01-00
Unavailable
36
PIPE, OIL LEVEL
6BH-8572F-00-00
Unavailable
37
. PLATE
6BH-1319K-00-00
Unavailable
38
SPACER
6CS-85516-00-00
Unavailable
39
. CLIP
90467-150A1-00
Unavailable
40
O-RING(3LD)
93210-12790-00
Unavailable
41
BOLT
90109-06268-00
Unavailable
