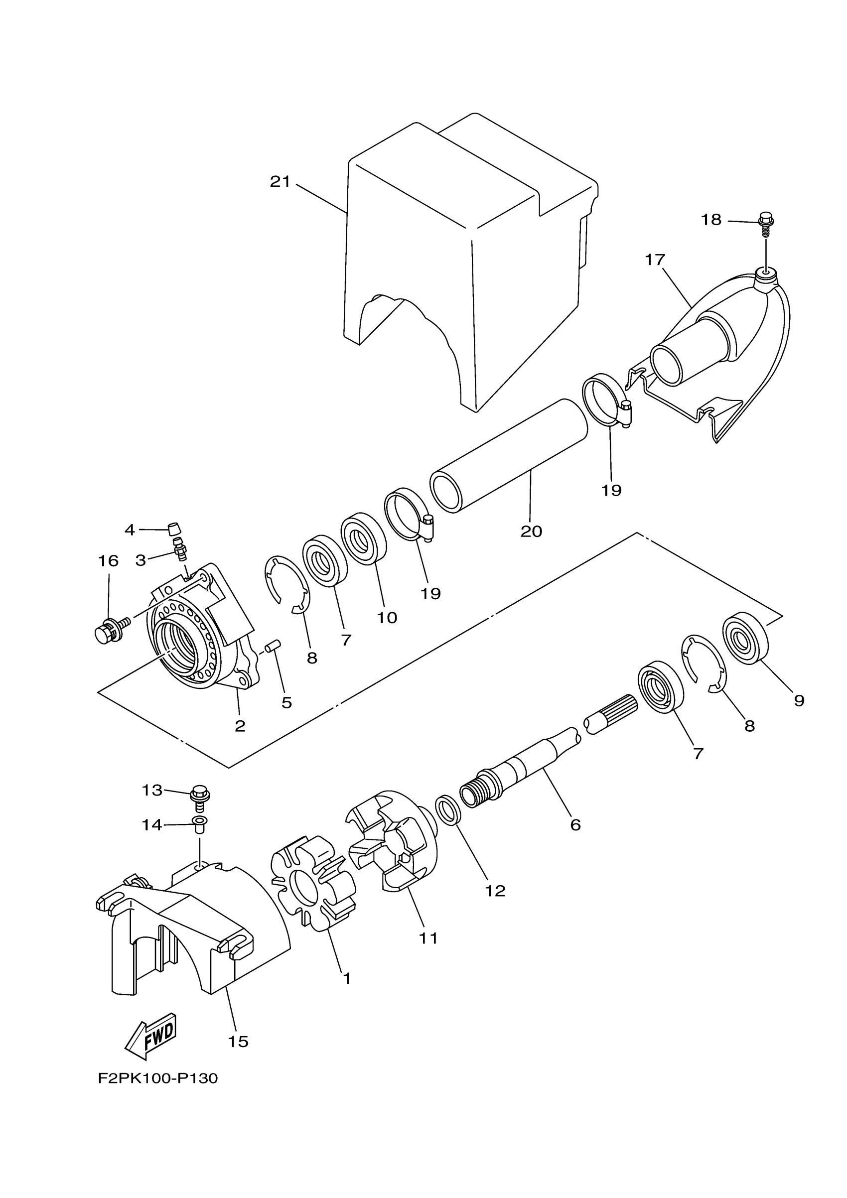
Yamaha VX1100DP (V1 SPORT) F2PK 2015 JET UNIT 2 Diagram
#
Description
Price
1
RUBBER SHAFT COUPL
6D3-4581J-01-00
Unavailable
2
HOUSING, BEARING
61X-G5332-00-00
Unavailable
3
NIPPLE, GREASE
93700-06M03-00
Unavailable
6
SHAFT, DRIVE
6BU-45511-00-00
Unavailable
8
CIRCLIP
93430-47M04-00
Unavailable
10
. OIL SEAL
93102-25009-00
Unavailable
11
FLANGE, COUPLING 1
6D3-45593-00-94
Unavailable
12
WASHER, PLATE
90201-24800-00
Unavailable
13
BOLT, WITH WASHER
90119-06892-00
Unavailable
15
COVER
60E-R1381-01-00
Unavailable
16
BOLT, WITH WASHER
90119-08907-00
Unavailable
17
JOINT, PIPE
F2N-U883E-00-00
Unavailable
18
BOLT
90109-06832-00
Unavailable
19
BAND, HOSE 55
90601-155U4-00
Unavailable
20
PIPE 1
F2N-U883B-00-00
Unavailable
21
PAD
F1K-U892D-00-00
Unavailable
