Partiron

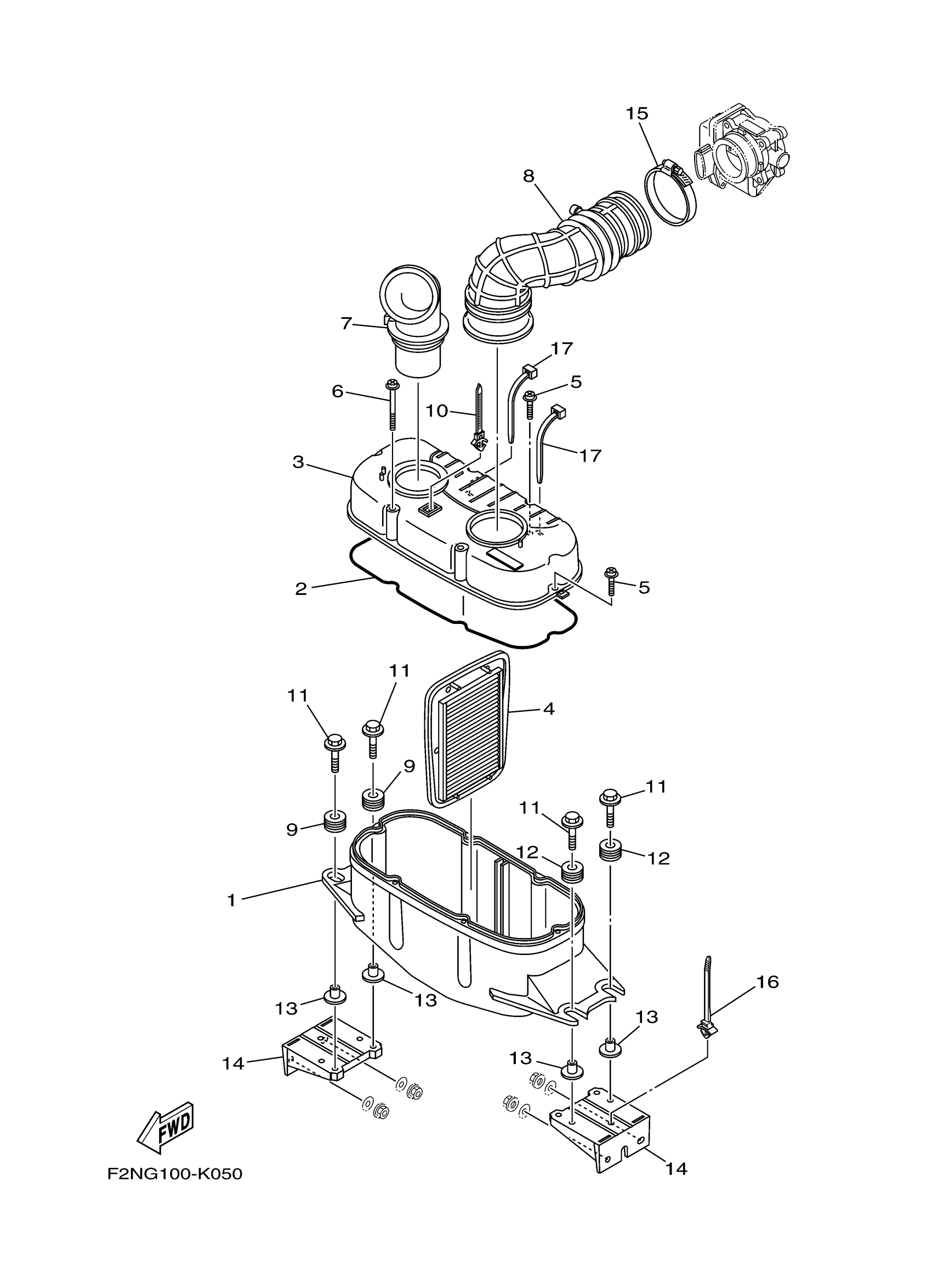
Yamaha VX1100DP (V1 SPORT) F2PK 2015 INTAKE Diagram

#

Description
Price

1

CASE, AIR CLEANER 1

6D3-14411-01-00

Unavailable

2

SEAL

1VJ-14462-00-00

$18.49

3

CASE, AIR CLEANER 2

6D3-14421-03-00

Unavailable

4

ELEMENT, AIR CLEANER

6D3-14451-00-00

Unavailable

5

SCREW, WITH WASHER

90159-05013-00

Unavailable

6

SCREW, WITH WASHER

90159-05014-00

Unavailable

7

DUCT

6D3-14437-00-00

Unavailable

8

PIPE

6D3-14419-01-00

Unavailable

9

GROMMET

90480-22M15-00

Unavailable

10

CLAMP(2TV)

90464-10112-00

$8.49

11

BOLT, WITH WASHER

90119-08187-00

Unavailable

12

GROMMET

90480-22M15-00

Unavailable

13

COLLAR

90387-08M37-00

Unavailable

14

BRACKET 2

F2N-U8572-00-00

Unavailable

15

BAND, HOSE 75

90601-175UR-00

Unavailable

16

CLAMP

90464-38800-00

Unavailable

17

CLAMP(JN6)

90464-40825-00

Unavailable