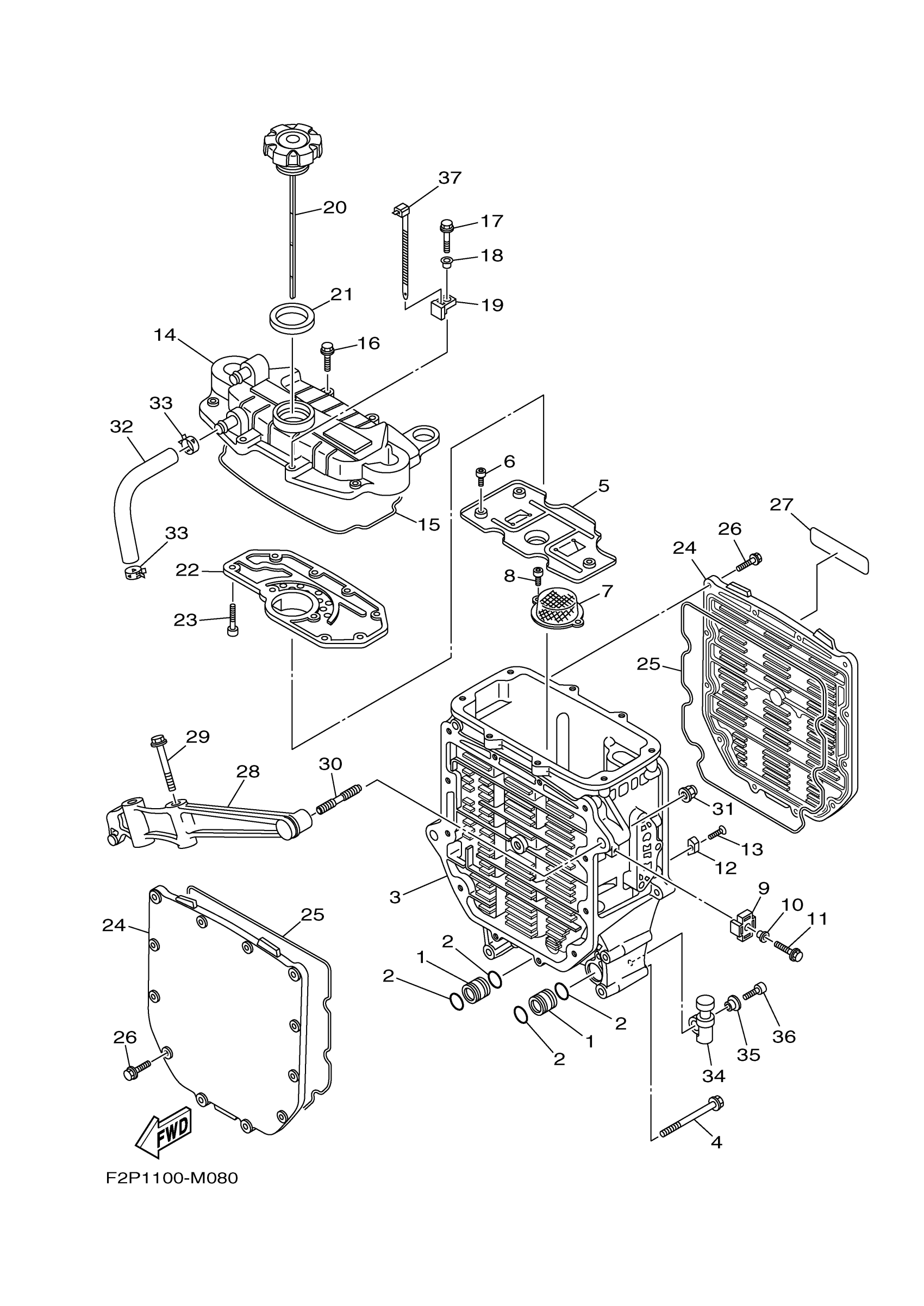
Yamaha VX1100CM (VX SPORT) F2P7 2013 OIL COOLER Diagram
#
1
CONNECTOR
60E-13446-00-00
Unavailable
3
CASE, OIL COOLER
6D3-13462-00-94
Unavailable
4
BOLT, WITH WASHER
90119-10020-00
Unavailable
5
PLATE, BAFFLE
6B6-13317-00-00
Unavailable
7
STRAINER 2
60E-13421-00-00
Unavailable
9
BRACKET
6BU-85542-00-00
Unavailable
10
COLLAR
90387-06M05-00
Unavailable
11
BOLT, HEXAGON W/W DEEP RECESS
97E95-06520-00
Unavailable
12
ANODE
6E5-11325-00-00
Unavailable
14
COVER, OIL COOLER
6D3-13463-00-94
Unavailable
15
GASKET
60E-13475-00-00
Unavailable
16
BOLT, FLANGE
90105-06036-00
Unavailable
17
BOLT, FLANGE
90105-06035-00
Unavailable
18
COLLAR
90387-06M05-00
Unavailable
19
BRACKET
6AA-85542-00-00
Unavailable
20
PLUG, OIL LEVEL
6BU-15362-A0-00
Unavailable
21
O-RING
60E-13473-00-00
Unavailable
22
PLATE, BREATHER
6D3-11165-00-00
Unavailable
23
BOLT, SOCKET
91317-05016-00
Unavailable
24
COVER, OIL COOLER
6D3-13443-00-94
Unavailable
25
GASKET
60E-13476-10-00
Unavailable
26
BOLT (689)
90105-06M07-00
Unavailable
27
LABEL, CAUTION 7
60E-83627-00-00
Unavailable
28
STAY
6B6-13151-00-94
Unavailable
29
BOLT, WITH WASHER
90119-10M23-00
Unavailable
30
BOLT, STUD
90116-10016-00
Unavailable
31
NUT, CAP
90176-10001-00
Unavailable
32
PIPE, BREATHER 2
6D3-11167-00-00
Unavailable
33
CLIP
90467-170A4-00
Unavailable
34
. GROMMET
6S5-81364-11-00
Unavailable
35
COLLAR
90387-06M05-00
Unavailable
36
. BOLT
91380-06020-00
Unavailable
37
CLAMP(6E8)
90465-13M39-00
Unavailable
