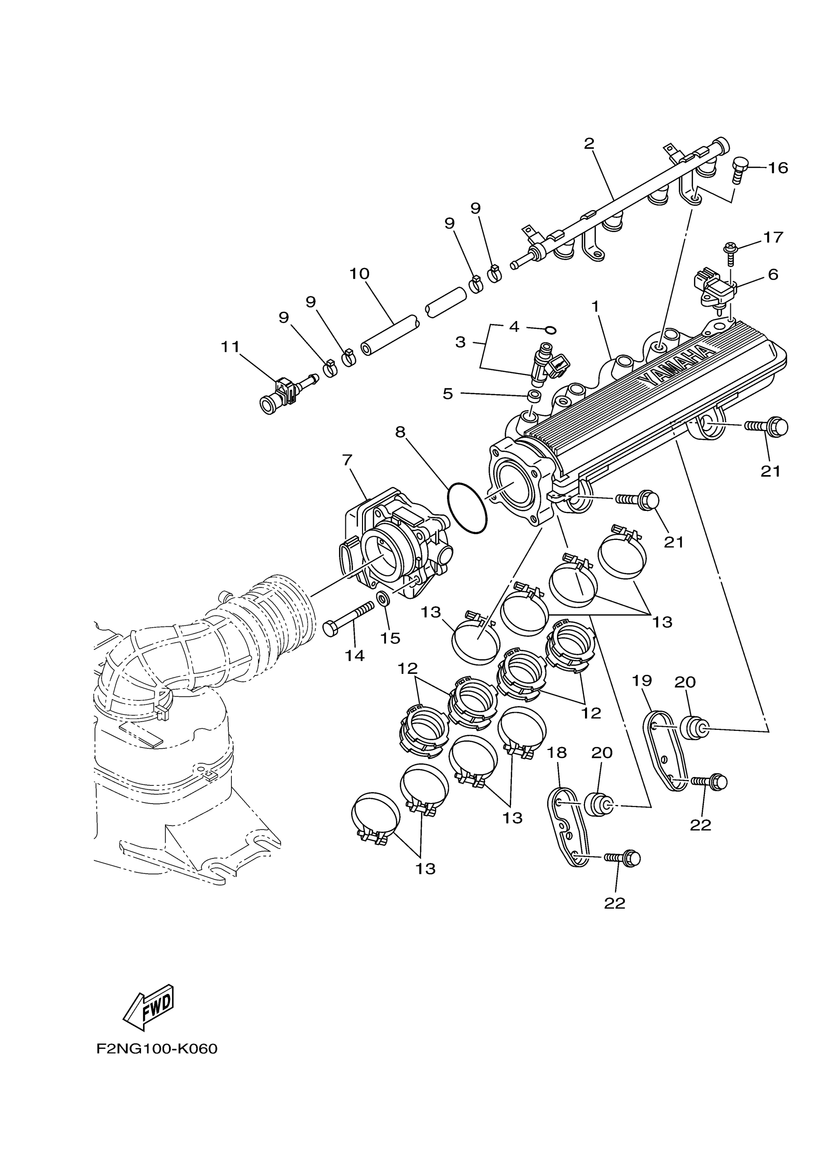
Yamaha VX1100CK (VX SPORT) F2NG 2011 INTAKE 2 Diagram
#
Description
Price
1
MANIFOLD, INTAKE 1
6D3-13641-00-00
Unavailable
2
DELIVERY PIPE
6BU-12880-00-00
Unavailable
3
. INJECTOR
60E-13761-10-00
Unavailable
4
.. O-RING
60E-14147-00-00
Unavailable
6
. SENSOR ASSY
68F-83688-00-00
Unavailable
7
THROTTLE BODY ASSY
6BU-13750-02-00
Unavailable
8
SEAL
6D3-14457-00-00
Unavailable
9
HOSE CLAMP ASSY
90450-17M17-00
Unavailable
10
HOSE
6D3-14294-11-00
Unavailable
11
FUEL PIPE JOINT
6S5-24300-01-00
Unavailable
12
JOINT, THROTTLE BODY 1
6D3-13795-01-00
Unavailable
13
HOSE CLAMP ASSY
90450-57006-00
Unavailable
14
BOLT 1
68V-13573-00-00
Unavailable
15
WASHER
6P2-13578-00-00
Unavailable
16
. BOLT
63P-14446-00-00
Unavailable
17
SCREW 3
6D3-81147-00-00
Unavailable
18
STAY
6D3-14413-00-00
Unavailable
19
STAY 2
6D3-14414-10-00
Unavailable
20
COLLAR
60E-14449-00-94
Unavailable
21
BOLT, WITH WASHER
90119-08050-00
Unavailable
22
BOLT, WITH WASHER
90119-08074-00
Unavailable
