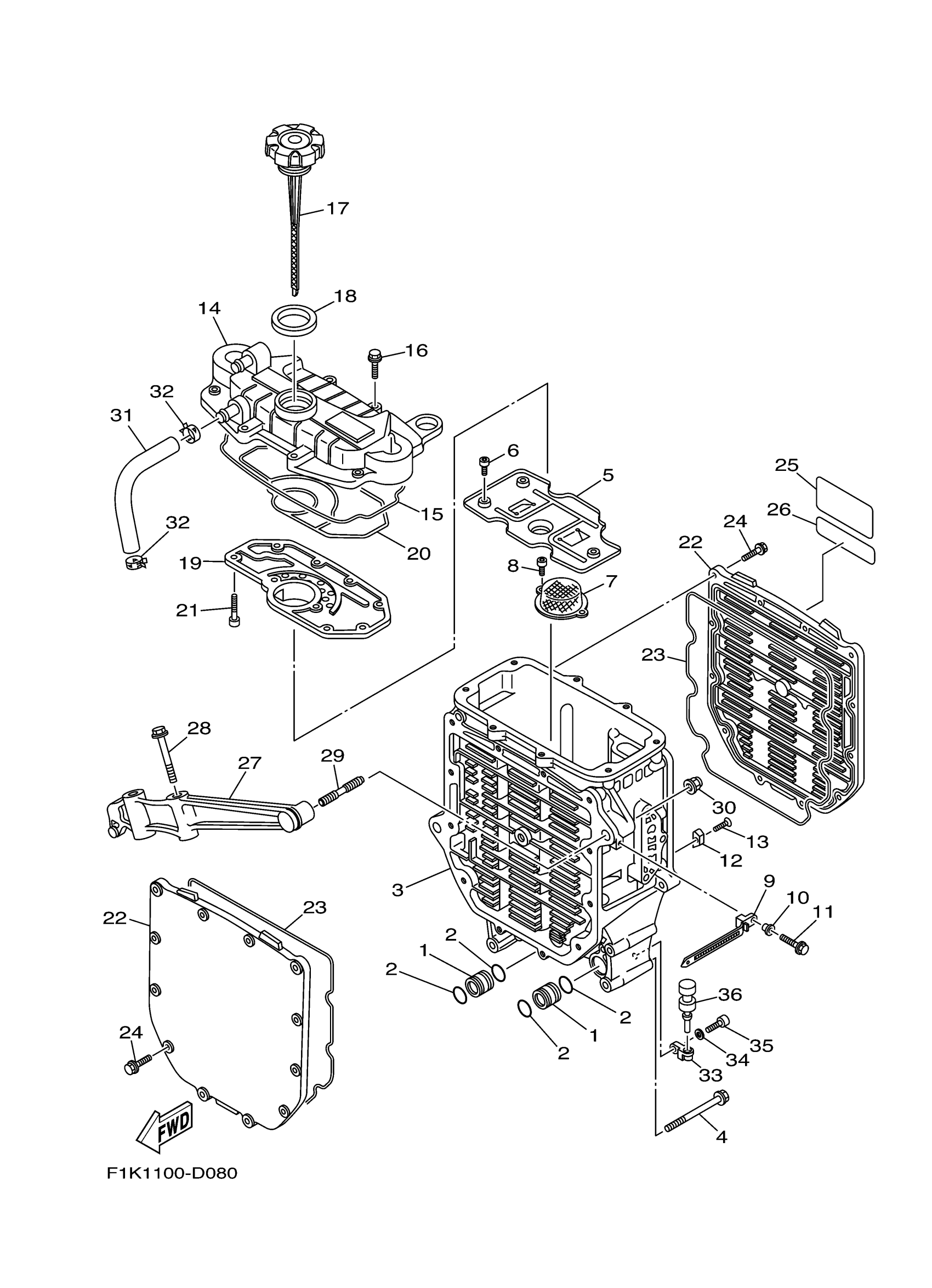
Yamaha VX1100BGB (WaveRunner VX Deluxe) F1KT 2008 OIL COOLER Diagram
#
1
CONNECTOR
60E-13446-00-00
Unavailable
3
CASE, OIL COOLER
6D3-13462-00-94
Unavailable
4
BOLT, WITH WASHER
90119-10020-00
Unavailable
5
PLATE, BAFFLE
6B6-13317-00-00
Unavailable
7
STRAINER 2
60E-13421-00-00
Unavailable
9
CLAMP
90465-12M53-00
Unavailable
10
COLLAR
90387-06M05-00
Unavailable
11
BOLT, HEXAGON W/W DEEP RECESS
97E95-06520-00
Unavailable
12
ANODE
6E5-11325-00-00
Unavailable
14
COVER, OIL COOLER
6D3-13463-00-94
Unavailable
15
GASKET
60E-13475-00-00
Unavailable
16
BOLT, FLANGE
90105-06036-00
Unavailable
17
PLUG, OIL LEVEL
6BU-15362-A0-00
Unavailable
18
O-RING
60E-13473-00-00
Unavailable
19
PLATE, BREATHER
6D3-11165-00-00
Unavailable
20
GASKET
6D3-13477-00-00
Unavailable
21
BOLT, SOCKET
91317-05016-00
Unavailable
22
COVER, OIL COOLER
6D3-13443-00-94
Unavailable
23
GASKET
60E-13476-10-00
Unavailable
24
BOLT (689)
90105-06M07-00
Unavailable
25
MARK 3
6B6-83623-00-00
Unavailable
26
LABEL, CAUTION 7
60E-83627-00-00
Unavailable
27
STAY
6B6-13151-00-94
Unavailable
28
BOLT, WITH WASHER
90119-10M23-00
Unavailable
29
BOLT, STUD
90116-10016-00
Unavailable
30
NUT, CAP
90176-10001-00
Unavailable
31
PIPE, BREATHER 2
6D3-11167-00-00
Unavailable
32
CLIP
90467-170A0-00
Unavailable
33
BRACKET 1
60E-51341-00-94
Unavailable
34
WASHER, PLAIN (646)
92990-06600-00
Unavailable
35
. BOLT
91380-06020-00
Unavailable
36
GROMMET(6R7)
90480-06M46-00
Unavailable
