- Partiron
- OEM Parts
- Yamaha
- waverunner
- 2007
- VX1100BF (WaveRunner VX Deluxe) F1KD 2007
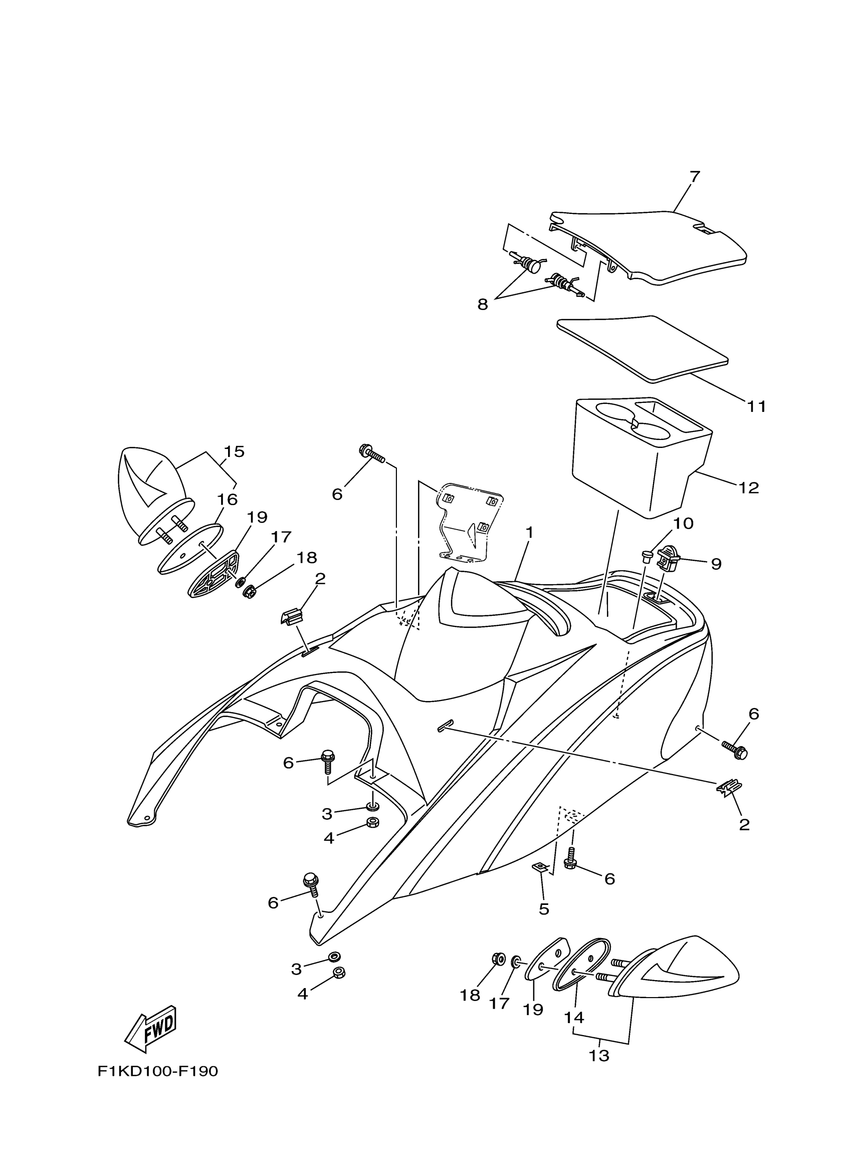
ENGINE HATCH 1
Yamaha VX1100BF (WaveRunner VX Deluxe) F1KD 2007 ENGINE HATCH 1 Diagram
#
Description
Price
1
COVER, ENGINE HATCH
F1K-U516N-11-P0
Unavailable
1
COVER, ENGINE HATCH
F1K-U516N-41-P0
Unavailable
3
WASHER
9299R-06200-00
Unavailable
4
NUT, NYLON
9572R-06300-00
Unavailable
6
BOLT, WITH WASHER
90119-06878-00
Unavailable
7
LID HATCH
F1K-U517H-01-00
Unavailable
8
PIN, HINGE
F0X-6517R-01-00
Unavailable
9
LOCK
GU2-62875-02-00
Unavailable
10
. PLUG, BLIND
90605-502U1-00
Unavailable
11
PACKING CASE
F1K-U519D-00-00
Unavailable
12
HOLDER, DRINK
F1K-U5633-02-00
Unavailable
13
MIRROR LH
F1S-U596B-10-00
Unavailable
14
. SPACER 1
F0V-U471E-00-00
Unavailable
15
MIRROR RH
F1S-U596C-10-00
Unavailable
16
. SPACER 2
F0V-U471F-00-00
Unavailable
17
WASHER
9299R-08200-00
Unavailable
18
NUT, NYLON (6J8)
95780-08300-00
Unavailable
19
PLATE
F1B-U5646-00-00
Unavailable
