- Partiron
- OEM Parts
- Yamaha
- waverunner
- 2020
- VX1050GV (VX-C) F5TA 2020
CRANKSHAFT & PISTON
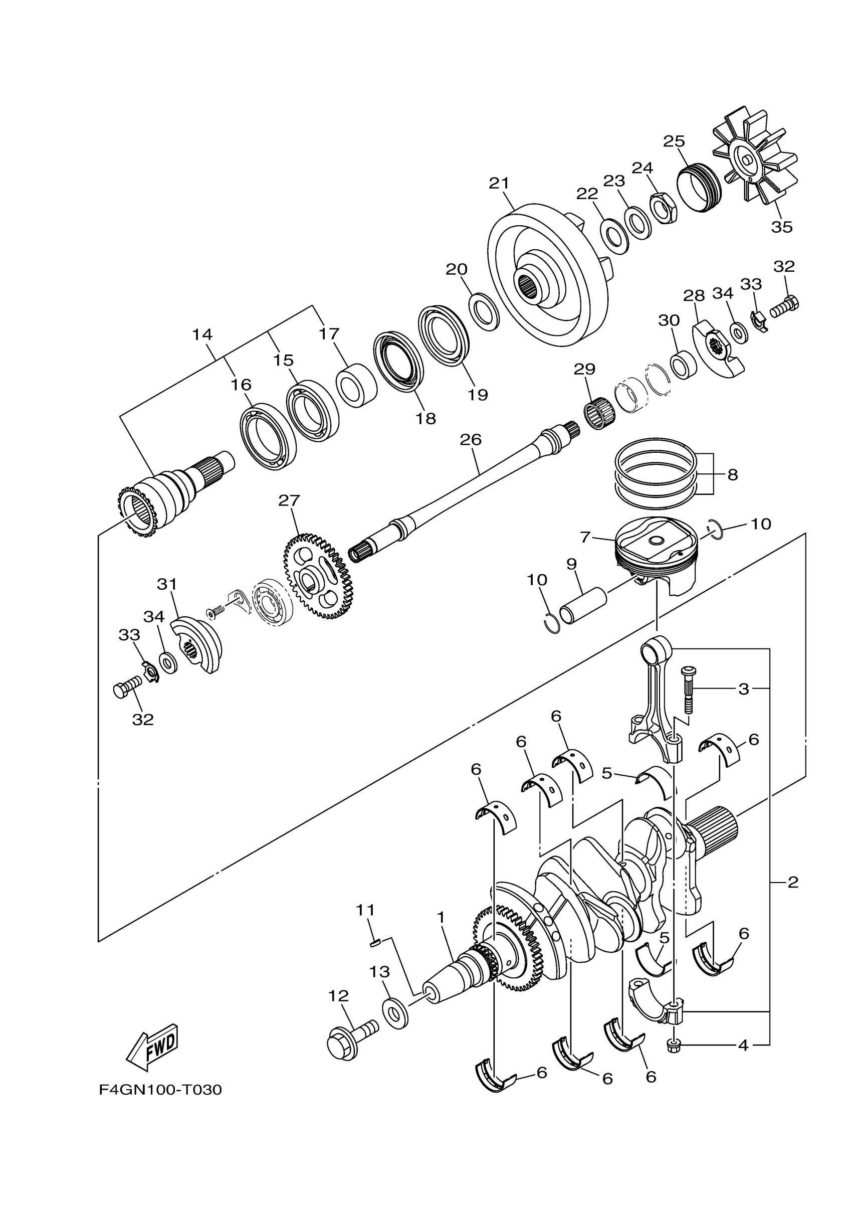
Yamaha VX1050GV (VX-C) F5TA 2020 CRANKSHAFT & PISTON Diagram
#
1
CRANKSHAFT ASSY
6EY-11400-00-00
Unavailable
2
CONNECTING ROD ASSY
B0F-11650-00-00
Unavailable
6
PLANE BEARING, CRANKSHAFT 1
3LD-11416-10-00
Unavailable
6
PLANE BEARING, CRANKSHAFT 1
3LD-11416-60-00
Unavailable
6
PLANE BEARING, CRANKSHAFT 1
3LD-11416-70-00
Unavailable
7
PISTON (STD)
8KH-11631-00-00
Unavailable
8
PISTON RING SET
8KH-11603-02-00
Unavailable
9
PIN, PISTON
6EY-11633-00-00
Unavailable
10
CIRCLIP (26H)
93450-19095-00
Unavailable
11
KEY WOODRUFF 146115450000
90280-03017-00
Unavailable
12
BOLT, FLANGE
90105-12101-00
Unavailable
13
WASHER (838)
90201-12191-00
Unavailable
14
SHAFT ASSY
6EY-11406-00-00
Unavailable
15
BRG,R-B 6007 62MM 150G KY
93306-00702-00
Unavailable
16
BEARING
93306-90901-00
Unavailable
17
. COLLAR
6EY-11917-00-00
Unavailable
18
. OIL SEAL
93101-40001-00
Unavailable
19
. OIL SEAL
93101-40002-00
Unavailable
20
WASHER 1
6EY-11557-00-00
Unavailable
21
FLYWHEEL
6JS-11571-00-00
Unavailable
22
WASHER, PLATE
90201-20030-00
Unavailable
23
WASHER, CONICAL SPRING
90208-20001-00
Unavailable
24
NUT
90179-20020-00
Unavailable
25
CAP
6EY-45155-00-00
Unavailable
26
SHAFT ASSY., 2
2HC-11407-00-00
Unavailable
27
GEAR, BALANCE WEIGHT
6EY-11531-00-00
Unavailable
28
WEIGHT 1
8ES-11454-00-00
Unavailable
29
BEARING
93310-42239-00
Unavailable
30
COLLAR
6EY-11478-00-00
Unavailable
31
WEIGHT 2
2HC-11464-00-00
Unavailable
32
BOLT(6TD)
97017-10025-00
Unavailable
33
WASHER, LOCK
90215-10003-00
Unavailable
34
WASHER, PLATE (3L6)
90201-10774-00
Unavailable
35
RUBBER SHAFT COUPLING
6EY-4581J-00-00
Unavailable
