- Partiron
- OEM Parts
- Yamaha
- waverunner
- 2023
- VX1050EY (VX DELUXE WITH AUDIO_ VX DELUXE) F4NH 2023
ENGINE HATCH 3
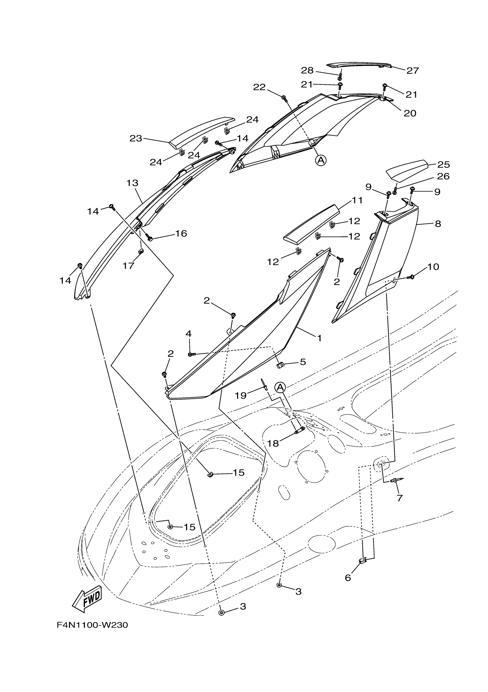
Yamaha VX1050EY (VX DELUXE WITH AUDIO_ VX DELUXE) F4NH 2023 ENGINE HATCH 3 Diagram
#
1
COVER,SIDE 1 (PURW)
F4N-U377B-00-P0
Unavailable
2
SCREW
F3X-U7823-12-00
Unavailable
3
NUT, LOCK
F2N-U142L-00-00
Unavailable
4
BOLT, WITH WASHER
90119-06880-00
Unavailable
5
NUT
F3X-U517E-00-00
Unavailable
6
PLATE, FIX
F2X-U5175-00-00
Unavailable
7
RIVET (EU0)
90267-48938-00
Unavailable
8
PAD, KNEE (MDYNS1)
F4N-U353B-00-P4
Unavailable
9
SCREW
F3X-U7823-12-00
Unavailable
10
SCREW
F3X-U7823-02-00
Unavailable
11
ORNAMENT LH (LGB)
F4N-U517W-01-98
Unavailable
12
CLIP
F3Y-U153K-00-00
Unavailable
13
COVER,SIDE 2 (PURW)
F4N-U377C-00-P0
Unavailable
13
COVER,SIDE 2
F4N-U377C-00-P7
Unavailable
14
SCREW
F3X-U7823-12-00
Unavailable
15
NUT, LOCK
F2N-U142L-00-00
Unavailable
16
BOLT, WITH WASHER
90119-06880-00
Unavailable
17
NUT
F3X-U517E-00-00
Unavailable
18
PLATE, FIX
F2X-U5175-00-00
Unavailable
19
RIVET (EU0)
90267-48938-00
Unavailable
20
PAD, KNEE 1 (MDYNS1)
F4N-U353C-00-P4
Unavailable
20
PAD, KNEE 1
F4N-U353C-00-P6
Unavailable
21
SCREW
F3X-U7823-12-00
Unavailable
22
SCREW
F3X-U7823-02-00
Unavailable
23
ORNAMENT RH (LGB)
F4N-U517X-01-98
Unavailable
23
ORNAMENT RH
F4N-U517X-01-P6
Unavailable
24
CLIP
F3Y-U153K-00-00
Unavailable
25
ORNAMENT, MIDDLE LH (MDYNS1)
F4N-U89AA-00-P4
Unavailable
25
ORNAMENT, MIDDLE L
F4N-U89AA-00-P6
Unavailable
26
SCREW
F2S-U13C1-00-00
Unavailable
27
ORNAMENT, MIDDLE RH (MDYNS1)
F4N-U89AB-00-P4
Unavailable
27
ORNAMENT, MIDDLE R
F4N-U89AB-00-P6
Unavailable
28
SCREW
F2S-U13C1-00-00
Unavailable
