Partiron

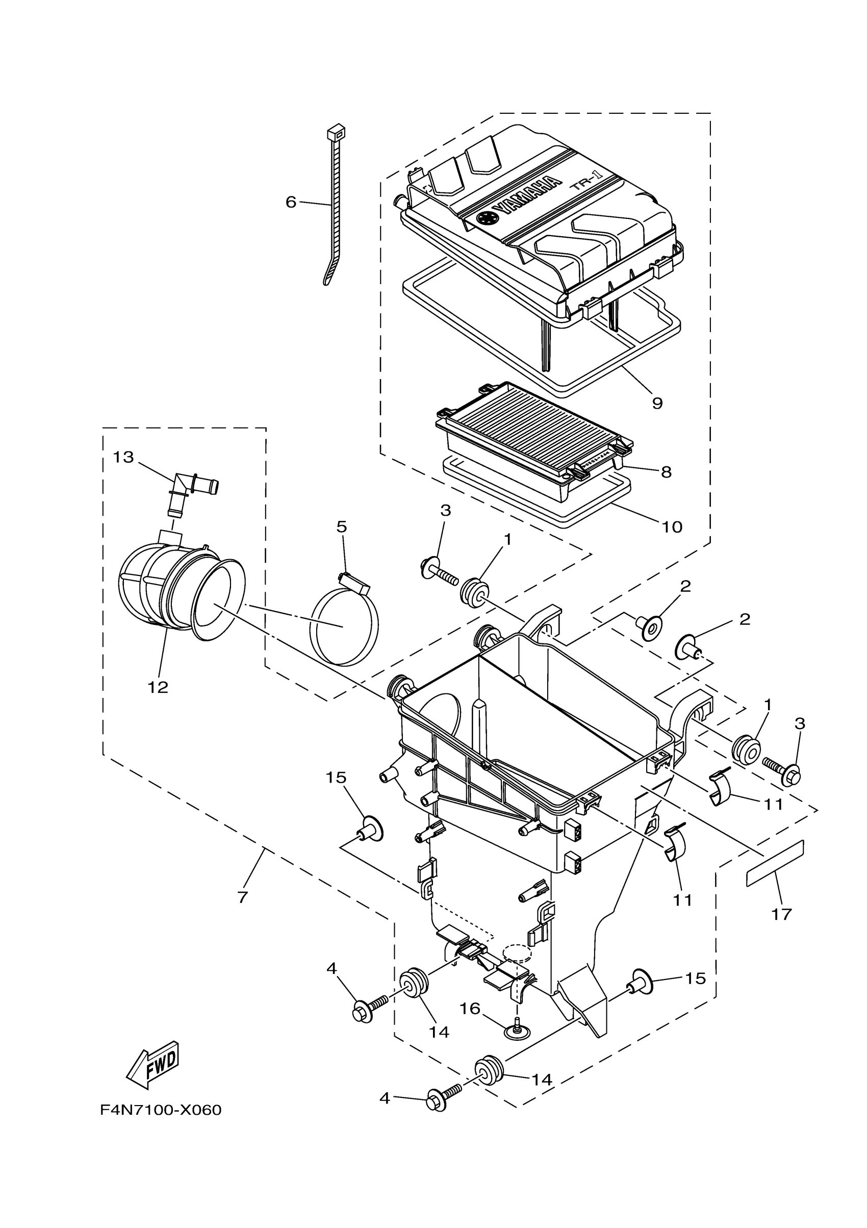
Yamaha VX1050BB (VX CRUISER WITH AUDIO) F4NT 2025 INTAKE 2 Diagram

#

Description
Price

1

GROMMET

90480-22M15-00

Unavailable

2

COLLAR

90387-08M37-00

Unavailable

3

BOLT, WITH WASHER

90119-08169-00

Unavailable

4

BOLT, WITH WASHER

90119-08187-00

Unavailable

5

HOSE CLAMP ASSY

90450-90002-00

Unavailable

6

CLAMP

90465-13M18-00

Unavailable

7

AIR CLEANER ASSY.

6EY-14410-10-00

$281.99

8

ELEMENT, AIR CLEANER

6EY-14451-00-00

$74.99

9

. SEAL

6EY-14462-00-00

Unavailable

10

. SEAL

6EY-14452-00-00

Unavailable

11

. HOOK

6EY-14436-00-00

Unavailable

12

. PIPE

6EY-14419-00-00

Unavailable

13

. PIPE, JOINT

6EY-14485-00-00

Unavailable

14

GROMMET

90480-22M15-00

Unavailable

15

COLLAR

90387-08M37-00

Unavailable

16

. VALVE

6EY-14470-01-00

Unavailable

17

LABEL, CAUTION 7

60E-83627-00-00

Unavailable