- Partiron
- OEM Parts
- Kawasaki
- motorcycle
- 1999
- Vulcan 800
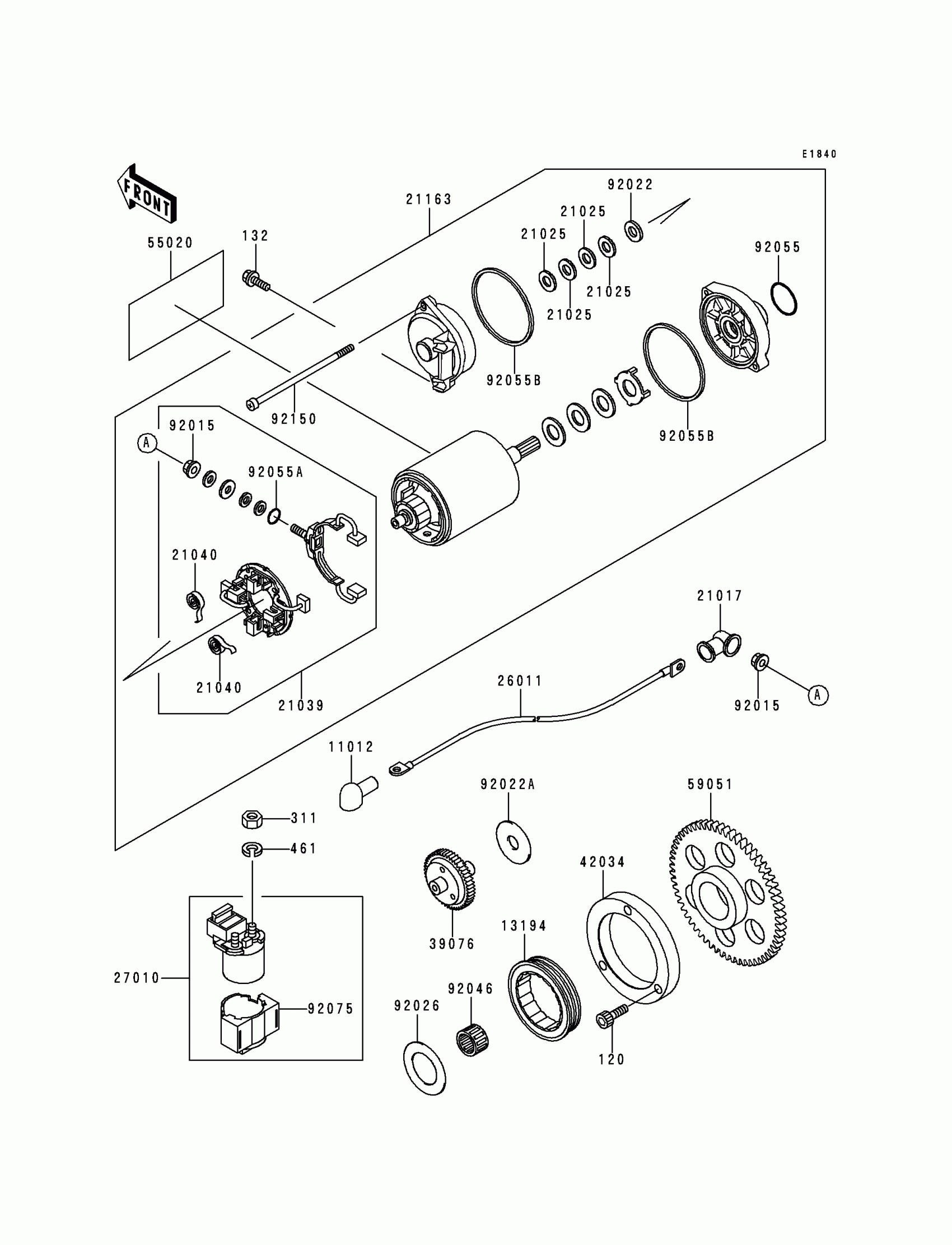
Starter Motor
Kawasaki Vulcan 800 Starter Motor Diagram
#
Description
Price
21025
WASHER,9.1X18X0.2
21025-011
Unavailable
92075
DAMPER,MAGNETIC SWITCH
92075-1863
Unavailable
