Partiron

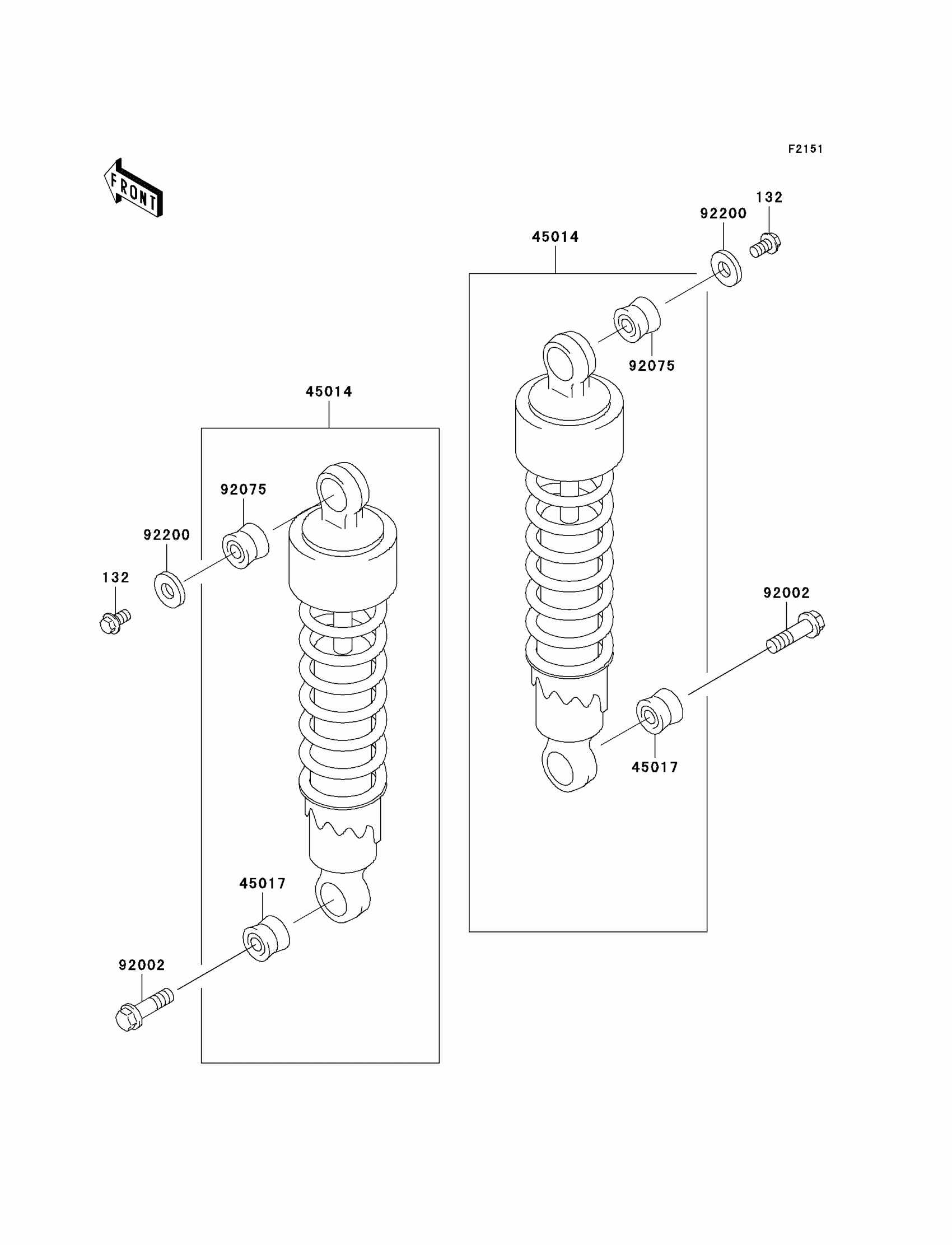
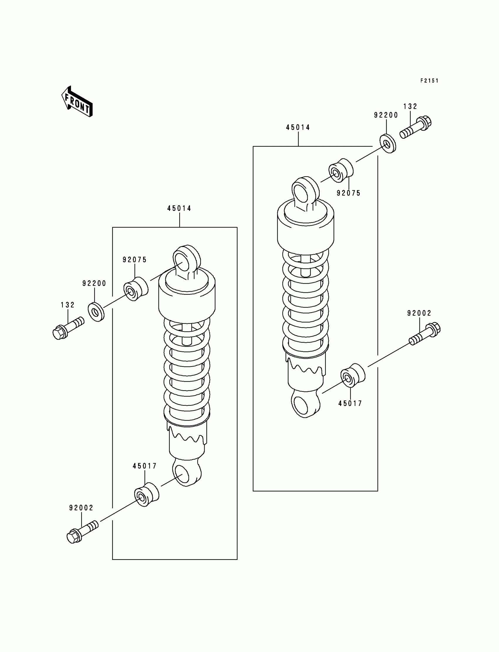
Kawasaki Vulcan 500 LTD Suspension/Shock Absorber Diagram

#

Description
Price

132

BOLT-FLANGED-SMALL,8X14

132E0814

$4.80

45014

SHOCKABSORBER

45014-1628

Unavailable

45017

DAMPER,SHOCKABSORBER,LWR

45017-019

$19.66

92002

BOLT,FLANGED,10X35

92002-1829

$7.90

92075

DAMPER,SHOCKABSORBER

92075-1141

$14.90

92200

WASHER,8.5X35X2.3

92200-1293

$5.45