- Partiron
- OEM Parts
- Kawasaki
- motorcycle
- 2000
- Vulcan 500 LTD
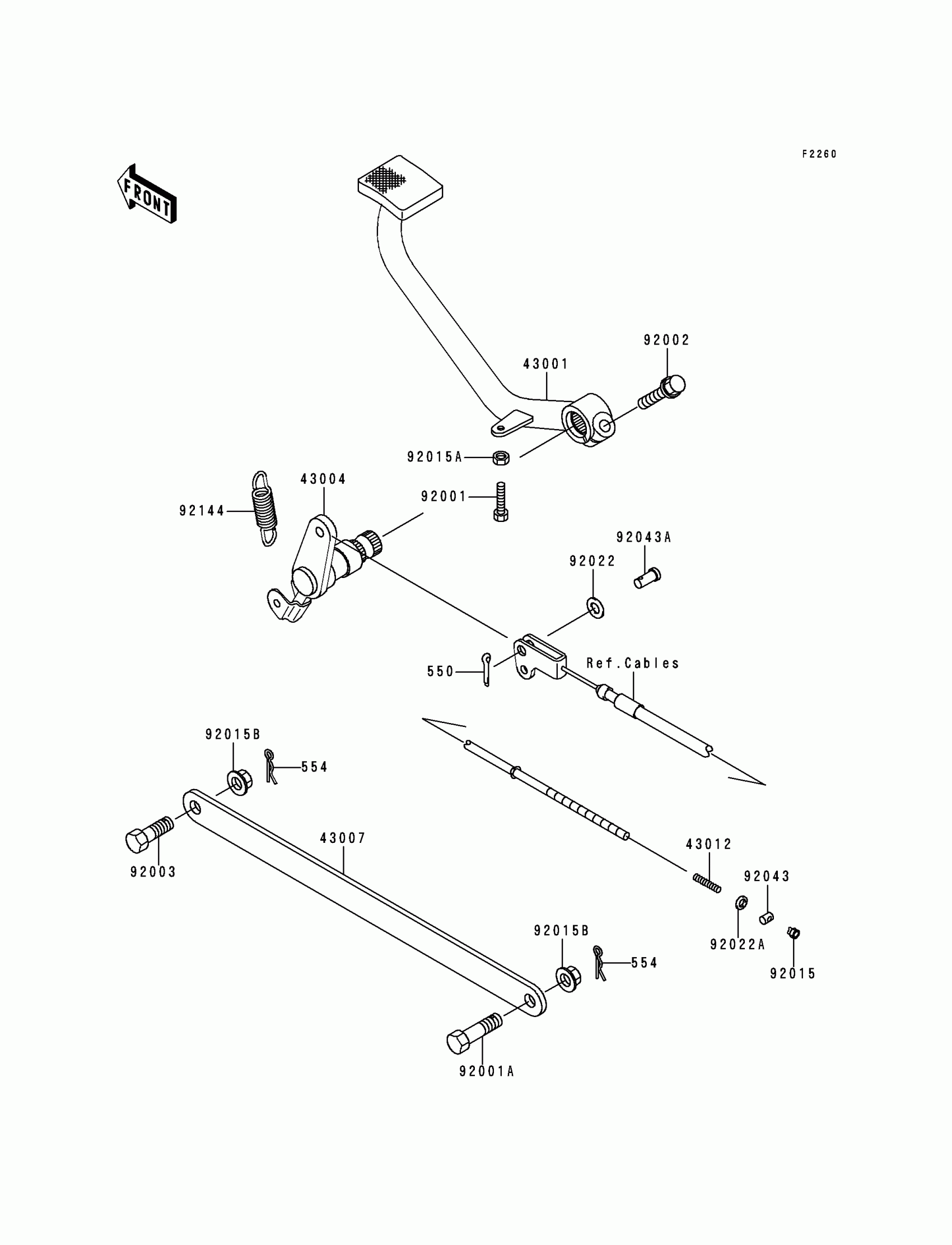
Brake Pedal/Torque Link
Kawasaki Vulcan 500 LTD Brake Pedal/Torque Link Diagram
#
Description
Price
Brake Pedal/Torque Link
#
Edit ride
