Partiron

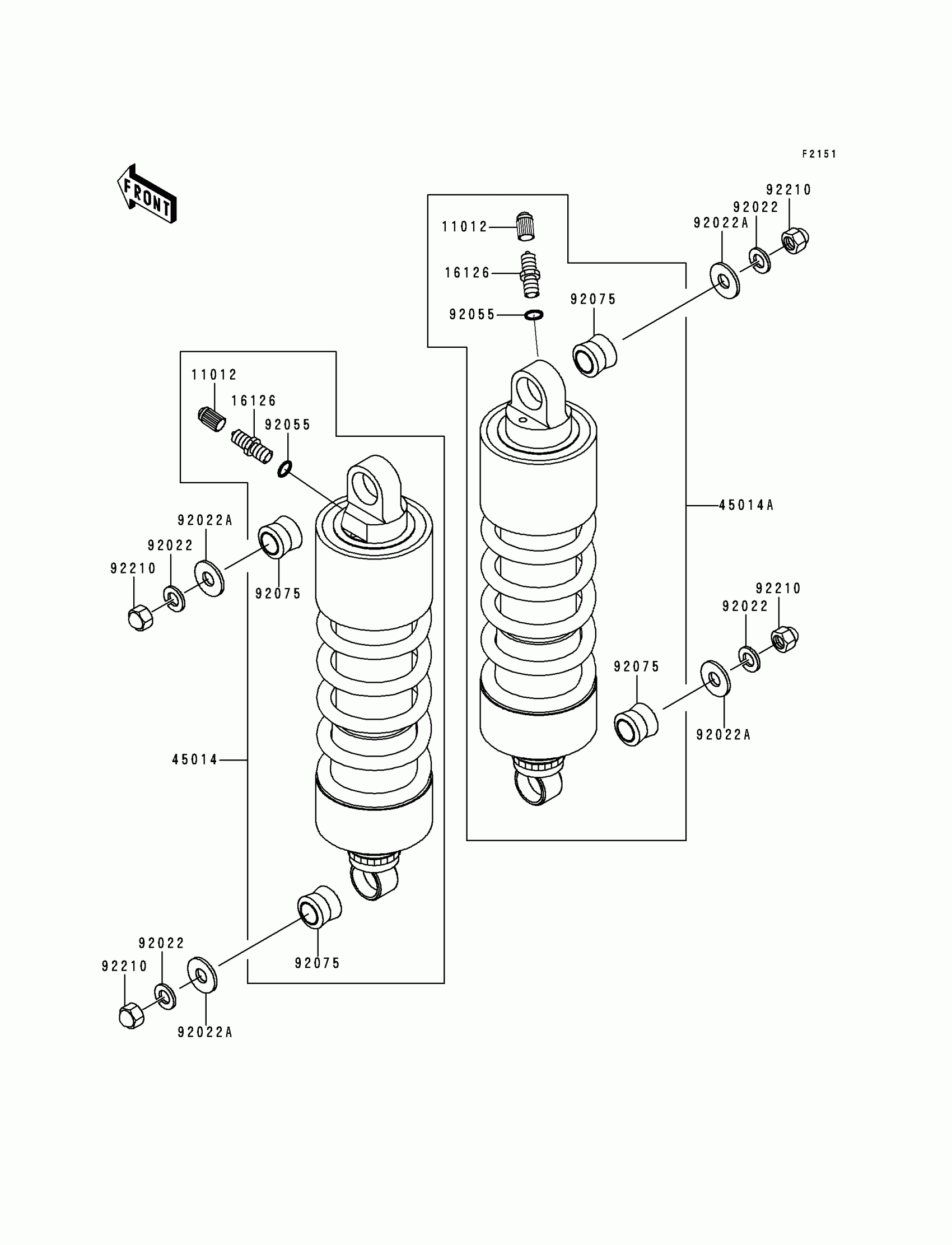
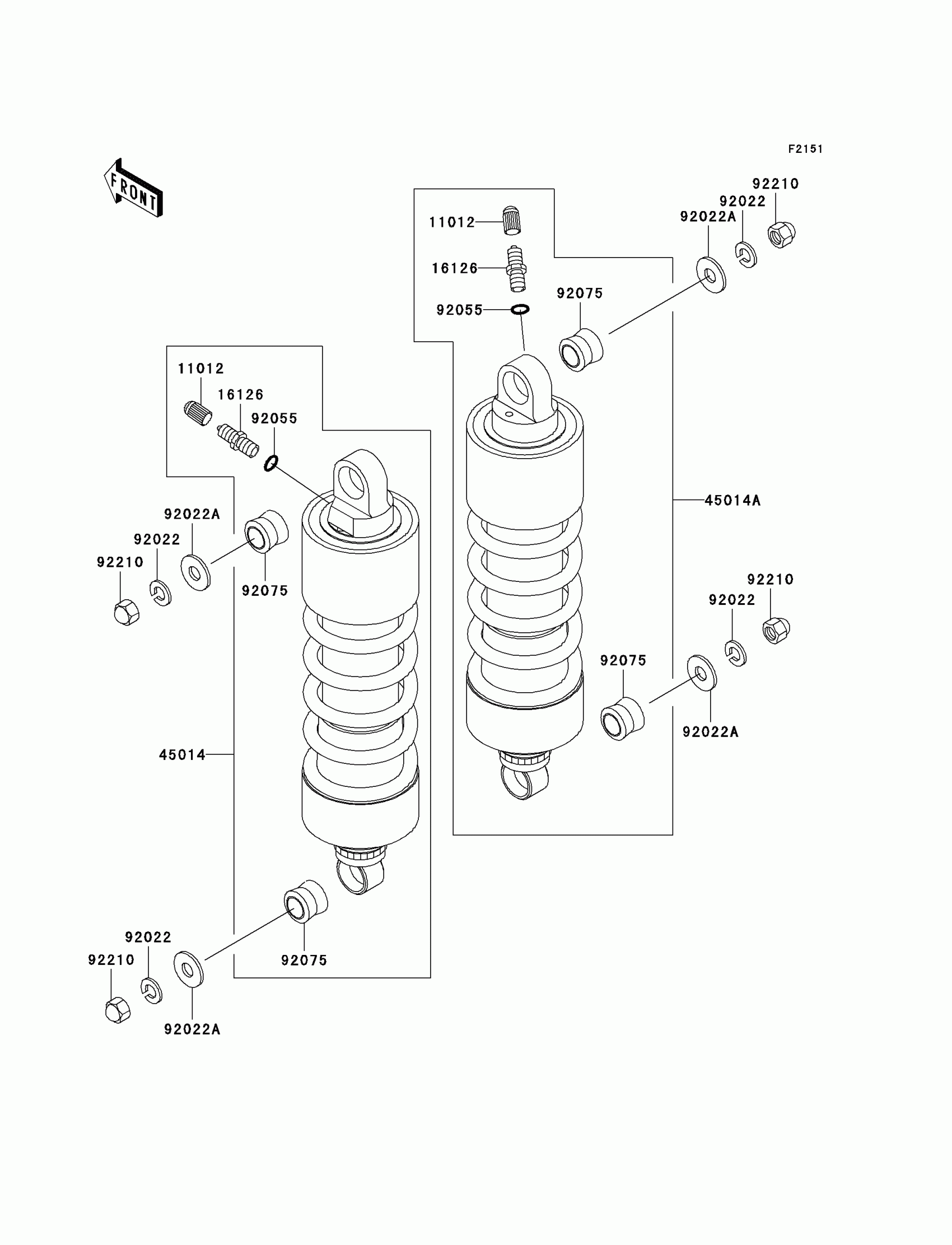
Kawasaki Vulcan 1500 Nomad Fi Suspension/Shock Absorber Diagram

#

Description
Price

11012

CAP

11012-1283

$8.51

16126

VALVE,AIR

16126-1105

$39.05

45014

SHOCKABSORBER,LH

45014-1702

$840.42

45014A

SHOCKABSORBER,RH

45014-1703

$840.42

92022

WASHER,SPRING,10MM

92022-1540

$4.11

92022A

WASHER,10.5X26X2.3

92022-246

$3.39

92055

RING-O

92055-1130

$2.46

92075

DAMPER,SHOCKABSORBER

92075-1387

$14.90

92210

NUT,CAP,10MM

92210-1128

$3.09