- Partiron
- OEM Parts
- Kawasaki
- motorcycle
- 2000
- Vulcan 1500 Nomad Fi
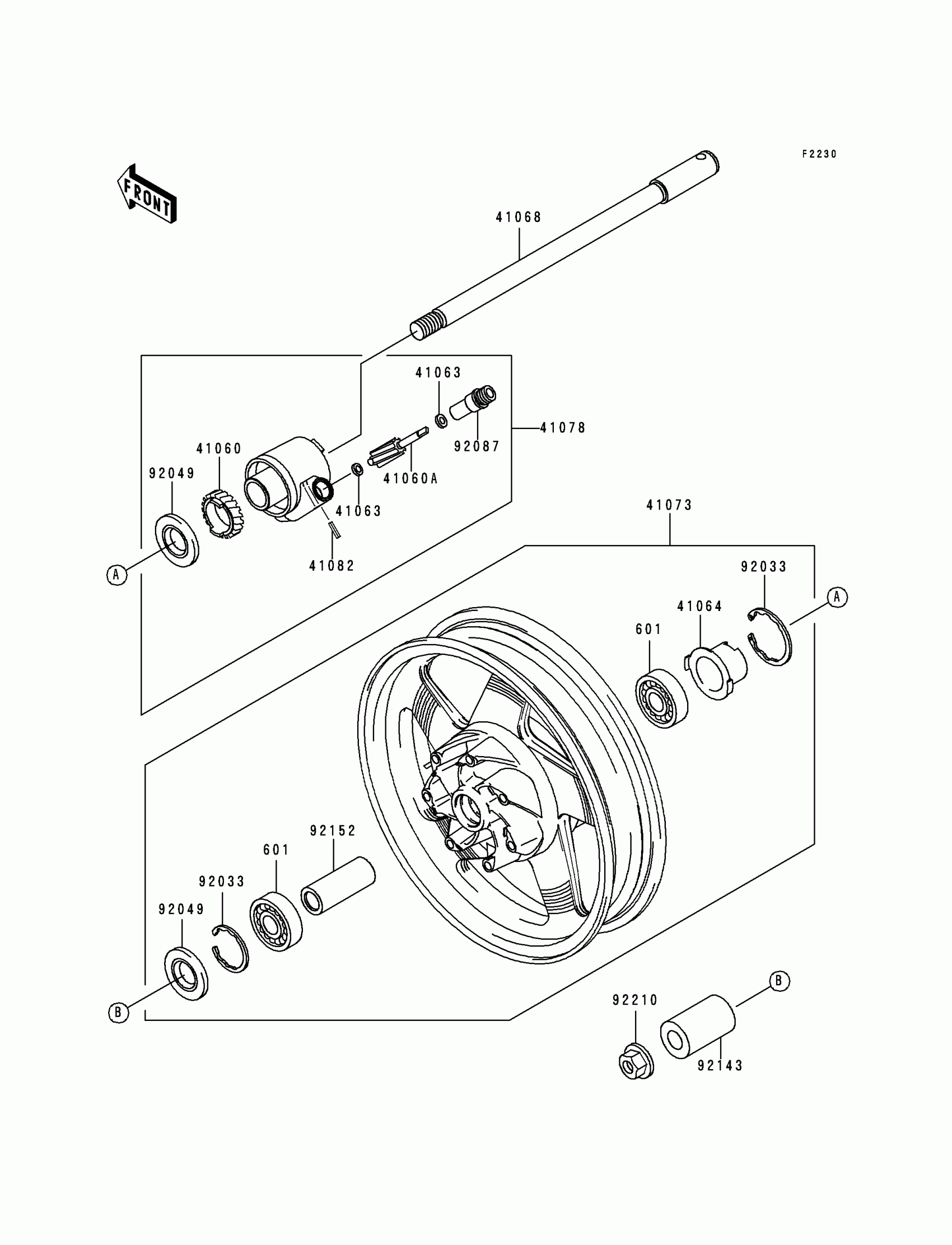
Front Wheel
Kawasaki Vulcan 1500 Nomad Fi Front Wheel Diagram
#
Description
Price
41073
WHEEL-ASSY,FR,SILVER
41073-1631-CX
Unavailable
