- Partiron
- OEM Parts
- Kawasaki
- motorcycle
- 1997
- Vulcan 1500 Classic
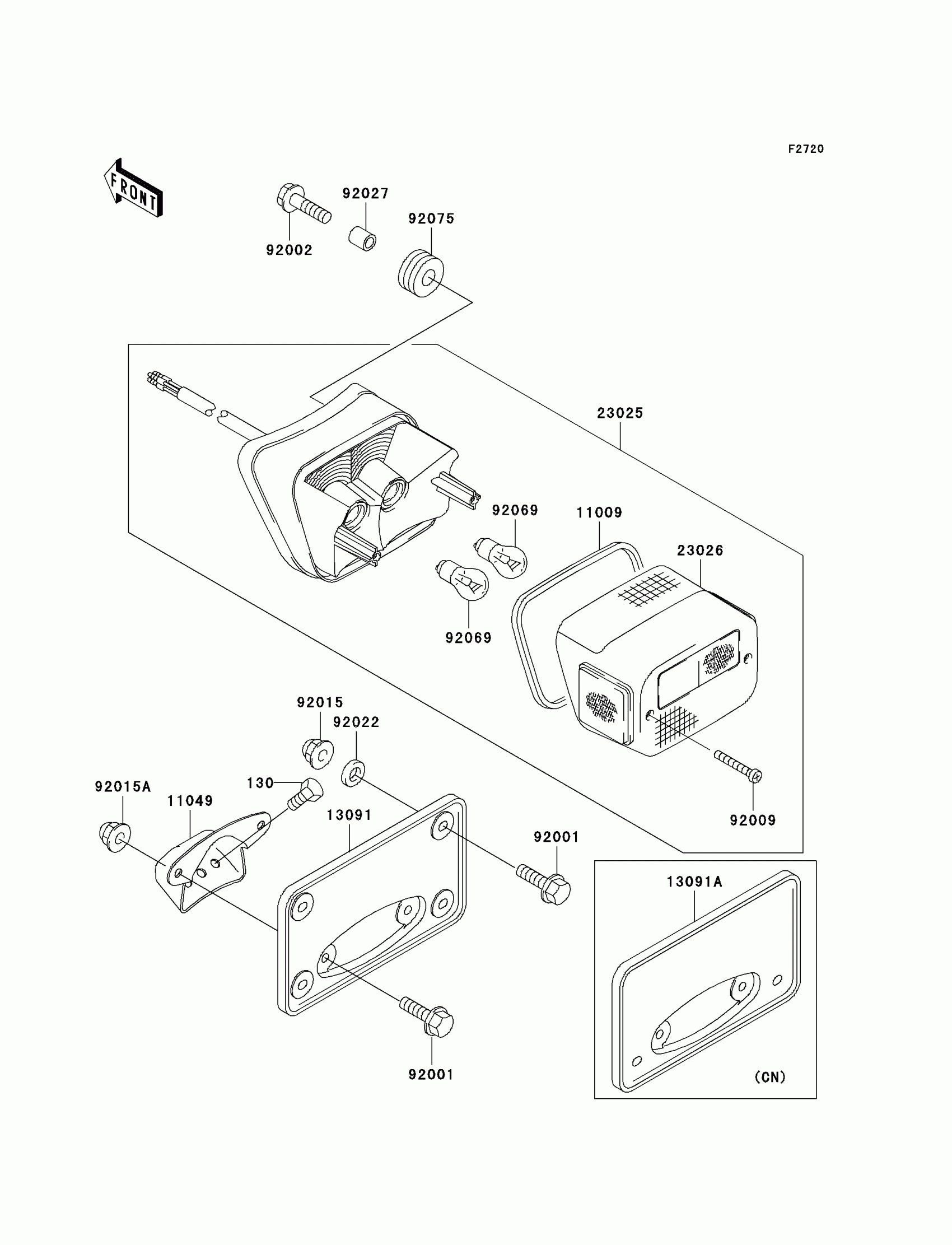
Taillight(s)
Kawasaki Vulcan 1500 Classic Taillight(s) Diagram
#
Description
Price
130
BOLT-FLANGED,6X10
130V0610
Unavailable
92002
BOLT,UPSET-WP,6X22
92002-1262
Unavailable
13091A
HOLDER,LICENSE PLATE
13091-1952
Unavailable
