- Partiron
- OEM Parts
- Honda
- MOTORCYCLE
- 2006
- VTX1800S22A (06) MOTORCYCLE, USA, VIN# 1HFSC49M-6A400001 TO 1HFSC49M-6A499999
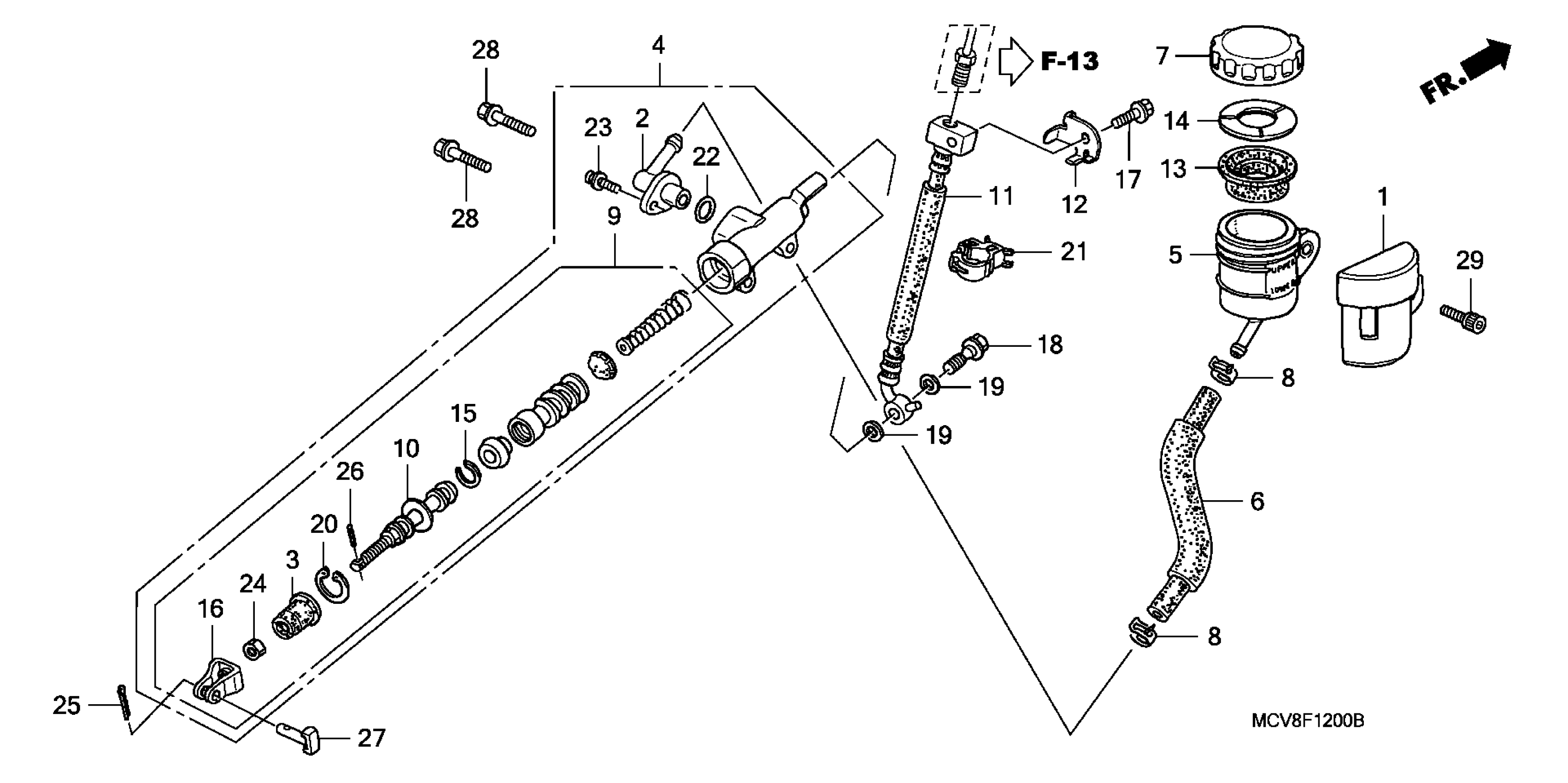
REAR BRAKE MASTER CYLINDER
Honda VTX1800S22A (06) MOTORCYCLE, USA, VIN# 1HFSC49M-6A400001 TO 1HFSC49M-6A499999 REAR BRAKE MASTER CYLINDER Diagram
#
Description
Price
2
CONNECTOR
43503-MJ0-006
Unavailable
11
HOSE, RR. MASTER CYLINDER JOINT
45130-MCV-003
Unavailable
