- Partiron
- OEM Parts
- Honda
- MOTORCYCLE
- 2006
- VTX1800F1A (06) MOTORCYCLE, USA, VIN# 1HFSC46B-6A400001 TO 1HFSC46B-6A499999
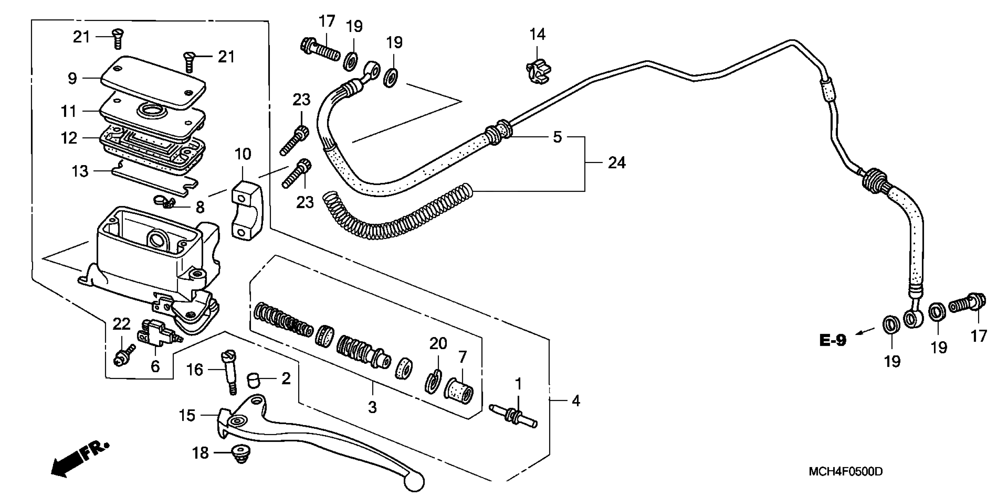
CLUTCH MASTER CYLINDER
Honda VTX1800F1A (06) MOTORCYCLE, USA, VIN# 1HFSC46B-6A400001 TO 1HFSC46B-6A499999 CLUTCH MASTER CYLINDER Diagram
#
Description
Price
24
HOSE, CLUTCH
22900-MCH-C11
Unavailable
