- Partiron
- OEM Parts
- Honda
- MOTORCYCLE
- 2000
- VTR1000FA (00) MOTORCYCLE, JPN, VIN# JH2SC360-YM200001 TO JH2SC360-YM299999
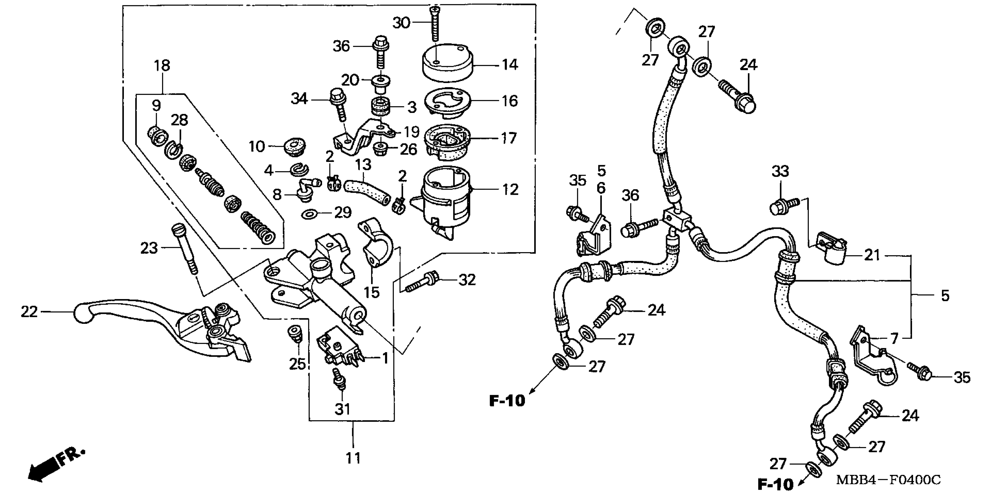
FRONT BRAKE MASTER CYLINDER
Honda VTR1000FA (00) MOTORCYCLE, JPN, VIN# JH2SC360-YM200001 TO JH2SC360-YM299999 FRONT BRAKE MASTER CYLINDER Diagram
#
Description
Price
5
HOSE, FR. BRAKE
45125-MBB-D01
Unavailable
11
MASTER CYLINDER SUB-ASSY., FR. (NISSIN)
45510-MW0-315
Unavailable
19
STAY, FR. MASTER CYLINDER
45550-KY2-006
Unavailable
33
BOLT, FLANGE (6X10) (NOT AVAILABLE)
96300-06010-07
Unavailable
