- Partiron
- OEM Parts
- Honda
- MOTORCYCLE
- 2012
- VT750RSAC (12) SHADOW RS, JPN, VIN# JH2RC581-CK200001
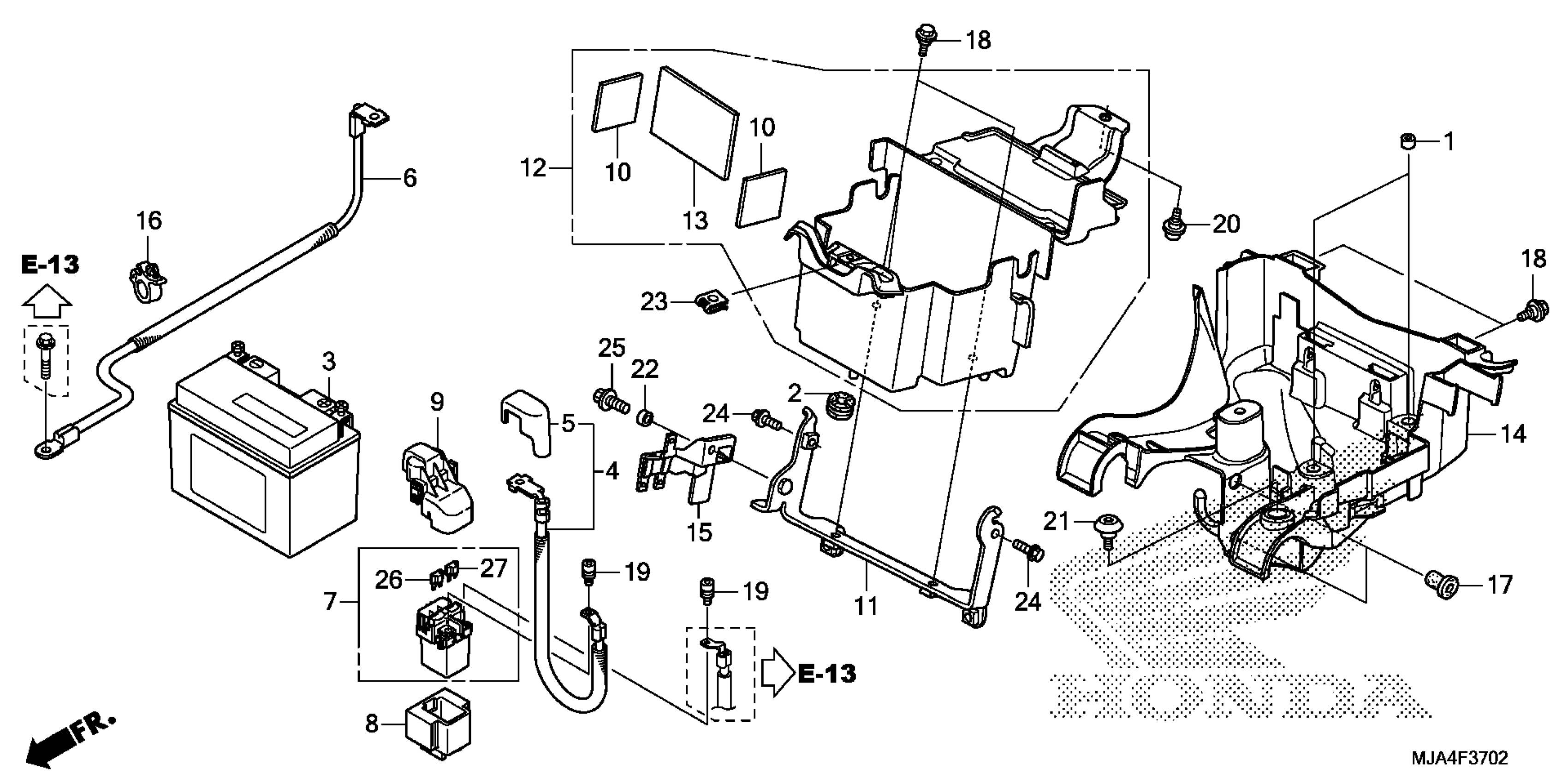
BATTERY (3)
Honda VT750RSAC (12) SHADOW RS, JPN, VIN# JH2RC581-CK200001 BATTERY (3) Diagram
#
Description
Price
BATTERY (3)
#
Edit ride
