- Partiron
- OEM Parts
- Honda
- MOTORCYCLE
- 2006
- VT750DCAA (06) SHADOW SPIRIT 750, JPN, VIN# JH2RC440-6M000001 TO JH2RC440-6M009999
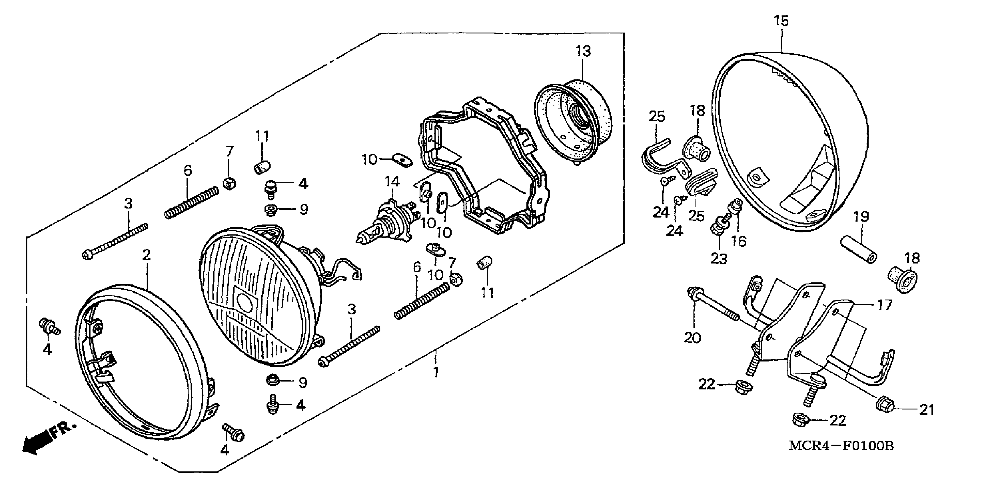
HEADLIGHT
Honda VT750DCAA (06) SHADOW SPIRIT 750, JPN, VIN# JH2RC440-6M000001 TO JH2RC440-6M009999 HEADLIGHT Diagram
#
Description
Price
17
STAY, HEADLIGHT
61313-MCR-D00
Unavailable
