- Partiron
- OEM Parts
- Honda
- MOTORCYCLE
- 2001
- VT750DCA (01) SHADOW SPIRIT 750, JPN, VIN# JH2RC440-1K400001 TO JH2RC440-1K449999
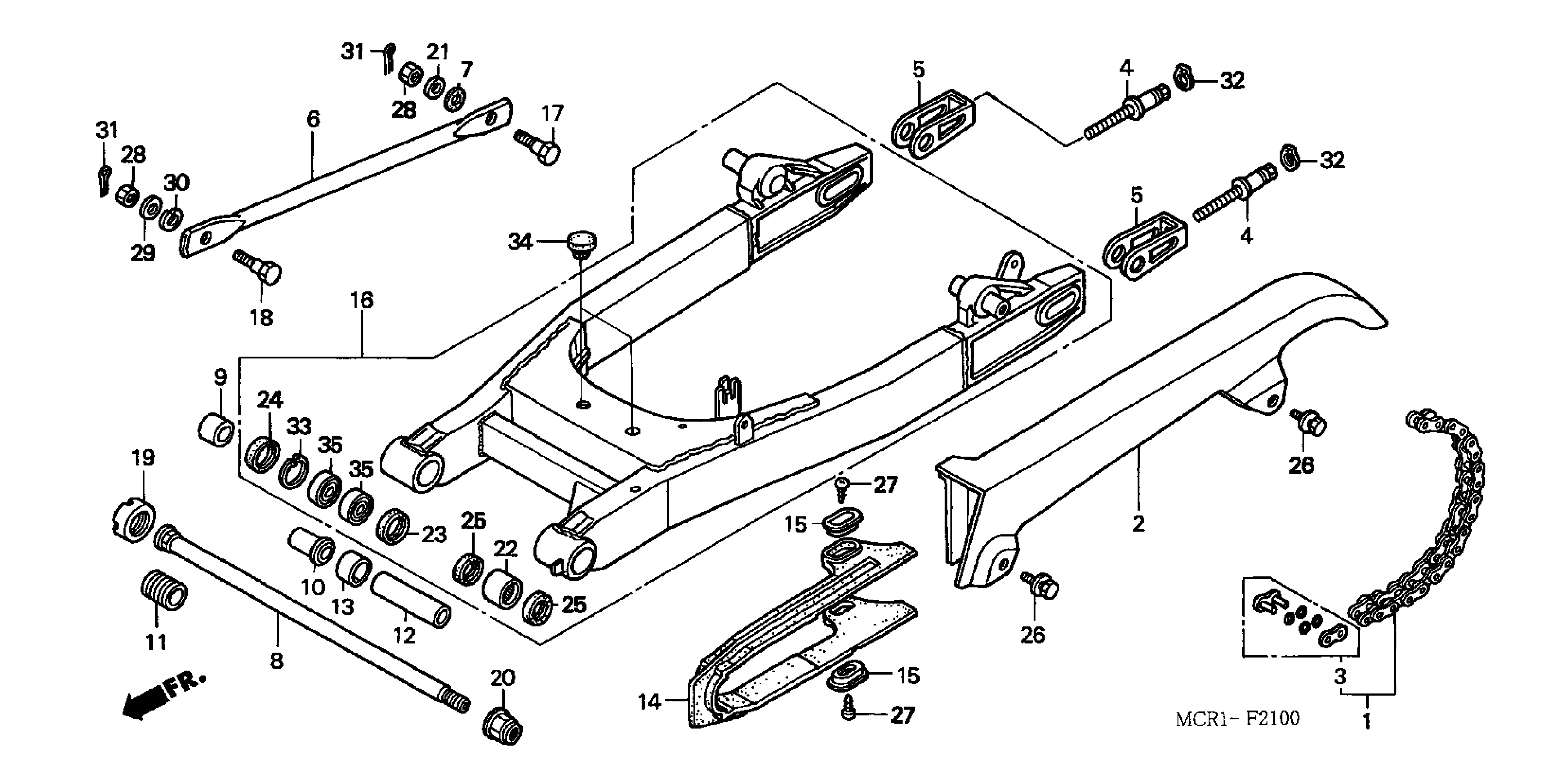
SWINGARM
Honda VT750DCA (01) SHADOW SPIRIT 750, JPN, VIN# JH2RC440-1K400001 TO JH2RC440-1K449999 SWINGARM Diagram
#
Description
Price
1
CHAIN SET, DRIVE(RK EXCEL) (RK525SMOZ5-122L-130L) (STANDARD LINK 124L) (STANDARD LINK 122L) (NA USE ALT:40540-MAY-005)
06405-MAY-P10
Unavailable
2
CASE, DRIVE CHAIN
40510-MBA-610
Unavailable
6
ARM, RR. BRAKE STOPPER
43431-MBA-J10
Unavailable
8
BOLT, SWINGARM PIVOT
52101-MN8-000
Unavailable
14
SLIDER, CHAIN
52170-MBA-000
Unavailable
21
WASHER, PLAIN (8MM)
90524-KFT-620
Unavailable
