- Partiron
- OEM Parts
- Honda
- MOTORCYCLE
- 2001
- VT750DCA (01) SHADOW SPIRIT 750, JPN, VIN# JH2RC440-1K400001 TO JH2RC440-1K449999
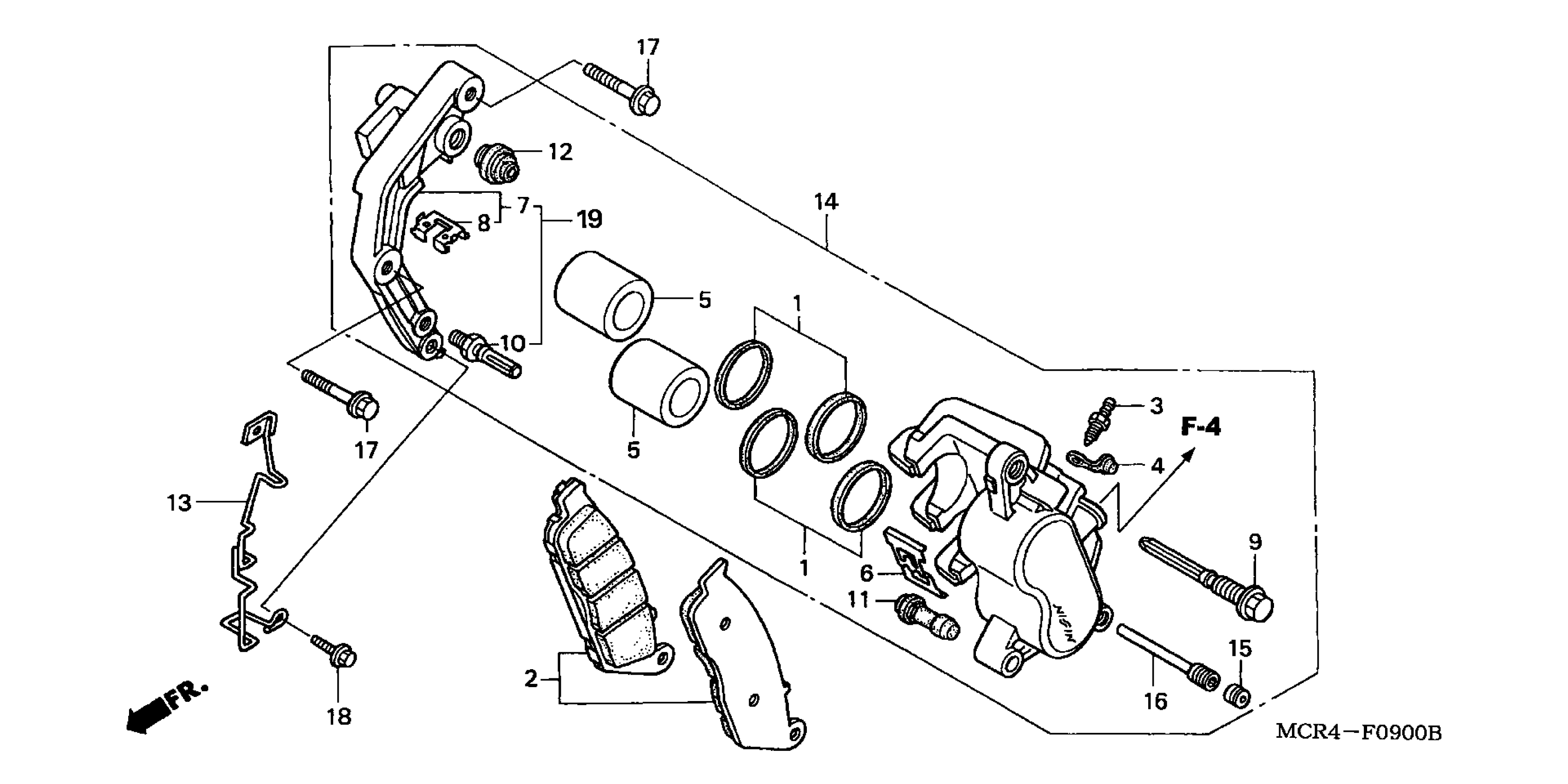
FRONT BRAKE CALIPER
Honda VT750DCA (01) SHADOW SPIRIT 750, JPN, VIN# JH2RC440-1K400001 TO JH2RC440-1K449999 FRONT BRAKE CALIPER Diagram
#
Description
Price
7
BRACKET, L. FR.
45110-MAH-672
Unavailable
