Partiron

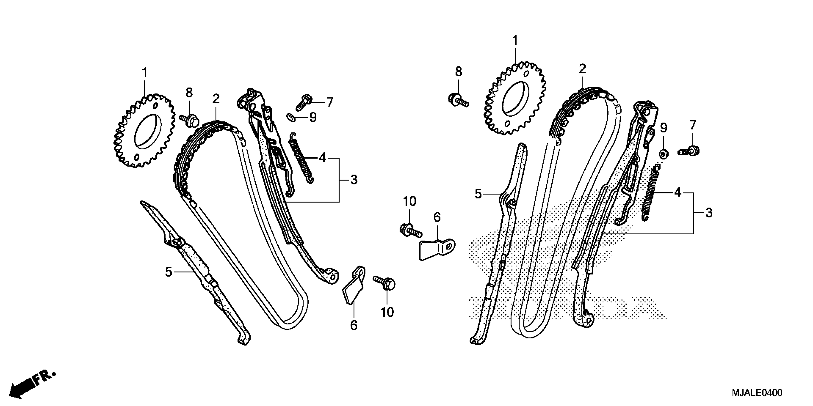
Honda VT750CAC (20) MOTORCYCLE, JPN, VIN# JH2RC501-LK600001 TO JH2RC501-LK699999 CAM CHAIN@TENSIONER Diagram

#

Description
Price

1

SPROCKET, CAM (40T)

14322-MCB-610

$56.36

2

CHAIN, CAM (118L) (BORG WARNER)

14401-MAN-621

$102.16

3

TENSIONER, CAM CHAIN

14510-MR1-000

$164.52

4

SPRING, CAM CHAIN TENSIONER (NIPPON HATSUJO)

14516-MG8-003

$4.78

5

GUIDE, CAM CHAIN

14522-MV1-000

$52.43

6

PLATE, TENSIONER SETTING

14623-MBA-000

$5.66

7

BOLT, FLANGE (6X18)

90001-MZ8-U40

$1.90

8

BOLT, SPECIAL FLANGE (7X13)

90086-MZ8-H00

$2.98

9

WASHER, SEALING (6MM)

90441-706-000

$1.49

10

BOLT, FLANGE (6X16) (Honda Code 2410892)

95701-06016-00

$1.55