- Partiron
- OEM Parts
- Honda
- MOTORCYCLE
- 1983
- VT750CA (83) SHADOW 750, JPN, VIN# JH2RC140-DM000035 TO JH2RC140-DM022807
AIR CLEANER
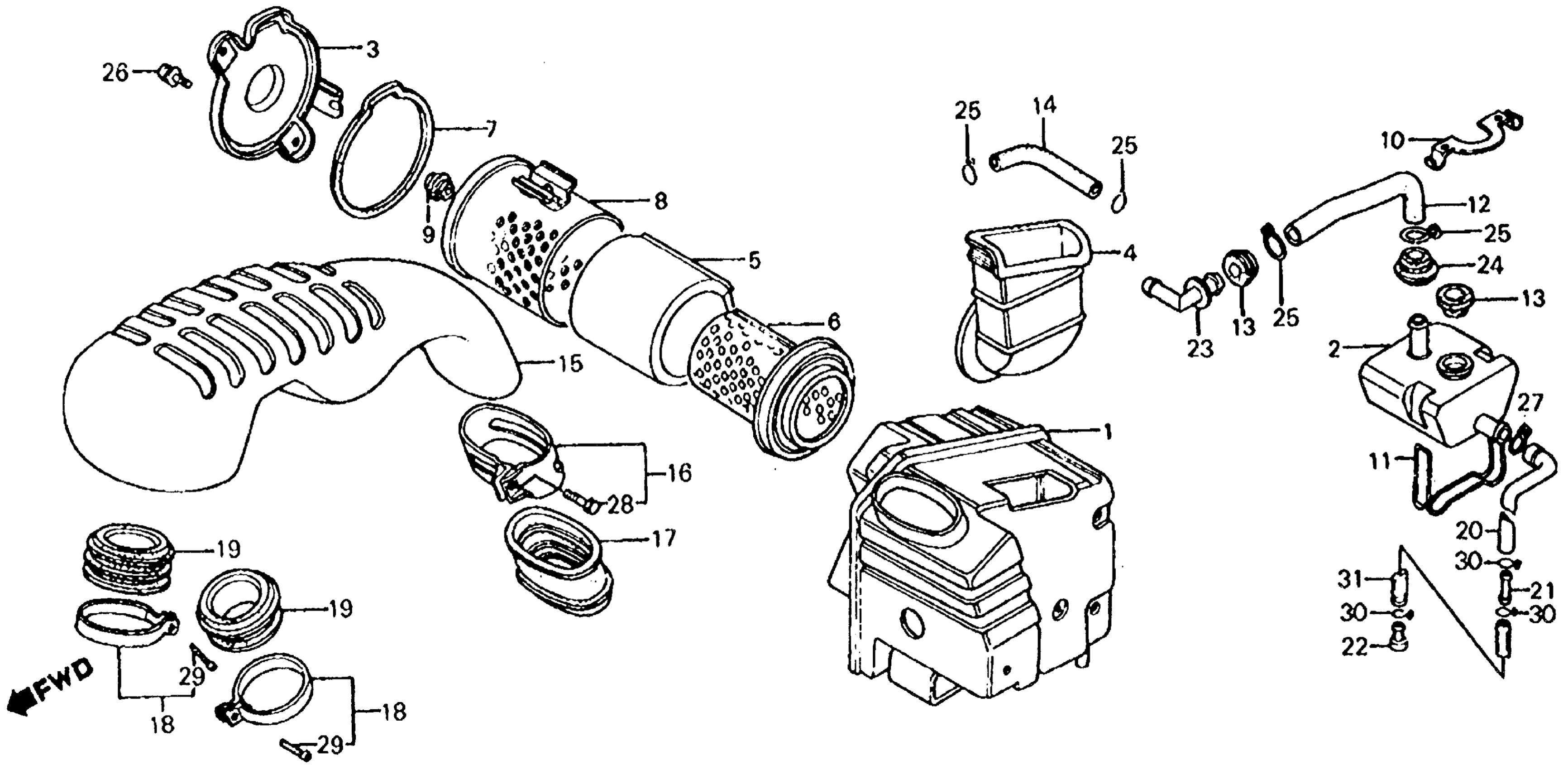
Honda VT750CA (83) SHADOW 750, JPN, VIN# JH2RC140-DM000035 TO JH2RC140-DM022807 AIR CLEANER Diagram
#
Description
Price
1
HOUSING, AIR CLEANER (NOT AVAILABLE) This part replaces 17210-ME9-000.
17210-ME9-010
Unavailable
1
HOUSING, AIR CLEANER (NOT AVAILABLE)
17210-ME9-010
Unavailable
2
TANK, STORAGE
17211-ME9-000
Unavailable
3
CAP, AIR CLEANER ELEMENT (NOT AVAILABLE)
17212-ME9-000
Unavailable
4
TUBE, AIR CLEANER DUCT (NOT AVAILABLE)
17213-ME9-670
Unavailable
6
HOLDER, ELEMENT (NOT AVAILABLE)
17216-ME9-000
Unavailable
7
SEAL, AIR CLEANER CAP (NOT AVAILABLE)
17217-ME9-000
Unavailable
8
PROTECTOR, ELEMENT (NOT AVAILABLE)
17218-ME9-000
Unavailable
9
GROMMET, AIR CLEANER ELEMENT (NOT AVAILABLE)
17221-ME9-000
Unavailable
10
HOOK, STORAGE TANK
17223-ME9-000
Unavailable
11
HANGER, STORAGE TANK
17224-ME9-000
Unavailable
12
TUBE, BREATHER
17225-ME9-000
Unavailable
13
GROMMET, TUBE
17227-ME9-300
Unavailable
14
TUBE, ENGINE BREATHER
17228-ME9-000
Unavailable
15
CHAMBER, AIR CLEANER (NOT AVAILABLE)
17251-ME9-000
Unavailable
16
BAND, AIR CLEANER (NOT AVAILABLE)
17254-ME9-000
Unavailable
17
TUBE, AIR CLEANER CONNECTING (NOT AVAILABLE)
17255-ME9-000
Unavailable
19
TUBE, AIR CLEANER CHAMBER CONNECTING (NOT AVAILABLE)
17257-ME9-300
Unavailable
20
TUBE, DRAIN
17335-ME9-000
Unavailable
23
JOINT, BREATHER TUBE
17402-ME9-000
Unavailable
26
SCREW, TORUS (6X7)
90102-673-003
Unavailable
31
BULK HOSE, VINYL (8X12X8000) (8X12X100)
95003-23008-60M
Unavailable
