- Partiron
- OEM Parts
- Honda
- MOTORCYCLE
- 2017
- VT750C2BA (17) MOTORCYCLE, JPN, VIN# JH2RC537-HK700001
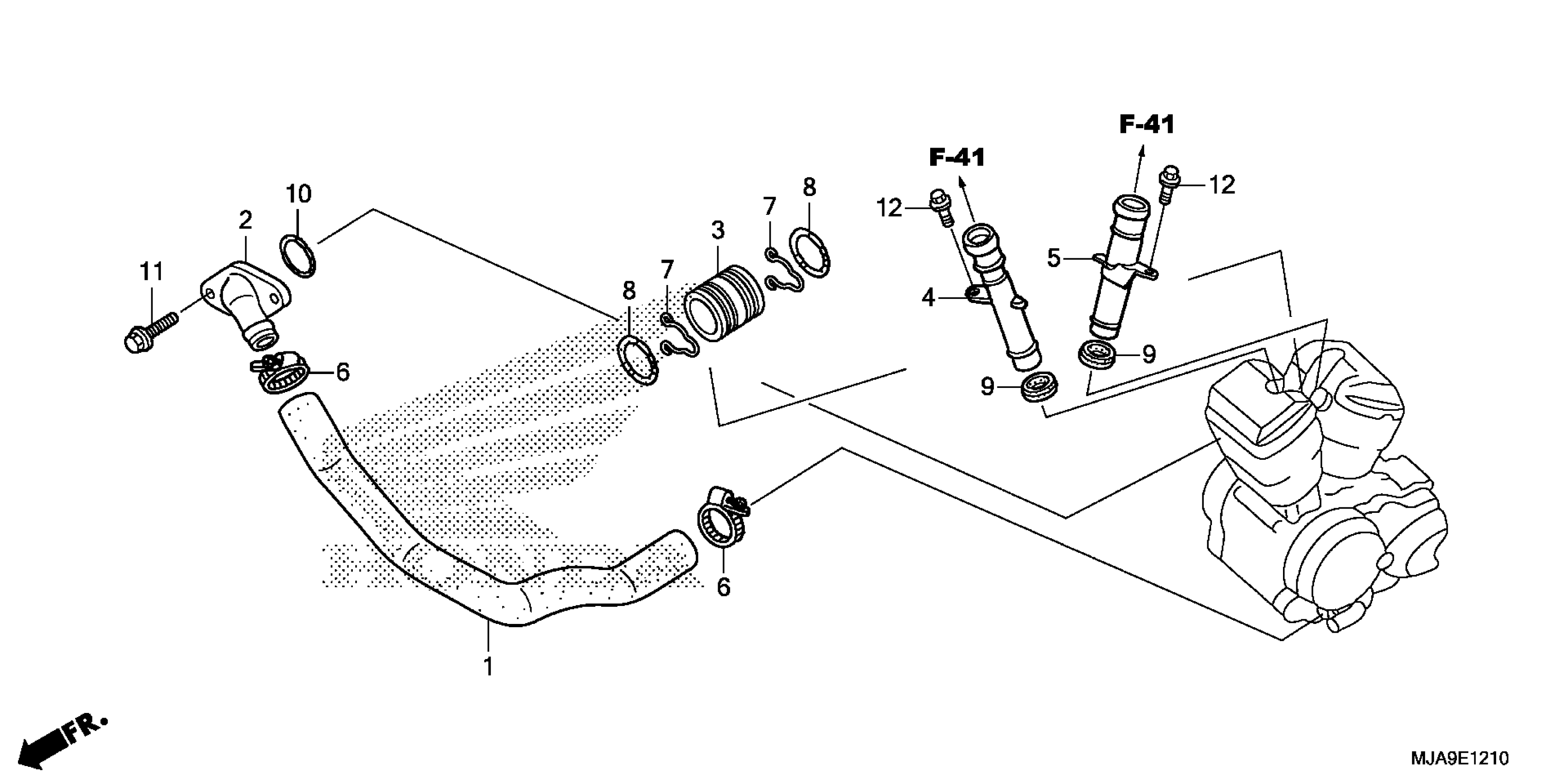
WATER PIPE
Honda VT750C2BA (17) MOTORCYCLE, JPN, VIN# JH2RC537-HK700001 WATER PIPE Diagram
#
Description
Price
WATER PIPE
#
Edit ride
