- Partiron
- OEM Parts
- Honda
- MOTORCYCLE
- 1987
- VT700CA (87) SHADOW, JPN, VIN# JH2RC190-HM300001 TO JH2RC190-HM303205
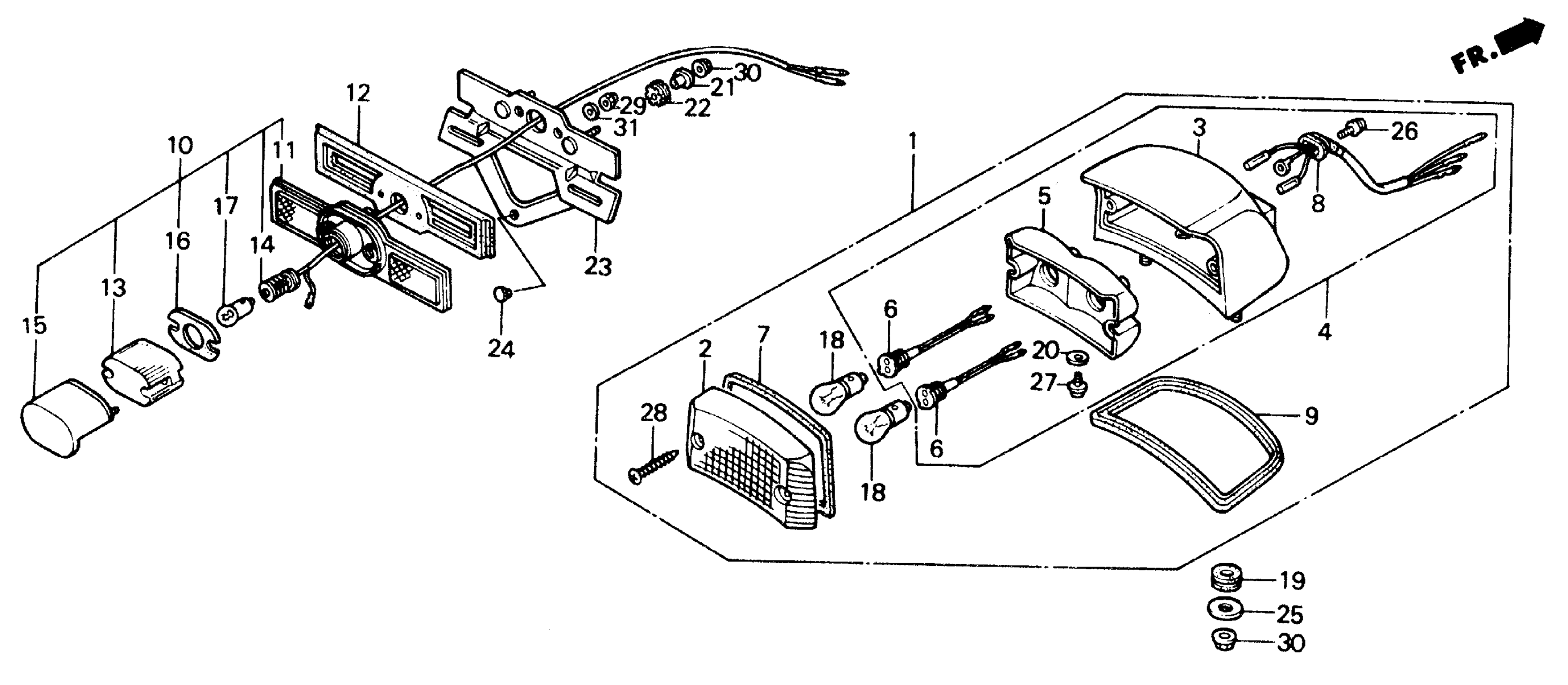
TAILLIGHT 87
Honda VT700CA (87) SHADOW, JPN, VIN# JH2RC190-HM300001 TO JH2RC190-HM303205 TAILLIGHT 87 Diagram
#
Description
Price
1
TAILLIGHT UNIT (12V 32/2CP) (NOT AVAILABLE)
33701-MK7-771
Unavailable
2
LENS, TAILLIGHT (NOT AVAILABLE)
33702-MM2-003
Unavailable
3
BASE, TAILLIGHT (NOT AVAILABLE)
33703-MM2-003
Unavailable
4
BASE, TAILLIGHT (NOT AVAILABLE)
33704-MK7-771
Unavailable
5
REFLECTOR, TAILLIGHT (NOT AVAILABLE)
33705-MM2-671
Unavailable
6
WIRE, TAILLIGHT (NOT AVAILABLE)
33706-MM2-003
Unavailable
8
SUB-WIRE, TAILLIGHT (NOT AVAILABLE)
33711-MK7-771
Unavailable
10
LIGHT ASSY., LICENSE
33720-MF5-670
Unavailable
10
LIGHT ASSY., LICENSE This part replaces 33720-MK7-671.
33720-MF5-670
Unavailable
12
GASKET, LICENSE LIGHT
33721-ME9-000
Unavailable
14
WIRE, LICENSE
33725-MK7-671
Unavailable
15
COVER, LICENSE
33727-MF5-621
Unavailable
19
RUBBER, RESISTOR SETTING (NOT AVAILABLE)
34931-MC7-000
Unavailable
20
WASHER, PLAIN (5.5MM)
37314-061-810
Unavailable
21
COLLAR, LICENSE BRACKET (NOT AVAILABLE)
61104-MK7-000
Unavailable
23
BRACKET, NUMBER PLATE This part replaces 84701-MK7-000.
84701-MR6-670
Unavailable
23
BRACKET, NUMBER PLATE
84701-MR6-670
Unavailable
27
SCREW-WASHER (5X14)
93892-05014-00
Unavailable
27
SCREW-WASHER (5X14) This part replaces 93892-05014-10.
93892-05014-00
Unavailable
29
NUT, CAP (4MM)
94021-04020-0S
Unavailable
