Partiron

Yamaha VT600A (VENTURE 600) 8CW1 1997 TAILLIGHT Diagram

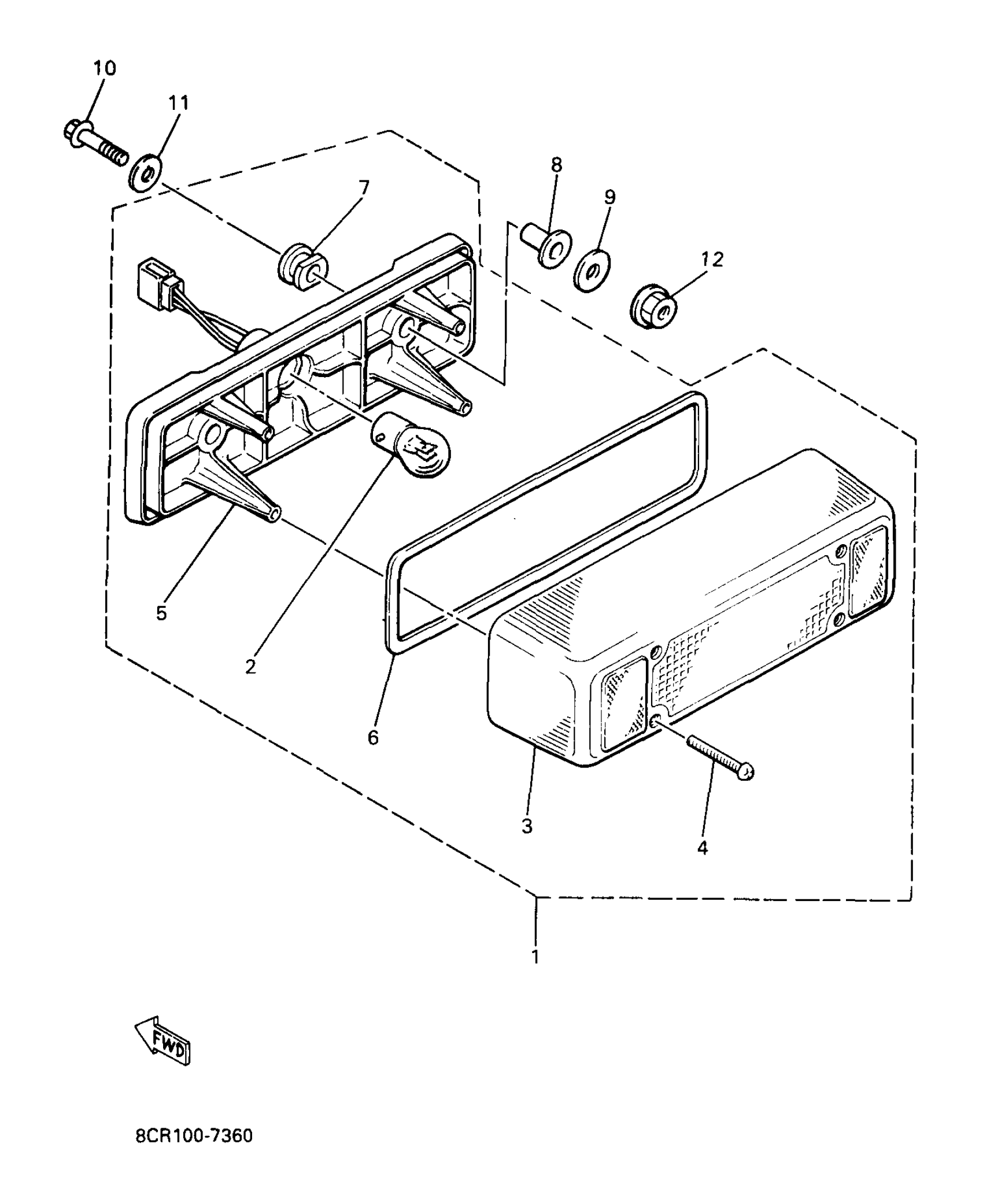
#

Description
Price

1

TAILLIGHT UNIT ASSY

82M-84710-01-00

Unavailable

2

BULB(12V32/3CP)1157

137-84714-61-XX

Unavailable

3

LENS, TAILLIGHT

8K4-84721-01-00

$43.99

4

YBS83-430 SCREW,PANH. TAPPING

97780-40130-00

$8.49

5

BASE, TAILLIGHT

82M-84711-01-00

Unavailable

6

SEAL

3TJ-14457-00-00

Unavailable

7

GROMMET

8K4-84718-00-00

$2.02

8

COLLAR

90387-06166-00

$12.49

9

WASHER, PLATE

90201-06747-00

$8.49

10

BOLT(8BC)

97017-06040-00

$9.49

11

WASHER PLATE 137241870000

90201-06072-00

$9.49

12

NUT, FLANGE(4MV)

95707-06500-00

$1.23