- Partiron
- OEM Parts
- Yamaha
- snowmobile
- 2006
- VT500XLL (VENTURE XL) 8DX8 2006
ELECTRICAL 1
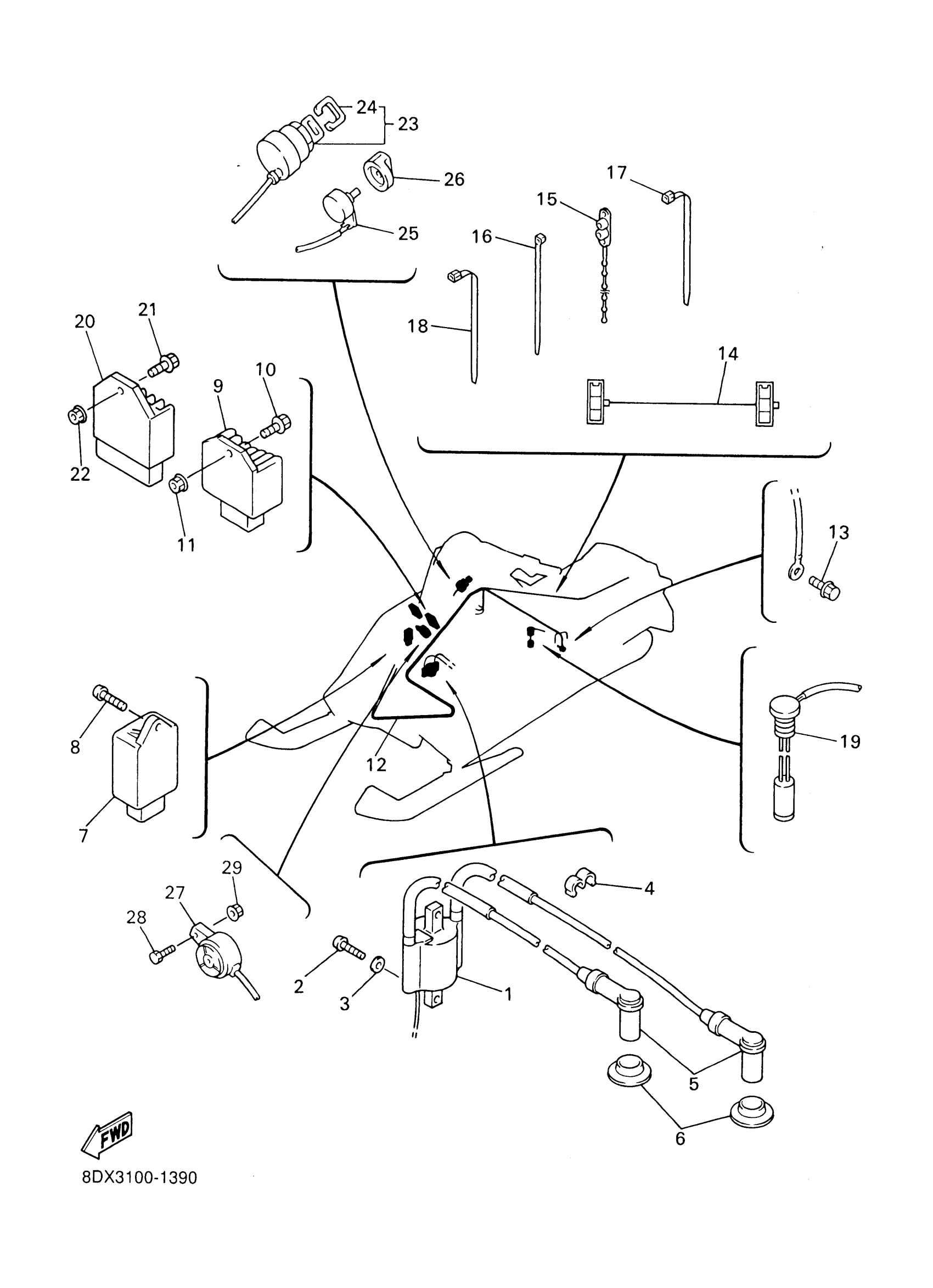
Yamaha VT500XLL (VENTURE XL) 8DX8 2006 ELECTRICAL 1 Diagram
#
Description
Price
7
C.D.I. UNIT ASSY
8DJ-85540-00-00
Unavailable
8
SCREW, TAPPING(65J)
97780-60625-00
Unavailable
9
RECTIFIER & REGULATOR ASSY
8DX-81960-00-00
Unavailable
12
WIRE HARNESS ASSY
8DX-82590-00-00
Unavailable
14
WIRE, LEAD
8CR-8471G-00-00
Unavailable
15
CLAMP
90464-20031-00
Unavailable
16
CLAMP(4FM)
90464-15195-00
Unavailable
17
CLAMP(4FM)
90464-15195-00
Unavailable
18
CLAMP
90464-13077-00
Unavailable
19
OIL LEVEL GAUGE ASSY
8CR-85720-02-00
Unavailable
20
VOLTAGE REGULATOR ASSY
8AB-81910-00-00
Unavailable
23
MAIN SWITCH ASSY
8AB-82510-01-00
Unavailable
24
CAP, KEY
526-82579-00-00
Unavailable
25
RESISTOR, VARIABLE
8CR-87283-00-00
Unavailable
26
KNOB, VARIABLE RESISTOR
8AB-87284-00-00
Unavailable
27
BUZZER
8CW-83383-00-00
Unavailable
28
BOLT(3JK)
97027-05020-00
Unavailable
29
NUT, FLANGE(3GM)
95707-05500-00
Unavailable
