- Partiron
- OEM Parts
- Yamaha
- snowmobile
- 2000
- VT500XLD (VENTURE XL) 8DX2 2000
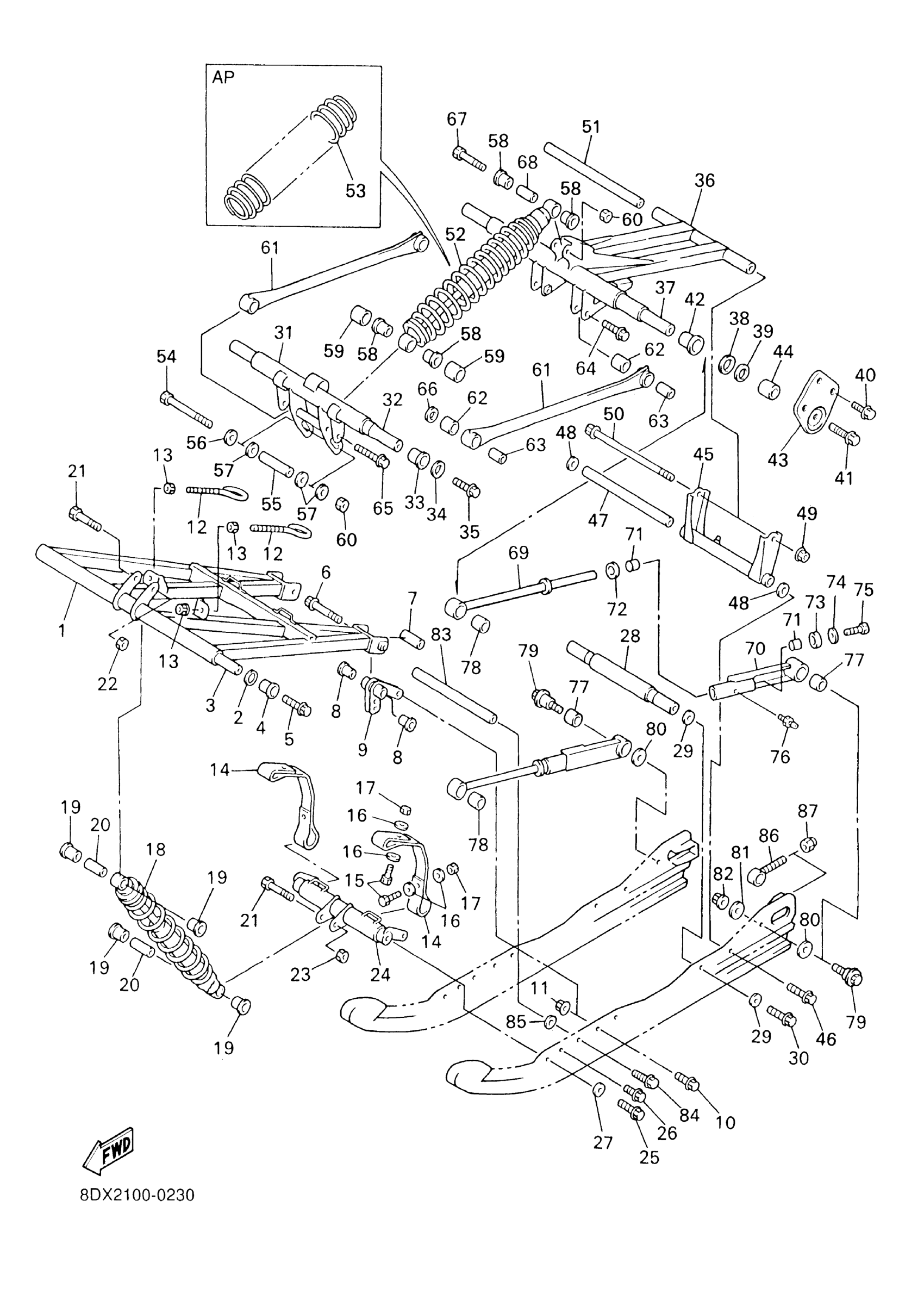
TRACK SUSPENSION 2
Yamaha VT500XLD (VENTURE XL) 8DX2 2000 TRACK SUSPENSION 2 Diagram
#
1
ARM, PIVOT 1
8CV-47331-01-00
Unavailable
3
SHAFT 1
8CR-47465-00-00
Unavailable
9
BRACKET 1
8CR-47415-00-00
Unavailable
16
WASHER, PLATE
90201-06747-00
Unavailable
17
NUT, NYLON
95707-06300-00
Unavailable
18
SHOCK ABSORBER 2
8DX-47481-00-00
Unavailable
19
COLLAR (8U7)
90387-145G7-00
Unavailable
20
COLLAR (8U7)
90387-105G5-00
Unavailable
21
BOLT(88R)
90101-10738-00
Unavailable
22
NUT, SELF LOCKING (23X)
90185-10120-00
Unavailable
23
NUT, U
95617-10100-00
Unavailable
24
BRACKET 4
8EA-47418-00-00
Unavailable
25
BOLT, FLANGE
95817-10030-00
Unavailable
26
BOLT, FLANGE(8AB)
95817-08020-00
Unavailable
27
WASHER, PLATE (4X7)
90201-105A2-00
Unavailable
28
SHAFT 4
84J-47486-00-00
Unavailable
29
WASHER, PLATE (17K)
90201-106F2-00
Unavailable
30
BOLT, FLANGE
95817-10030-00
Unavailable
31
BRACKET 2
8CR-47416-10-00
Unavailable
32
SHAFT 6
8CR-47488-00-00
Unavailable
33
BUSH, SOLID(8CM)
90381-22099-00
Unavailable
34
WASHER, PLATE(1KE)
90201-207J5-00
Unavailable
36
ARM, PIVOT 2
8CR-47332-10-00
Unavailable
37
SHAFT 2
8CY-47475-01-00
Unavailable
38
WASHER, PLATE (8V2)
90201-251G8-00
Unavailable
39
WASHER, PLATE(8CJ)
90201-250T6-00
Unavailable
40
BOLT, FLANGE(8AB)
95817-08020-00
Unavailable
41
BOLT, FLANGE
95817-10030-00
Unavailable
42
BUSH, SOLID(8CJ)
90381-28108-00
Unavailable
43
BRACKET, REAR 2
8CW-47425-00-00
Unavailable
44
COLLAR
90387-2510A-00
Unavailable
45
BRACKET 3
8CR-47417-01-00
Unavailable
46
BOLT, FLANGE
95817-10030-00
Unavailable
47
SHAFT 3
82M-47485-02-00
Unavailable
48
WASHER PLATE (789)
90201-10136-00
Unavailable
49
NUT, SELF-LOCKING
90185-08169-00
Unavailable
50
BOLT, FLANGE
95827-08220-00
Unavailable
51
COLLAR (8U7)
90387-083G6-00
Unavailable
52
SHOCK ABSORBER
8DX-47480-00-00
Unavailable
53
SPRING 1
8CW-47489-00-00
Unavailable
54
BOLT, ADJUSTING
8AC-4631K-00-00
Unavailable
55
COLLAR(8CJ)
90387-1009S-00
Unavailable
56
WASHER, PLATE
90201-10039-00
Unavailable
57
WASHER, PLATE(8BT)
90201-100U1-00
Unavailable
58
BUSH, SOLID(8CM)
90381-14101-00
Unavailable
59
COLLAR(8CM)
90387-1404R-00
Unavailable
60
NUT, U
95617-10100-00
Unavailable
61
ROD, RELAY
8CR-47494-01-00
Unavailable
62
BUSH, SOLID(8CJ)
90381-14109-00
Unavailable
63
COLLAR(87A)
90387-100X3-00
Unavailable
64
BOLT, FLANGE
95817-10035-00
Unavailable
65
BOLT, FLANGE
95814-10040-00
Unavailable
66
WASHER, PLATE(8BT)
90201-100U1-00
Unavailable
67
BOLT(88R)
90101-10738-00
Unavailable
68
COLLAR (8U7)
90387-105G5-00
Unavailable
69
ROD, CONTROL 1
8CR-4745A-01-00
Unavailable
70
ROD, CONTROL 2
8CR-4745B-00-00
Unavailable
71
BUSH, BIMETAL FORMED(8CJ)
90384-16251-00
Unavailable
72
WASHER, PLATE(8CJ)
90202-16229-00
Unavailable
73
WASHER, PLATE(8BT)
90202-16230-00
Unavailable
74
WASHER, PLATE (17K)
90201-106F2-00
Unavailable
75
BOLT(6TD)
97017-10025-00
Unavailable
76
NIPPLE, GREASE
93700-06M03-00
Unavailable
77
BUSH, SOLID(8CM)
90380-22232-00
Unavailable
78
BUSH, SOLID(8CJ)
90380-28235-00
Unavailable
79
SCREW, REAR PIVOT
8DF-47367-09-00
Unavailable
80
WASHER, PLATE(JN9)
90201-100S2-00
Unavailable
81
WASHER, PLATE
90201-101U2-00
Unavailable
83
SHAFT 3
82M-47485-02-00
Unavailable
84
BOLT, FLANGE
95817-10030-00
Unavailable
85
WASHER, PLATE (26H)
90201-102G9-00
Unavailable
86
COLLAR 3
8K2-47479-01-00
Unavailable
87
NUT, NYLON
95707-10300-00
Unavailable
