- Partiron
- OEM Parts
- Yamaha
- snowmobile
- 1996
- VT480TRW (VENTURE TR) 8CK1 1996
TRACK SUSPENSION 1
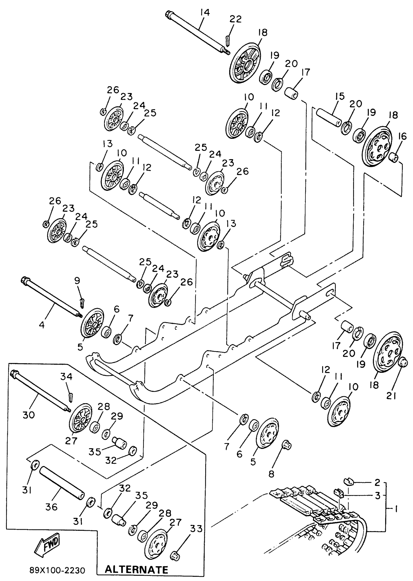
Yamaha VT480TRW (VENTURE TR) 8CK1 1996 TRACK SUSPENSION 1 Diagram
#
Description
Price
1
TRACK ASY
8BN-47110-10-00
Unavailable
3
METAL, SLIDE
89A-47115-01-00
Unavailable
4
SHAFT 5 (80X-47487-00-00)
90891-50061-00
Unavailable
15
COLLAR
90387-202X4-00
Unavailable
16
COLLAR
90387-202X5-00
Unavailable
17
COLLAR(88Y)
90387-204X2-00
Unavailable
18
GUIDE WHEEL COMP.
8K2-47530-00-00
Unavailable
19
BEARING(8AE)
93306-20469-00
Unavailable
20
CIRCLIP(48Y)
99009-47500-00
Unavailable
23
SUSPENSION WHEEL COMP.
8H8-47320-00-00
Unavailable
30
SHAFT 5
82M-47487-00-00
Unavailable
31
WASHER, PLATE
90201-164P0-00
Unavailable
32
WASHER, PLATE(33Y)
90201-164H4-00
Unavailable
35
COLLAR
90387-166M8-00
Unavailable
36
COLLAR
90387-160M7-00
Unavailable
