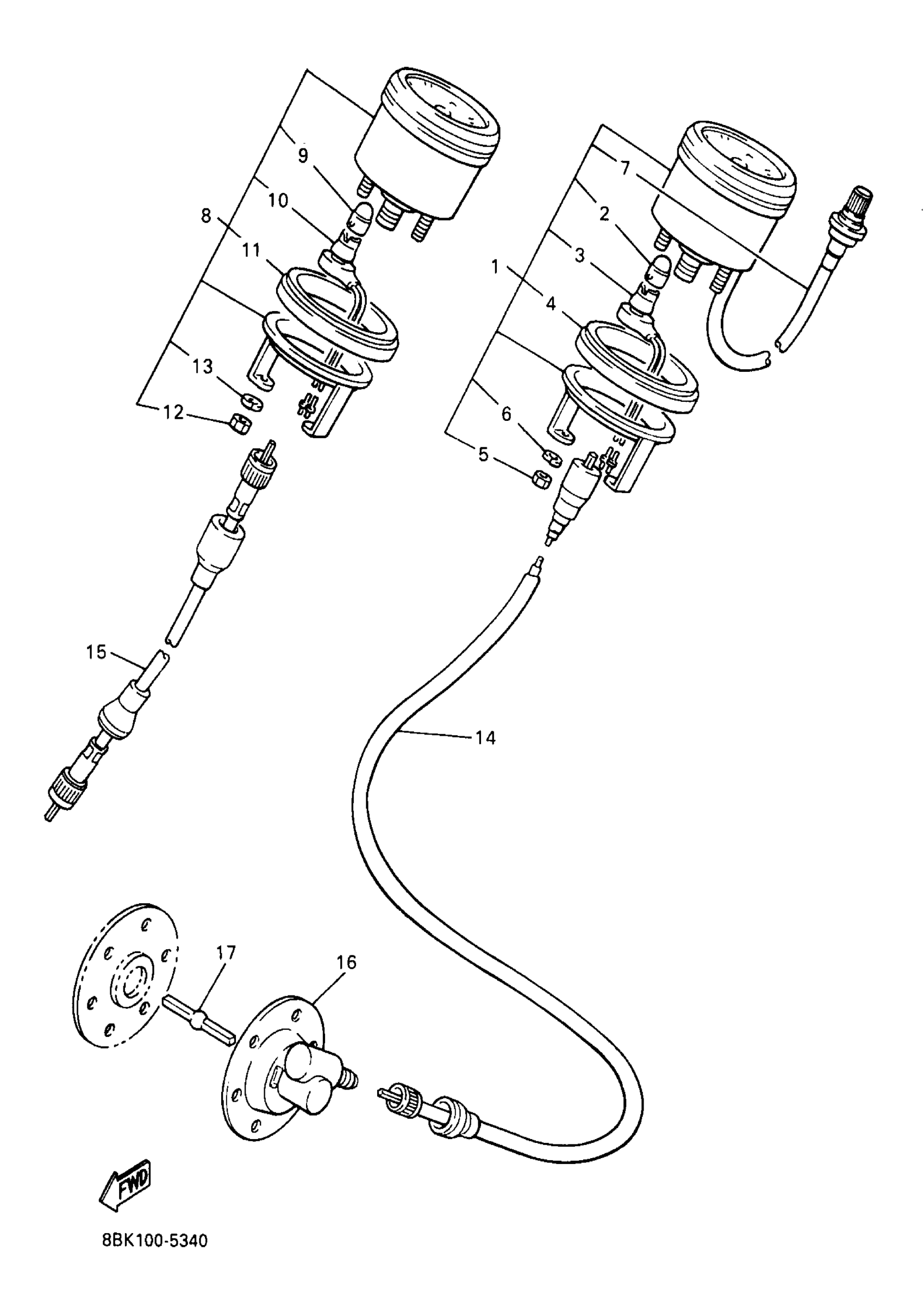
Yamaha VT480TRA (VENTURE TR) 8CK2 1997 METER Diagram
#
Description
Price
1
SPEEDOMETER ASSY (MILE/H)
88T-83510-40-00
Unavailable
2
BULB, MTR.12V3.4W
4G1-84744-00-XX
Unavailable
4
DAMPER
88T-83523-00-00
Unavailable
7
TRIP METER CABLE ASSY
8K1-83603-01-00
Unavailable
8
TACHOMETER ASSEMBLY
88T-83540-00-00
Unavailable
9
BULB, MTR.12V3.4W
4G1-84744-00-XX
Unavailable
11
DAMPER
88T-83523-00-00
Unavailable
14
SPEEDOMETER CABLE ASSEMBLY
85N-83550-01-00
Unavailable
15
TACHOMETER CABLE ASSEMBLY
88T-83560-00-00
Unavailable
16
METER GEAR HOUSING COMP.
8L8-47700-00-00
Unavailable
17
JOINT
8K4-47715-00-00
Unavailable
