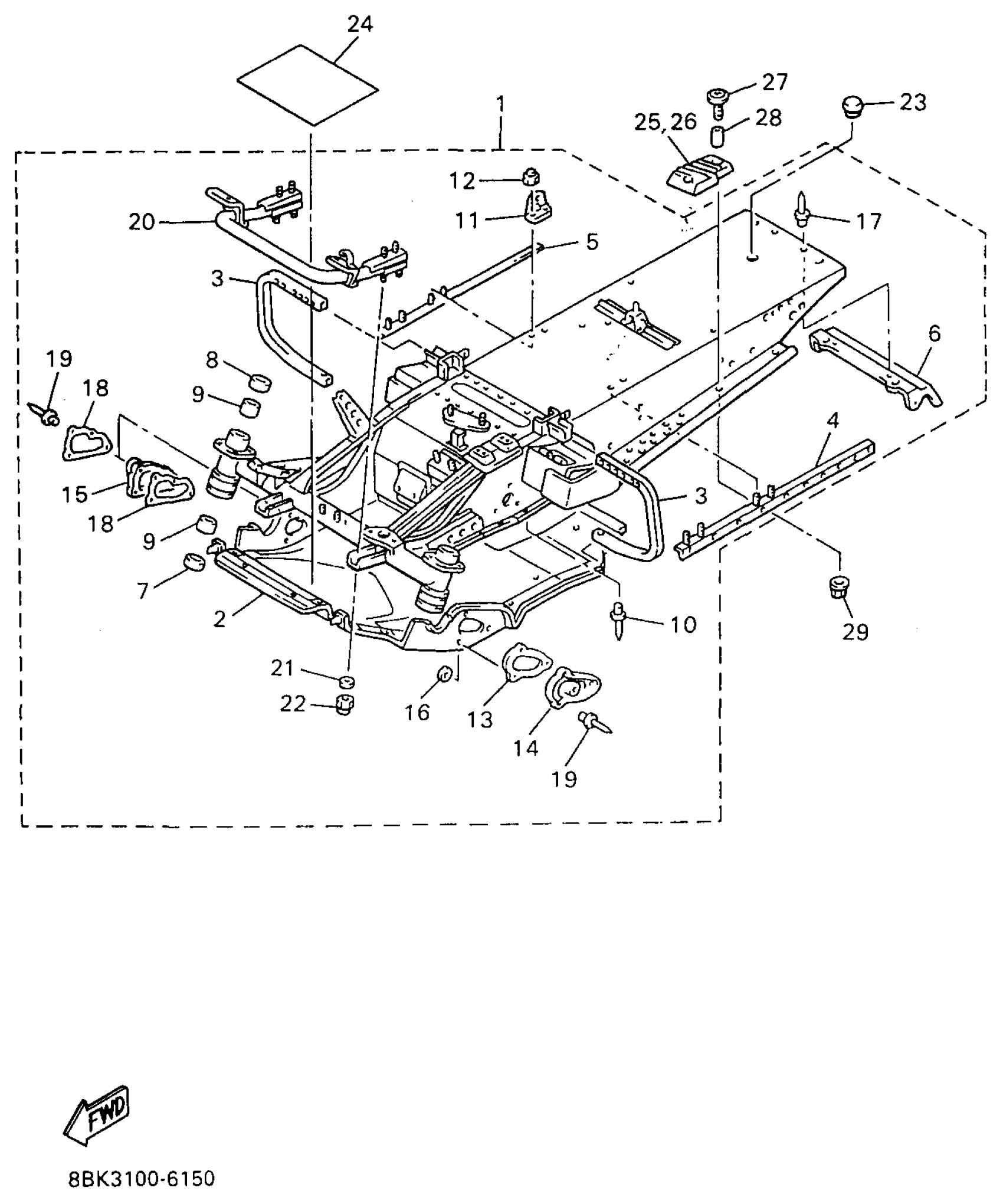
Yamaha VT480A (VENTURE XL) 8BK4 1997 FRAME Diagram
#
Description
Price
1
FRAME
89U-21910-00-00
Unavailable
2
BELLY PAN
87F-21912-00-00
Unavailable
3
. REINFORCEMENT, FOOTREST 1
8V0-21926-01-00
Unavailable
4
. PATCH 4
87G-21964-00-00
Unavailable
5
. PATCH 5
87G-21965-00-00
Unavailable
6
REINEFORCEMENT, FRAME REAR 1
8V0-21923-01-00
Unavailable
11
. BRACKET, SEAT FITTING
8V0-21946-00-00
Unavailable
15
. COVER 2
80L-2198G-00-00
Unavailable
16
. WASHER, PLATE (90201-04325-00 )
90201-044R6-00
Unavailable
17
RIVET(89R)
90269-04044-00
Unavailable
18
. WASHER 2
80L-77526-00-00
Unavailable
19
RIVET, BLIND
90267-40029-00
Unavailable
20
. BUMPER, FRONT 2
8CK-77512-00-00
Unavailable
21
WASHER, PLATE (3Y6)
90201-083A6-00
Unavailable
22
NUT, NYLON
95717-08300-00
Unavailable
23
ORNAMENT, INSTRUMENT PANEL 2
810-77716-00-00
Unavailable
24
SHIELD, HEAT
87F-2199H-00-00
Unavailable
25
FOOTREST, REAR 1
88T-27431-10-00
Unavailable
26
FOOTREST, REAR 2
88T-27441-10-00
Unavailable
27
SCREW, BINDING
98907-06025-00
Unavailable
28
COLLAR
90387-06158-00
Unavailable
29
NUT, FLANGE(4MV)
95707-06500-00
Unavailable
