- Partiron
- OEM Parts
- Honda
- MOTORCYCLE
- 2015
- VT1300CXA2AC (15) MOTORCYCLE, JPN, VIN# JH2SC618-FK400001
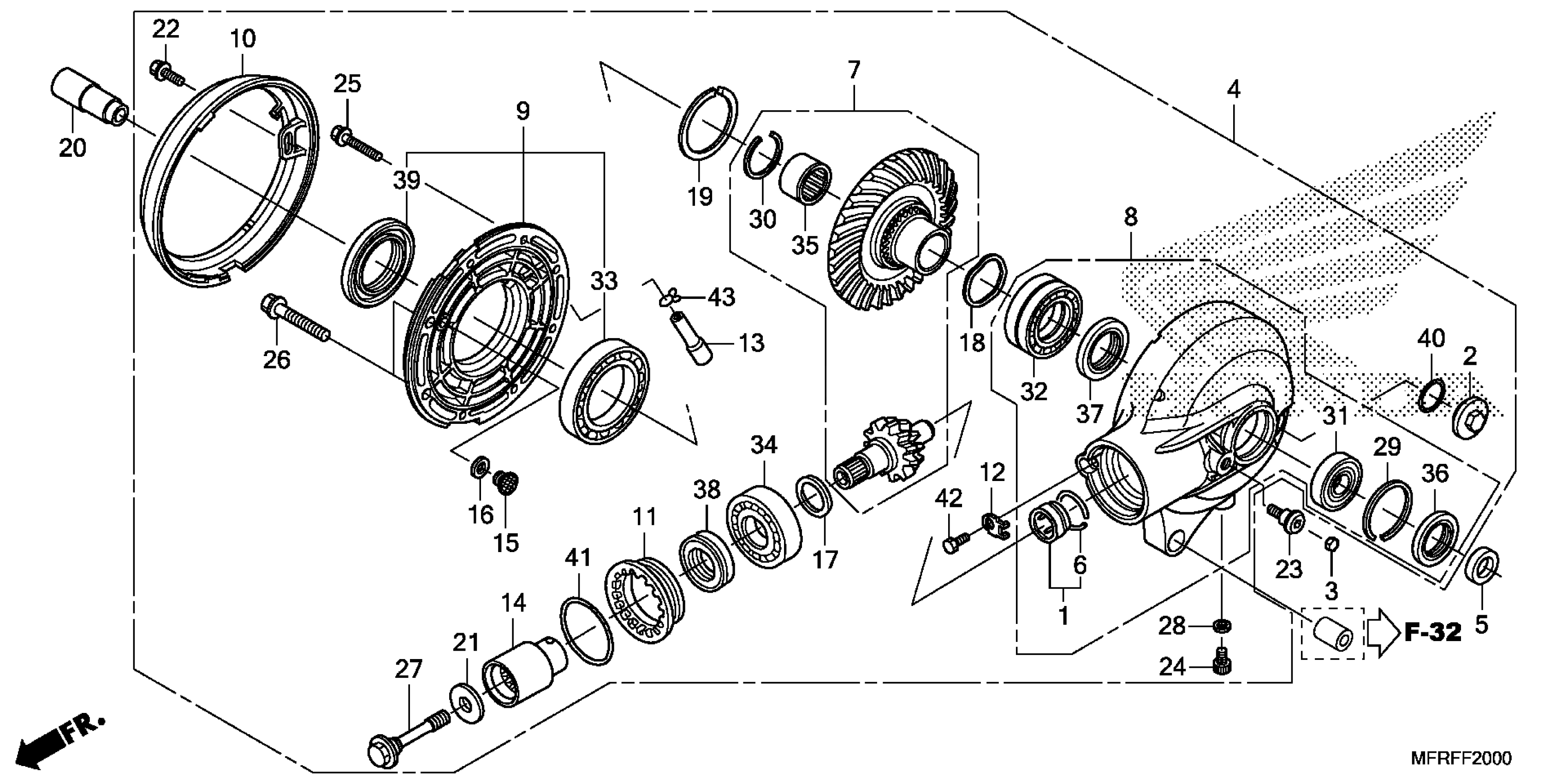
FINAL DRIVEN GEAR
Honda VT1300CXA2AC (15) MOTORCYCLE, JPN, VIN# JH2SC618-FK400001 FINAL DRIVEN GEAR Diagram
#
Description
Price
2
CAP, VALVE ADJ. This part replaces 12361-035-000.
12361-300-000
Unavailable
