- Partiron
- OEM Parts
- Honda
- MOTORCYCLE
- 2012
- VT1300CRA (12) VT1300, JPN, VIN# JH2SC660-CK200001
FINAL DRIVEN GEAR
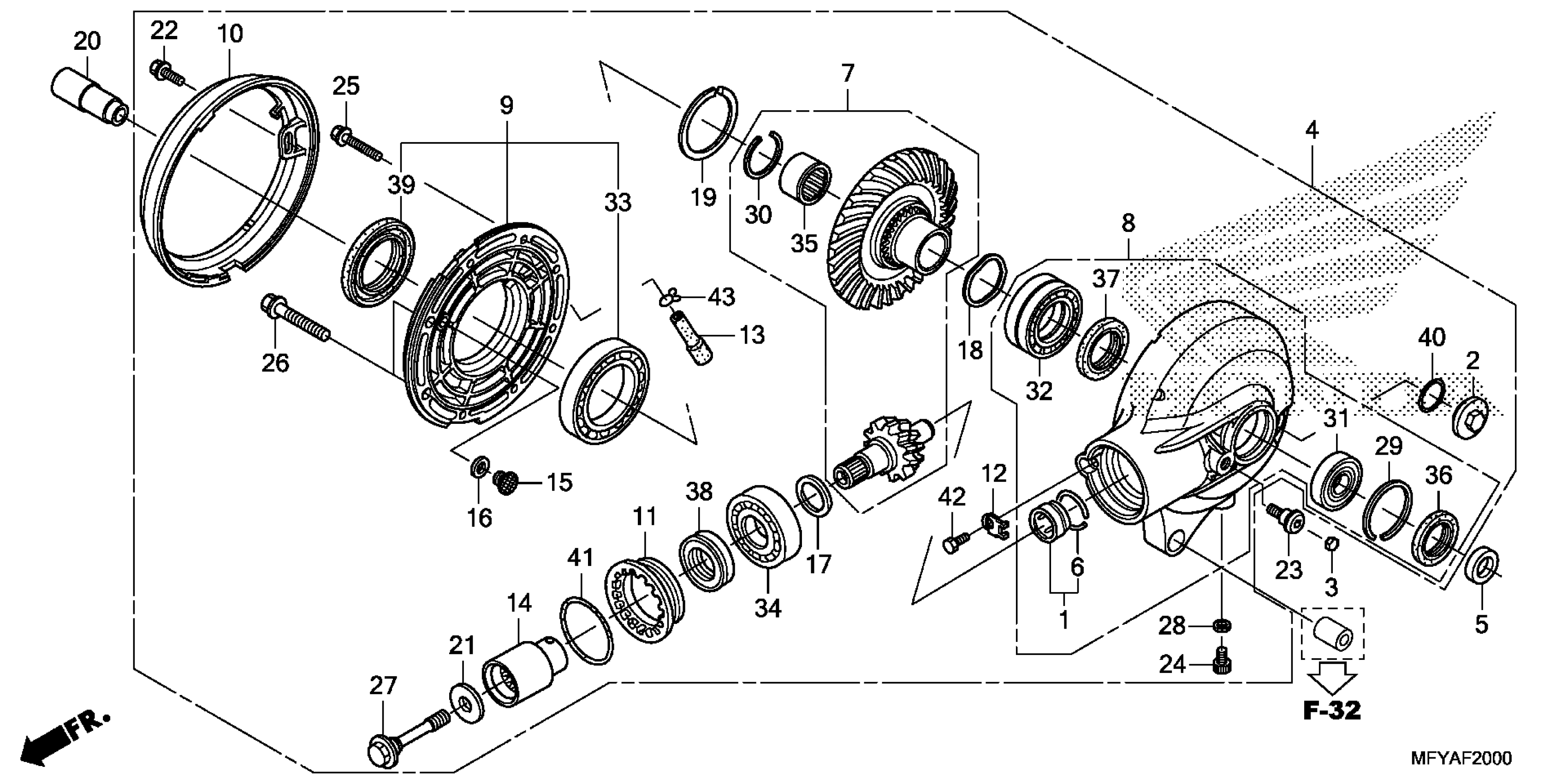
Honda VT1300CRA (12) VT1300, JPN, VIN# JH2SC660-CK200001 FINAL DRIVEN GEAR Diagram
#
Description
Price
2
CAP, VALVE ADJ. This part replaces 12361-035-000.
12361-300-000
Unavailable
4
GEAR ASSY., FINAL
41300-MFR-670
Unavailable
