- Partiron
- OEM Parts
- Honda
- MOTORCYCLE
- 2005
- VT1100CA (05) SHADOW SPIRIT, USA, VIN# 1HFSC180-5A900001
MUFFLER
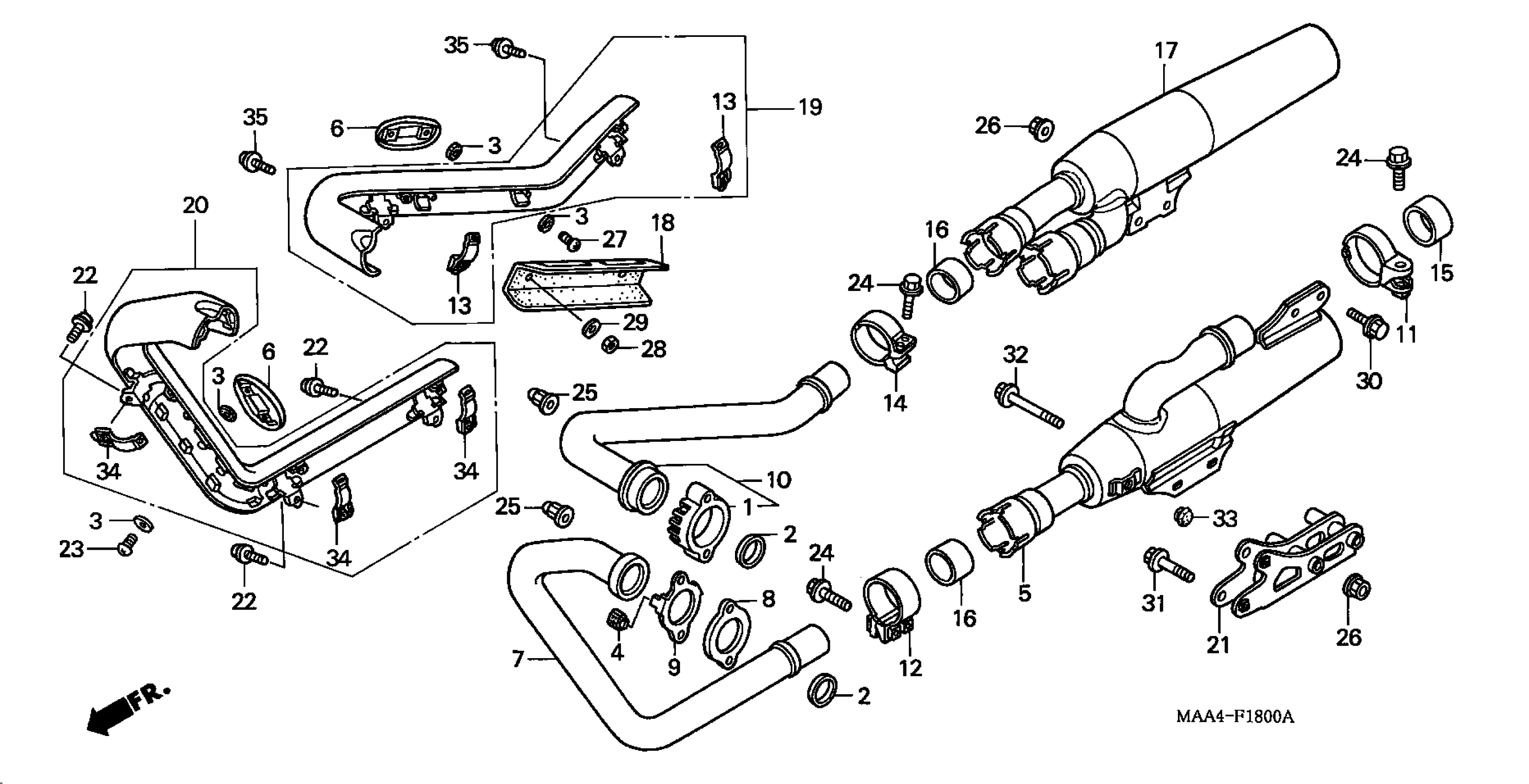
Honda VT1100CA (05) SHADOW SPIRIT, USA, VIN# 1HFSC180-5A900001 MUFFLER Diagram
#
Description
Price
1
JOINT, EX. PIPE
18231-MG8-000
Unavailable
5
MUFFLER (LOWER)
18310-MAA-A01
Unavailable
6
SUB-COVER, EX. PIPE
18315-MAA-A00
Unavailable
7
PIPE, FR. EX.
18320-MAA-A01
Unavailable
9
HOLDER, FR. EX. PIPE COVER
18326-MAH-000
Unavailable
10
PIPE, RR. EX.
18370-MAA-A01
Unavailable
13
BAND, EX. MUFFLER
18376-MAA-A01
Unavailable
14
BAND B, MUFFLER
18377-MAA-A01
Unavailable
17
MUFFLER (UPPER)
18410-MAA-A01
Unavailable
19
COVER, RR. EX.PIPE
18418-MAA-A03
Unavailable
20
COVER A, FR. EX. PIPE
18421-MAA-A01
Unavailable
