- Partiron
- OEM Parts
- Honda
- MOTORCYCLE
- 2000
- VT1100C3A (00) SHADOW AERO, USA, VIN# 1HFSC390-YA200001
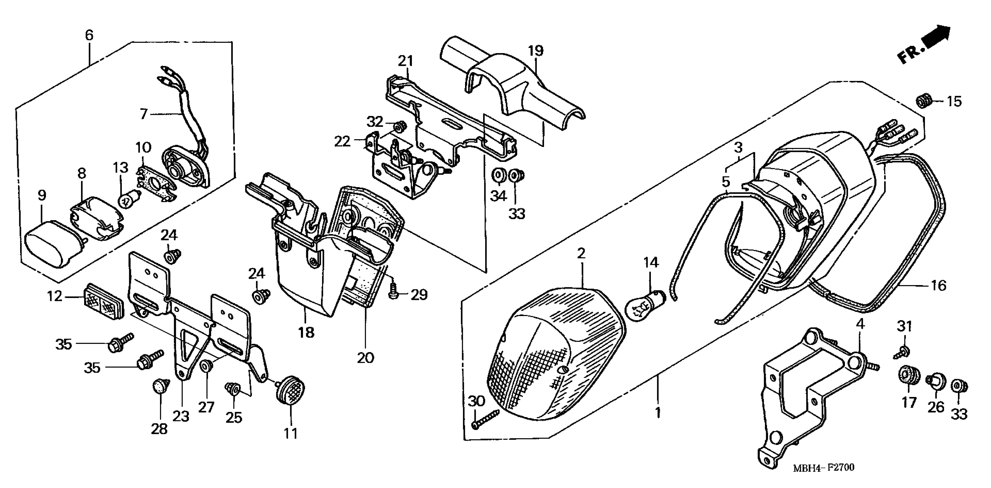
TAILLIGHT
Honda VT1100C3A (00) SHADOW AERO, USA, VIN# 1HFSC390-YA200001 TAILLIGHT Diagram
#
Description
Price
1
TAILLIGHT ASSY.
33701-MBH-671
Unavailable
3
BASE, TAILLIGHT
33704-MBH-671
Unavailable
7
BASE, LICENSE
33721-MZ0-003
Unavailable
16
RUBBER, TAILLIGHT
64121-MBH-000
Unavailable
23
BRACKET, NUMBER PLATE
84701-MBH-000
Unavailable
