- Partiron
- OEM Parts
- Honda
- MOTORCYCLE
- 2007
- VT1100C2AC (07) SHADOW SABRE, USA, VIN# 1HFSC431-7A700001
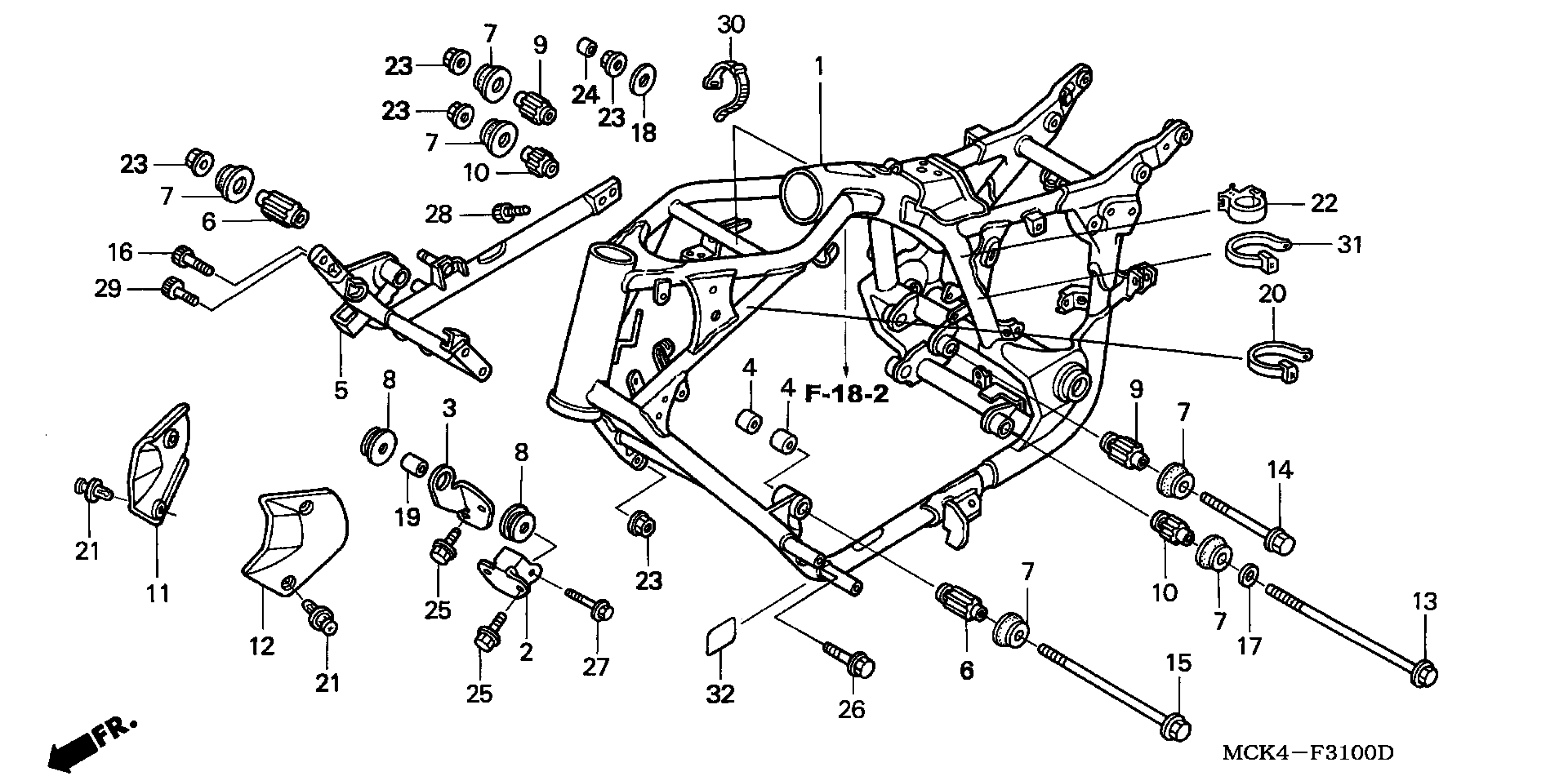
FRAME
Honda VT1100C2AC (07) SHADOW SABRE, USA, VIN# 1HFSC431-7A700001 FRAME Diagram
#
Description
Price
11
COVER, R. FR. SIDE
63500-MAH-000
Unavailable
