Partiron

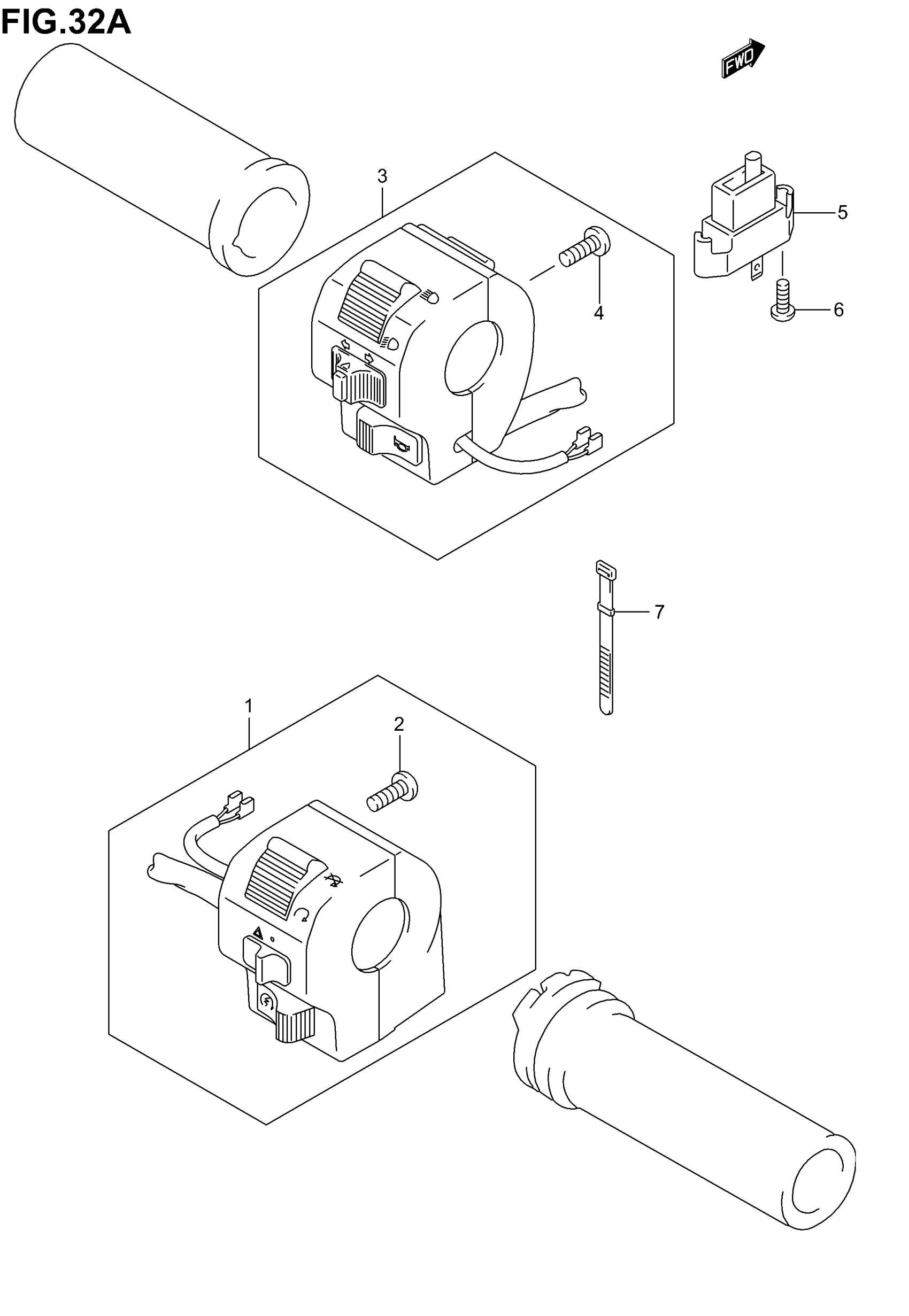
Suzuki VS800GL (2005) HANDLE SWITCH (MODEL K4) Diagram

#

Description
Price

1

SWITCH ASSY, HANDLE RH | Includes Item(s) 2

37200-38AF0

Unavailable

2

SCREW

02112-05167

$1.97

3

SWITCH ASSY, HANDLE LH | Includes Item(s) 4

37400-38AF0

$340.33

4

SCREW

02112-05167

$1.97

5

SWITCH ASSY, CLUTCH

37560-38A00

$18.50

6

SCREW

02142-03127

$1.93

7

CLAMP, HANDLE SWITCH

09407-14401

$3.77