- Partiron
- OEM Parts
- Suzuki
- Motorcycle
- 2005
- VS800GL (2005)
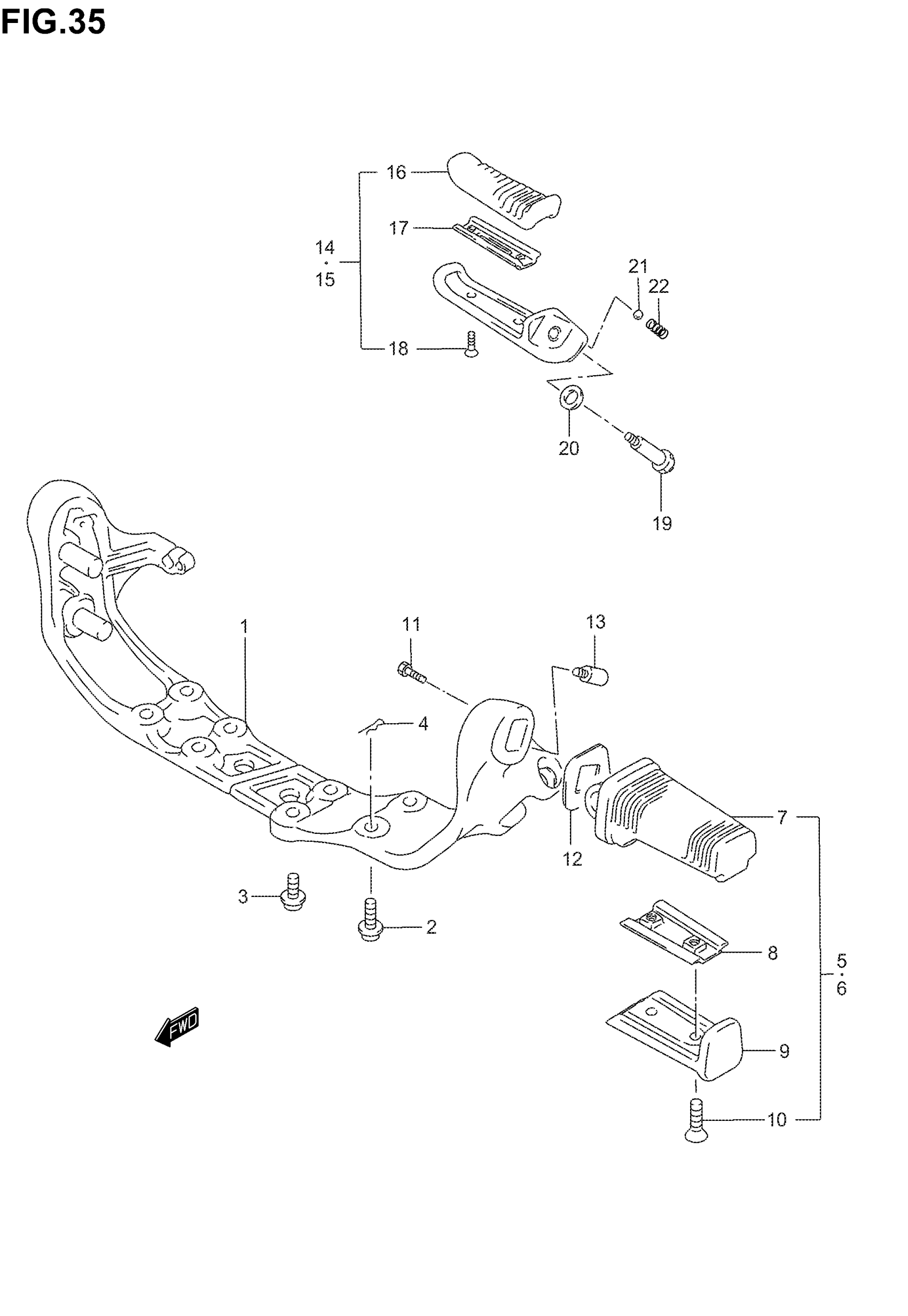
FOOTREST
Suzuki VS800GL (2005) FOOTREST Diagram
#
Description
Price
1
BRACKET, FRONT FOOTREST
43510-38E01
Unavailable
FOOTREST
#
1
43510-38E01
Unavailable
Edit ride
