- Partiron
- OEM Parts
- Kawasaki
- motorcycle
- 2003
- Voyager XII
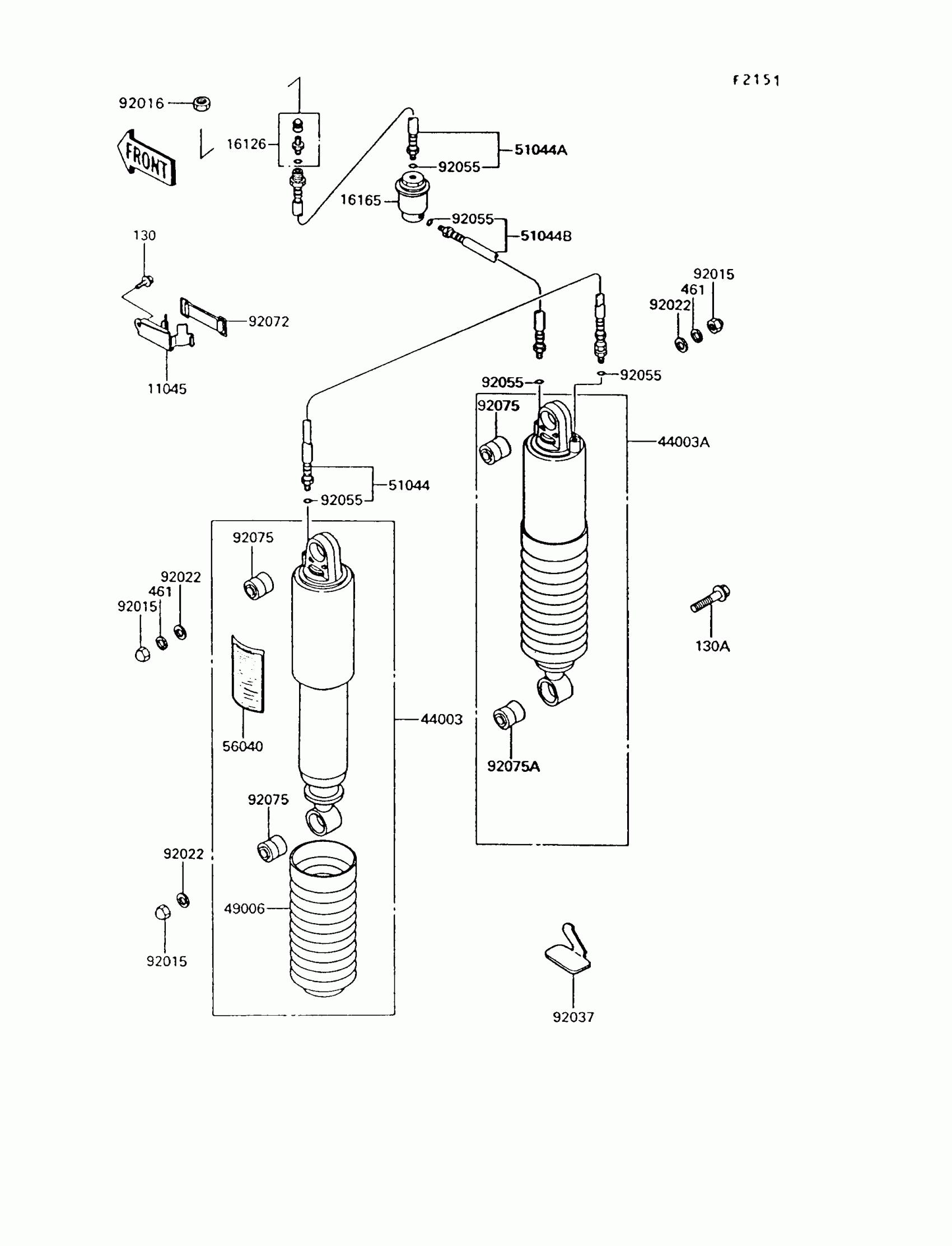
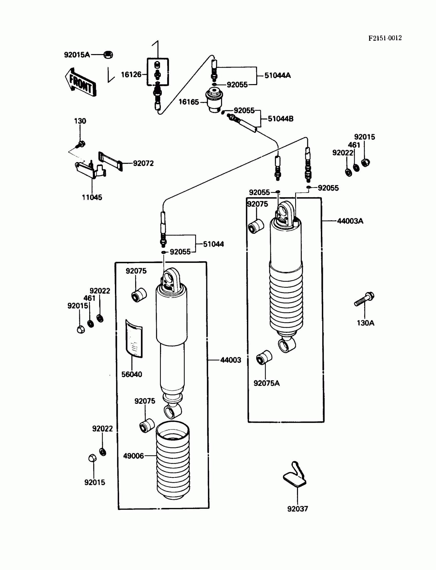
Suspension/Shock Absorber
Kawasaki Voyager XII Suspension/Shock Absorber Diagram
#
Description
Price
56040
LABEL-WARNING
56040-1030
Unavailable
